
癌症免疫疗法给癌症治疗带来了新的变革,目前,处于免疫疗法发展前沿的是免疫检查点抑制剂,已获得临床批准。尽管有缓解异常现象,但大多数癌症患者要么对免疫检查点封锁(ICB)没有反应,要么会对这种治疗方式产生耐药性。因此,需要免疫调节策略来破坏这种无反应性的运作机制。
近期Immunity杂志发表文章显示,PD1-IL2v联合抗PD-L1疗法可打破肿瘤免疫抵抗。据药融云数据库,目前已有罗氏、信达生物等药企布局多款PD1-IL2v药物。
尽管早前BMS和Nektar偏向性IL-2药物NKTR-214的临床接连失败为IL2药物的开发蒙上了一次阴影,但IL-2靶点依然再度引起大家关注,相关开发如火如荼。作为第一个有效的人类癌症免疫疗法,IL-2类药物重返热门赛道,乘风破浪中。
一、1+1>2,“组CP”成癌症免疫疗法常态
PD-1(programmed cell death protein 1)是程序性死亡受体1,是活化的T细胞表达的免疫检查点受体,是一种重要的免疫抑制分子。PD-L1则是PD-1的配体,PD-L1与免疫系统的抑制有关,可以传导抑制性的信号。肿瘤细胞也可以表达PD-L1,PD-1和PD-L1一旦结合便会向T细胞传递负向调控信号,导致T细胞无法识别癌细胞,肿瘤细胞从而实现“免疫逃逸”。
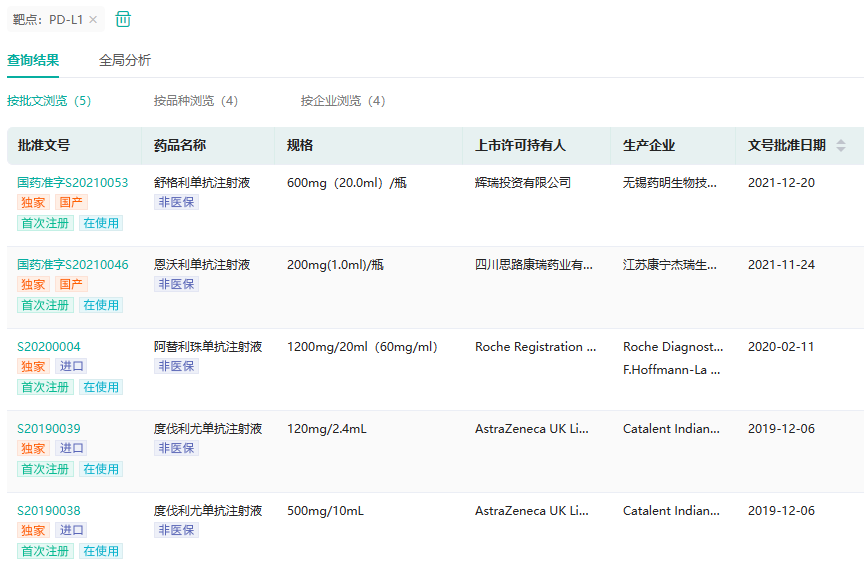
目前,国内共有4款PD-L1抑制剂获批上市。分别为阿斯利康的度伐利尤单抗(商品名:英飞凡)、罗氏的阿替利珠单抗(商品名:泰圣奇)、康宁杰瑞的恩沃利单抗(商品名:恩维达)和辉瑞的舒格利单抗(商品名:择捷美)。其中,2022年度伐利尤单抗全球销售额近13亿美元,阿替利珠单抗全球销售额为38.96亿美元(《2022年PD-L1新药受理数量增至76个!超越EGFR成为热门靶点TOP1!》)。
据药融云数据库统计,自第一款PD-L1靶向的癌症免疫疗法获批上市以来,国内市场便快速扩容,2021年院内销售额便已突破3亿元,2022年前三季度销售近4亿元,同比增长80%。

截图来源:药融云中国药品批文数据库
尽管癌症免疫疗法是目前重要治疗手段,但耐药后的患者依然面临「无药可用」的绝境,无法挣脱化疗成了最大的弊端。为此,临床上常会进行药物联用来减少耐药性。如免疫治疗双子星O+Y(纳武利尤单抗+伊匹木单抗)通过PD1单抗+CTLA4单抗的叠加增敏,增强了免疫治疗的杀伤力,从2015年起至今,O+Y的双免疫组合已经拿下了多个适应症。
此外还有可乐CP(PD-1单抗帕博利珠单抗+仑伐替尼)、T+A组合(阿替利珠单抗泰圣奇+贝伐珠单抗安维汀)、双艾组合(卡瑞利珠单抗艾瑞卡+阿帕替尼艾坦)、双达组合(信迪利单抗注射液+贝伐珠单抗)等抗癌CP,通过药物联用,发挥了更强的抗癌作用。
二、“初代疗法”重返战场,携手PD-1,帮助PD-L1药物攻克耐药性
针对PD-L1药物的联用也是业内研究的方向之一。今年1月,来自瑞士ISREC的Douglas Hanahan研究团队在Immunity杂志上发表了最新研究,文章名称为《双特异性PD1-IL2v和抗PD-L1通过增强干细胞样肿瘤反应性CD8+Tcells和重编程巨噬细胞来打破肿瘤免疫抵抗》。
文章指出,PD1-IL2v和anti-PD-L1联合治疗具有互补协同作用,PD1-IL2v负责促进预存的stem-like 肿瘤反应性的CD8T细胞扩增,促进肿瘤消退,而anti-PD-L1则负责重编程那些在癌症免疫疗法过程中表现为抗炎表型的TAMs和肿瘤血管上皮细胞,使它们转变为促炎表型,为CD8T细胞的激活提供促炎的免疫环境,二者协同作用能够产生更持久的治疗效果。

https://doi.org/10.1016/j.immuni.2022.12.006

这项工作表明PD1-IL2v与抗PD-L1能够在抗肿瘤免疫中发挥协同作用,增强肿瘤抗原特异性CD8+ T细胞的浸润程度。RT5胰岛细胞瘤和神经胶质瘤移植肿瘤模型中获得的数据支持将PD1-IL2v联合抗PD-L1用于临床试验。
类似的研究并非首次开展。
2021年,罗氏汇报了PD-1抗体/IL-2突变体融合蛋白与PD-L1的协同作用,并可以克服免疫检验点耐受。
2022年9月28日,罗氏在Nature上发表了题为“PD-1-cis IL-2R agonism yields better effectors from stem-like CD8+ T cells”的研究。该研究在多种肿瘤体内药效模型中,均证实了与PD-1抗体和非PD-1靶向IL2v单独治疗以及联合治疗相比,PD1-IL2v抑制肿瘤生长的能力更强,具有更好的生存益处,并显著扩大了抗原特异性PD-1+TCF-1+干细胞样T细胞的数量。
三、PD1与IL2v组CP:罗氏$2.5亿收购,信达生物携2品种入场
IL-2是最早靶向的癌症免疫疗法之一,它能够促进活化的免疫细胞、免疫记忆细胞和免疫耐受的产生。但是如果IL-2过度刺激免疫细胞,可能会导致效应T细胞与调节性T细胞(Treg,免疫抑制性)的比例发生失衡。
而随着新的研究发现,有更多药企加码这一靶点,尽管BMS和Nektar偏向性IL-2药物NKTR-214的临床接连失败为该类药物的开发蒙上了一次阴影,但IL-2靶点依然再度引起大家关注。
2022年6月,CDE官网显示,信达生物的PD-1/IL-2抗体融合蛋白获得临床试验默示许可,拟开发适应症为晚期肿瘤。根据信达生物公开资料,IBI363是将突变IL-2细胞因子与抗PD-1抗体融合,它的作用机制为将IL-2通路刺激与PD-1免疫检查点阻断相结合,从而治疗恶性肿瘤。

次月,信达生物便启动IBI363的Ia/Ib期研究(登记号:CTR20221683),以评估IBI363治疗晚期实体瘤或淋巴瘤受试者安全性、耐受性和初步有效性,拟纳入260例患者。此外,信达生物还有一款PD-1/IL2v/IL21v细胞因子融合蛋白癌症免疫疗法——IBI-395,目前还在临床前研究中,预计在2023年度启动海外临床试验。
IBI363临床时间轴

截图来源:药融云中国临床试验数据库
2022年9月初,罗氏以2.5亿收购Good Therapeutics公司,并获得该公司的条件性活化、由PD-1调节的IL-2项目,以及通过公司平台技术开发PD-1调节的IL-2受体激动剂疗法的专属权利。

与罗氏的PD-IL2v不同,信达生物IBI363的 IL-2经过改造后保留了CD25活性,以最大化疗效和高选择性,同时减少对βγ结合以降低系统毒性。两款药物各有特色,期待后续临床研究顺利进行,早日为更多患者带来创新的癌症免疫疗法方案。
参考来源:
[1] 药融云数据库
[2] Nature子刊
[3] Immunity杂志
[4] 相关公司公开披露
想要解锁更多药物研发信息吗?查询药融云数据库(vip.pharnexcloud.com/?zmt-mhwz)掌握药物基本信息、市场竞争格局、销售情况与各维度分析、药企研发进展、申报审批情况、最新市场动态、市场规模与前景等,以及帮助企业抉择可否投入时提供数据参考!注册立享15天免费试用!

<END>







浙公网安备33011002015279
本网站未发布麻醉药品、精神药品、医疗用毒性药品、放射性药品、戒毒药品和医疗机构制剂的产品信息
收藏
登录后参与评论
暂无评论