
6月2日,NMPA发布最新一批药品批准证明文件待领取信息,其中,齐鲁制药的4类仿制药地夸磷索钠滴眼液获批上市,斩获该暴涨661%干眼症治疗药物国产第2家获批!不久前,恒瑞医药子公司成都盛迪医药刚刚斩获该品种首仿。


截图来源:NMPA官网
地夸磷索钠是一种 P2Y2 受体激动剂,其作用于结膜上皮及杯状细胞膜上的 P2Y2 受体,通过上调细胞内的钙离子浓度,促进水分及黏蛋白的分泌,进而改善干眼病症状。地夸磷索钠最早于2010年12月在日本上市,用于干眼症的治疗,原研为参天制药,由其获Inspire制药公司 (默克子公司) 授权后开发。地夸磷索钠滴眼液商品名为Diquas,规格为3%,每次1滴,一日6次。
参天制药的地夸磷索钠滴眼液于2017年10月获批进口进入中国,国内商品名为丽爱思。2021年,该干眼症治疗药物在全国医院销售额近7千万元,同比增长661%,发展迅猛。
地夸磷索钠滴眼液近年院内销售情况

截图来源:药融云全国医院销售数据库(新版)
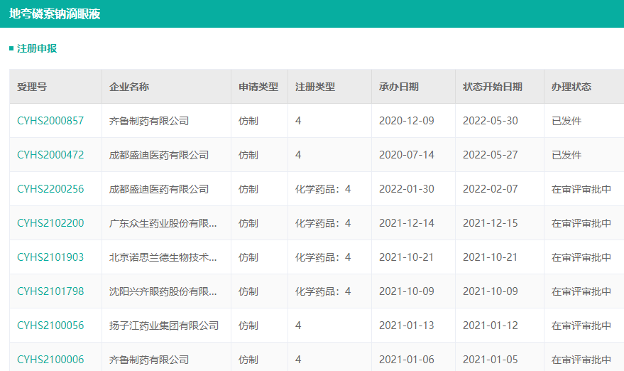
此前,地夸磷索钠滴眼液国内只有参天制药获批上市,为其独家产品。恒瑞医药、齐鲁制药、广东众生药业、北京诺思兰德/北京汇恩兰德制药、沈阳兴齐眼药和扬子江等企业陆续报产该品种仿制药,其中,恒瑞医药于5月底获批生产该品种,斩获国内地夸磷索钠滴眼液首仿+首家过评——《恒瑞医药仿制药丰收!一周3大品种过评,拿下大涨661%滴眼液首仿》,待原研专利到期后即可正式上市。
此次齐鲁制药获批,为获批生产地夸磷索钠滴眼液的第二家本土企业。其他企业的上市申请尚在审批审批中,未来还将有更多的地夸磷索钠滴眼液仿制药陆续获批,加入市场竞争。
地夸磷索钠滴眼液注册申报情况

截图来源:药融云一致性评价数据库
想要解锁更多药企仿制药过评信息吗?查询药融云数据库(https://www.pharnexcloud.com/?zmt-mhwz)掌握药企仿制药申报情况、审批信息、最新进展、一致性评价、市场竞争格局、销售情况,市场规模与前景,可否投入!注册立享15天免费试用和虎年首份医药数据大礼包!

—END—







川公网安备51019002008863号
本网站未发布麻醉药品、精神药品、医疗用毒性药品、放射性药品、戒毒药品和医疗机构制剂的产品信息
收藏
登录后参与评论
暂无评论