
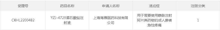
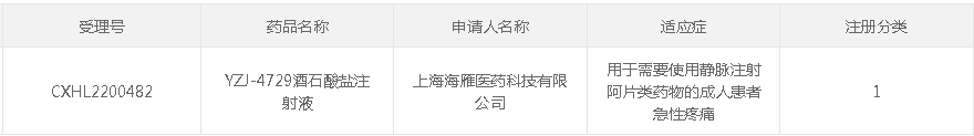
据CDE官网,近日扬子江药业集团全资子公司上海海雁医药科技有限公司(以下称上海海雁医药)的1类新药YZJ-4729酒石酸盐注射液在国内获批NMPA临床默示许可。该μ-阿片受体激动剂针对多种疼痛,可用于治疗中度及重度疼痛、治疗胆囊切除术后的疼痛以及腹部手术后疼痛。

截图来源:CDE官网
据药融云统计,扬子江药业公司该药递交的临床申请于2022年7月5日被药审中心承办,至此次获批临床,总共用时70天。
YZJ-4729酒石酸盐注射液审评时间轴(微信搜索"药融云小程序"进行相关更多数据查询)

截图来源:药融云中国药品审评数据库
YZJ-4729酒石酸盐注射液是上海海雁医药研发的一种靶向μ-阿片受体(MOR)的小分子药物,可激活MOR受体。据公开资料显示,阿片类药物是治疗中重度急慢性疼痛最常用的药物之一,其中经典的μ-阿片受体(MOR)激动剂包括吗啡、芬太尼等,是阿片类药物中镇痛作用较强的一类,可以同时激活G蛋白偶联通路和β-arrestin2信号通路。
其中G蛋白通路主要发挥镇痛作用,而β-arrestin通路则可能与胃肠功能紊乱、呼吸抑制、耐受等副作用有关。YZJ-4729是一款G-蛋白偏向性μ阿片受体(MOR)激动剂,可选择性激活G蛋白通路发挥强效镇痛作用,同时避免激活β-arresti-2通路以减轻呼吸抑制和胃肠功能障碍等阿片类药物不良反应。
体外试验显示,YZJ-4729较美国已上市的TRV130有更高的偏向性——即对β-arresti-2的募集作用明显弱于TRV130。同时药代属性和血脑屏障透过性更好,对其他阿片受体的选择性也更好。
体内在不同动物疼痛模型中均表现出剂量依赖性的强效镇痛作用,关键的呼吸抑制和便秘副反应都远远弱于吗啡,且明显好于TRV130。没有明显的心血管系统、呼吸系统、中枢神经系统毒性,动物耐受剂量高、制剂安全性良好,有望成为治疗中、重度疼痛和术后痛的新型阿片类药物——偏向性μ-阿片受体激动剂的同类最佳。
据查询,目前国内暂无镇痛作用良好、不良反应发生率低的μ-阿片受体激动剂上市,临床需求尚未被满足。若后续扬子江药业公司的YZJ-4729酒石酸盐注射液上市,将有助于解决这一临床未满足需求。
国际疼痛学会(IASP)对疼痛的定义是:是一种不愉快的感觉和情绪上的感受,伴随着现在的或潜在的组织损伤。据了解,某些类型的疼痛虽然与组织损伤无关,但也会涉及神经系统功能障碍。一些疼痛可能对人的社会和心理健康均产生不利影响。上海海雁医药表示,将快速推进YZJ-4729酒石酸盐注射液的临床I期试验,以期早日上市,为疼痛患者就医治疗带来更多更好的治疗选择。

上海海雁医药科技有限公司,成立于2011年5月,位于上海张江科技园区,是扬子江药业集团全资子公司和小分子创新药研发中心。公司专注于Ⅰ类创新药的研发,致力于治疗各种重大疾病尤其是神经系统和肿瘤相关疾病的小分子药物研究。
上海海雁医药在研化学1类创新药物20余项,平均每年有2~3个化合物进入临床阶段。目前,共有8个新药获得临床批件,2个项目进入临床Ⅲ期,药物覆盖精神安定类、免疫抑制剂、抗肿瘤药、镇痛剂等品类。
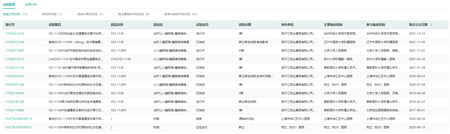
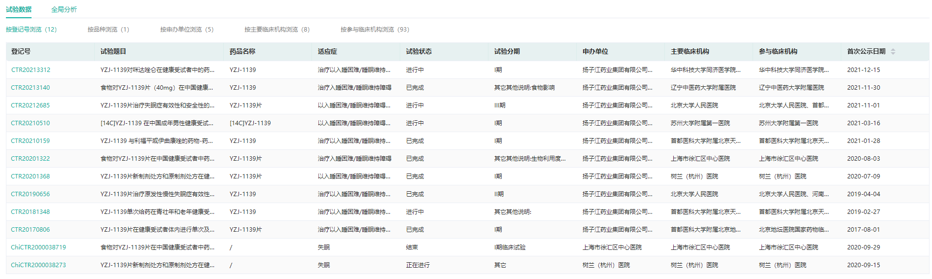
其中,食欲素 1 型和 2 型双重受体(OX1R and OX2R)的高效拮抗剂YZJ-1139进展最快,是国内首个完成临床Ⅱ期的食欲素受体拮抗剂。据药融云数据库显示,目前该药已进入Ⅲ期临床试验阶段,适应症为以入睡困难/睡眠维持障碍为特征的失眠症。
YZJ-1139临床试验情况

截图来源:药融云中国临床试验数据库
据悉,当前许多获批的药物(包括苯二氮䓬类药物、daridorexant、suvorexant、曲唑酮)均能有效应用于失眠的急性治疗,但由于疗效和安全性问题,在失眠症治疗领域仍然存在着显著的未被满足的临床需求。YZJ-1139片具有快速吸收,快速起效,睡眠潜伏期短,及早诱导进入睡眠状态,没有药物蓄积残留,次日残留效应弱等优势,若能顺利获批,将为失眠症患者带来新的治疗选择。
参考来源:
[1] NMPA官网
[2] 扬子江药业公开披露
[2] 药融云数据库
想要解锁更多药企创新药信息吗?查询药融云数据库(vip.pharnexcloud.com/?zmt-mhwz)掌握药企创新药产品布局、基本信息、研发阶段、最新进展、申报获批情况、临床试验信息、销售情况与市场前景,可否投入研发!注册立享15天免费试用和虎年首份医药数据大礼包!

—END—







川公网安备51019002008863号
本网站未发布麻醉药品、精神药品、医疗用毒性药品、放射性药品、戒毒药品和医疗机构制剂的产品信息
收藏
登录后参与评论
暂无评论