
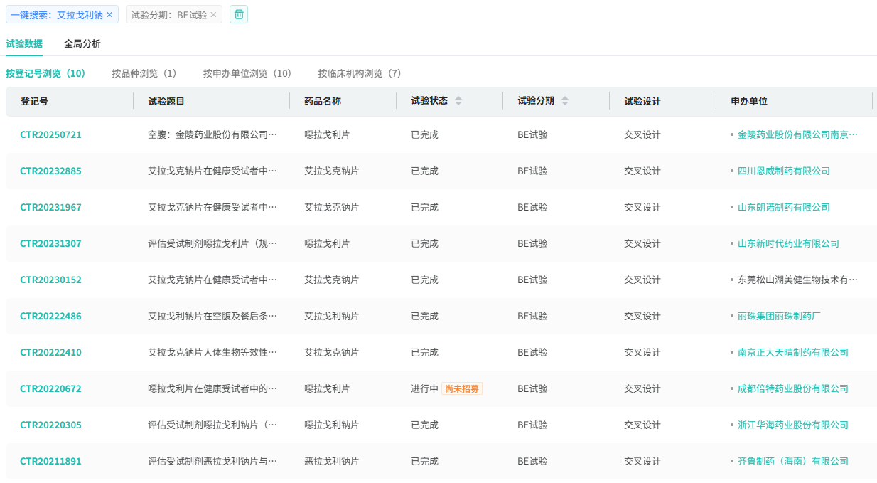
8月9日,CDE官网显示,南京正大天晴制药有限公司按3类化药注册申报的艾拉戈克钠片上市申请已获受理。该药品原研药尚未在我国获批,目前为国内空白品种,若顺利获批,有望拿下首仿!

截图来源:CDE官网
艾拉戈克钠片(Elagolix)是一种促性腺激素释放激素(GnRH)受体拮抗剂,广泛应用于中度至重度子宫内膜异位症引起的疼痛患者的治疗。

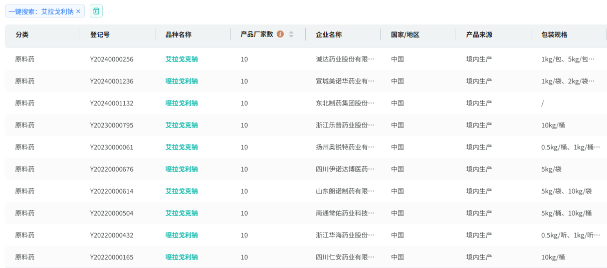
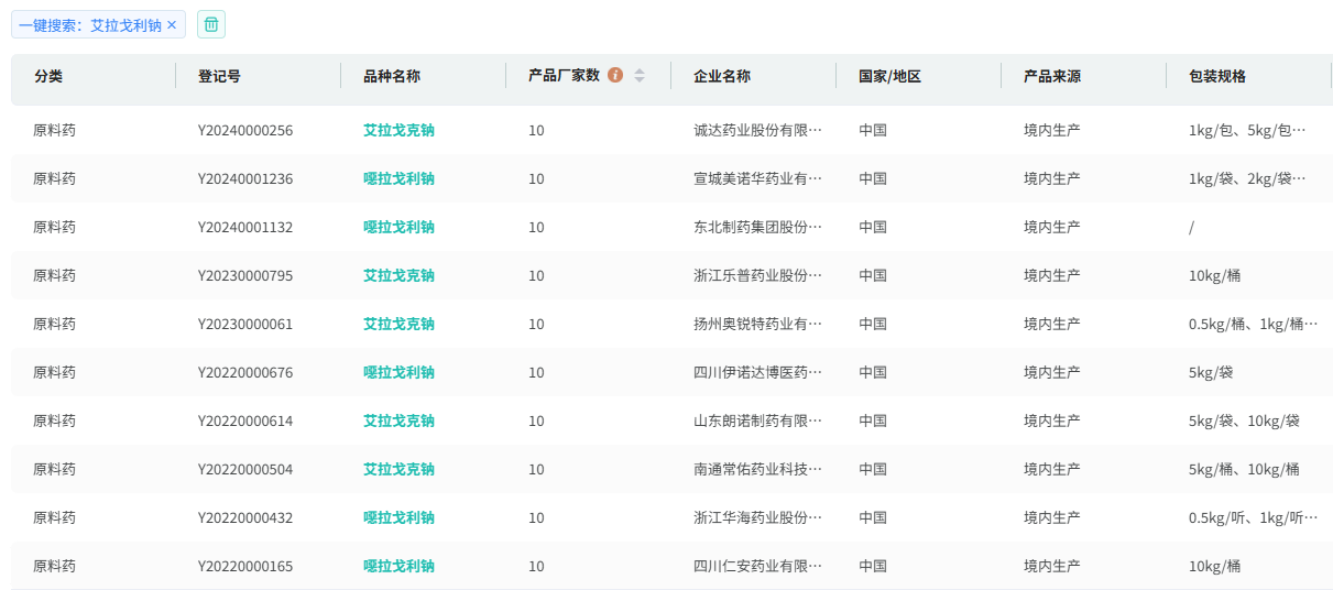
截图来源:摩熵医药全球药物研发数据库
该药物由美国艾伯维(AbbVie)公司和Neruocrine Biosciences共同研发,商品名为Orilissa,2018年7月获FDA 批准,用于治疗与子宫内膜异位症相关的中度至重度疼痛,是十年来首个获批用于该适应症的口服疗法。
据摩熵医药数据库显示,Orilissa的销售额呈逐年增长态势,2021年全球销售额达1.45亿美元,增长率为16%,市场潜力不容小觑。

截图来源:摩熵医药全球药物研发数据库
子宫内膜异位症是一种慢性、雌激素依赖性的炎症性疾病,其特征是子宫外植入子宫内膜样组织,影响6%至10%的育龄妇女。公开资料显示,全球有多达1.76亿名女性遭受子宫内膜异位症的困扰。

截图来源:摩熵医药流行病学数据库
截至2021年,我国子宫内膜异位症患病人数达289.42万,患者基数颇为庞大。
在我国院内市场,艾拉戈克钠片所属的全身用激素类制剂类规模颇为可观,近年市场份额约为214亿元。2024年,该大类市场份额出现下滑,同比降幅为11.57%,规模缩减至190亿元。












浙公网安备33011002015279
本网站未发布麻醉药品、精神药品、医疗用毒性药品、放射性药品、戒毒药品和医疗机构制剂的产品信息
收藏
登录后参与评论
暂无评论