
近日,TheracosBio制药公司宣布FDA已批准其口服钠-葡萄糖协同转运蛋白2(SGLT2)抑制剂Bexagliflozin(商品名:Brenzavvy,贝沙格列净)用于改善成人2型糖尿病患者的血糖控制,作为饮食和运动外的辅助疗法。
Brenzavvy获批上市信息查询

图片来源:药融云美国FDA批准药品数据库
bexagliflozin获批以一天一次的20mg剂量使用于2型糖尿病患者,但不能用于1型糖尿病患者或糖尿病酮症酸中毒的治疗,以及对bexagliflozin过敏的患者,不适用于终末期肾病患者或正在接受透析的患者的2型糖尿病治疗。
这项批准基于一项包含23项临床试验的研究项目,共纳入5000多名成年2型糖尿病患者参与者以评估Bexagliflozin的安全性和有效性。
➤降糖疗效:治疗24周后,与安慰剂相比,接受Bexagliflozin治疗可显著降低HbA1c和空腹血糖。Bexagliflozin的降糖疗效不逊于格列美脲(滴定至最大剂量6毫克)和西格列汀(100毫克),每日一次。
➤减重、降压:临床研究中观察到Bexagliflozin组体重和收缩压的适度降低,但Bexagliflozin未被批准用于减重或降低血压。
➤心血管相关:在降低MACE事件(心血管死亡、非致命性心肌梗死、非致命性卒中和不稳定型心绞痛需住院治疗)方面,并未发现Bexagliflozin优于安慰剂。
SGLT2抑制剂作为新型降糖药物,可以通过抑制肾小管上皮细胞SGLT2,导致机体热量消耗增加,减轻液体潴留并增加尿糖排出。SGLT2抑制剂与其他药物相比有明显的优势:(1)它们可以降低餐前和餐后血糖的水平(并不是所有药物能同时降低两者);(2)由于它们并非刺激胰岛素分泌,所有使用者的低血糖风险比较低;(3)由于其对肾小管的主要作用,产生利尿效果,从而降低了收缩压;(4)有研究发现,SGLT2抑制剂对糖尿病肾病有治疗作用。
总之,SGLT2抑制剂兼具降糖、减重、降压等作用,更有明确的心血管保护作用和肾脏保护作用。糖尿病市场一直都是“兵家”必争之地,据药融云数据库显示,仅国内城市的实体药店2021年糖尿病药物销售额就超100亿元。
目前,越来越多的公司加入到SGLT2抑制剂的研发当中。药融云数据统计,目前全球已有11款SGLT2抑制剂获批上市(不包括复方),生产企业涉及阿斯利康、辉瑞/默沙东、勃林格殷格翰、礼来、田边三菱制药/强生、恒瑞医药等。
获批治疗2型糖尿病的SGLT2抑制剂(部分)

图片来源:药融云全球药物研发数据库
国内也已上市多个SGLT2抑制剂,包括恩格列净(勃林格殷格翰/礼来)、卡格列净(强生)、达格列净(阿斯利康)、艾托格列净(默沙东/辉瑞)等,以进口为主,但卡格列净和恩格列净、达格列净已有仿制药上市。
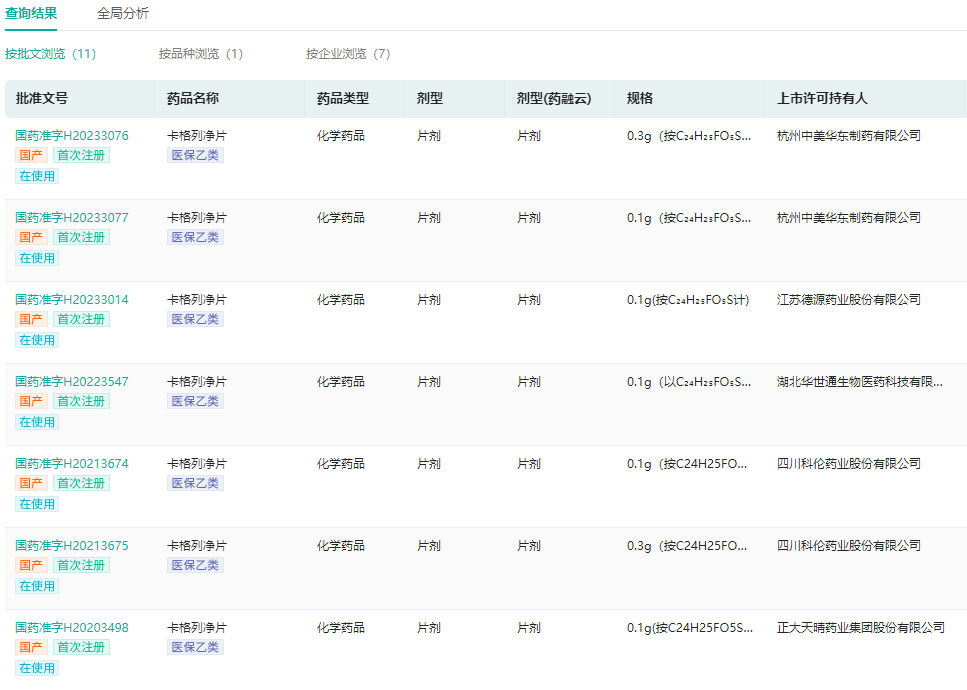
据药融云中国药品批文数据库统计,目前国产卡格列净的生产企业有6家,分别是正大天晴、科伦药业、中美华东、德源药业、华世通生物、恒邦药业;国产恩格列净的生产企业有6家,国产达格列净生产企业有2家,还涉及奥赛康药业、万邦生化医药、豪森药业、鲁抗医药、福元医药等企业。
查询国产卡格列净生产批文信息(部分)

图片来源:药融云中国药品批文数据库
据研究统计,全世界有1/10的成年人患有糖尿病,总数约5.37亿人。我国是全球糖尿病第一大国,截至2021年,20~79岁的糖尿病患者约1.41亿人。
其中,中国人的2型糖尿病发病率非常高,患病率居全球首位。常见于肥胖的患者,尤其是高热量饮食、大鱼大肉、吃的比较多、生活节奏比较快、活动量比较小的人特别容易发生,也经常合并心脑血管病、肾病、眼底病变、糖尿病足等,糖尿病并发症非常多,危害大。
随着人口老龄化加剧、生活压力、生活习惯等因素的影响,患该类疾病风险的人群数量正在增加,进一步刺激糖尿病用药需求激增,未来糖尿病用药市场空间巨大。目前已有诸多传统和新型T2D药物可用,但仍需要成本效益高的疗法来提高疾病控制率,这为新药开发者提供了机会。
想要解锁更多药物靶点信息吗?查询药融云数据库(vip.pharnexcloud.com/?zmt-mhwz)掌握各药物靶点药物基本信息、上市药物情况、销售情况与各维度分析、药企药物研发进展、市场规模与前景等,以及帮助企业抉择可否投入时提供数据参考!!注册立享15天免费试用!

<END>







川公网安备51019002008863号
本网站未发布麻醉药品、精神药品、医疗用毒性药品、放射性药品、戒毒药品和医疗机构制剂的产品信息
收藏
登录后参与评论
暂无评论