又到了一年一度的财报季。时间来到4月,越来越多的A股上市公司披露其2022年年报。截至4月3日,已有125家A股医药生物公司发布了2022年年度报告。
数据显示,125家A股医药生物企业中,111家公司实现盈利,占比近九成;22家营收规模突破百亿元;六成公司实现营收、归母净利润双增;归母净利润超过10亿元的有22家,其中像药明康德、云南白药、复星医药、白云山、华润三九等企业净利润超过20亿元。
一、22家公司营收超百亿元!上海医药、白云山、南京医药位居前三
据上述125家医药生物公司的年报数据显示,其中2022年营收超百亿元的有22家。其中,上海医药、白云山、南京医药营收规模位居前三,分别为2319.81亿元、707.88亿元、502.22亿元;同时,98家公司去年实现营收同比增长,其中实现营收、归母净利润双增的共计75家,占比60%。
上海医药2022年实现营业收入2319.81亿元,同比增长7.49%;归属于上市公司股东的净利润达56.17亿元,同比增长10.28%。同时,研发投入高达28.00亿元,同比增长11.87%。
上海医药研发管线进度查询(部分,完整内容欢迎登陆“药融云www.pharnexcloud.com/?zmt-mhwz”数据库查看)

图片来源:药融云全球药物研发数据库
药融云全球药物研发数据库显示,目前上海医药有2款创新药处于申报上市阶段,分别是信诺拉生酯(X-842)、赛立奇单抗(GR-1501),5款创新药处于临床III期阶段,处于II期临床阶段的也有8款,包括7款创新药1款生物类似药。临床申请获得受理及进入临床研究阶段的创新药管线,主要涉及肿瘤、免疫调节、感染、心血管系统、神经系统等治疗领域。
上海医药主营业务覆盖医药工业与医药商业,涵盖生物药、化药、中药及保健品、罕见病药及儿童用药、分销、零售等业务领域。其中,医药工业聚焦抗肿瘤、心脑血管、精神神经、抗感染、自身免疫、消化代谢和呼吸系统七大治疗领域,常年生产约700个药品品种,20多种剂型,拥有21个罕见病药品种,涉及34个罕见病病症。
2022年,上海医药顺利引进云南白药为战略投资者,实现强强联手。此时,上海医药、云南白药、天津医药三方携手,将充分发挥各自的业务优势,共同推进新时代中医药事业的发展。
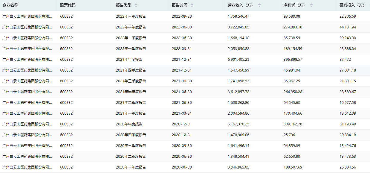
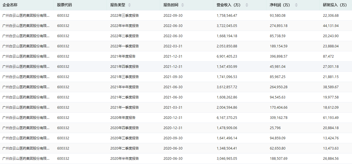
白云山2022年度实现营业收入707.88亿元,同比增长 2.57%,营收规模首次突破700亿大关;归属股东净利润为39.66亿元,同比增长6.63%;研发投入10.65亿元,同比增长21.1%。
白云山历年年报/季报数据查询(部分)

图片来源:药融云上市医药企业年报数据库
白云山的主要收入来源于大商业(医药流通业务)、大健康、大南药(医药制造业务)和大医疗等四大业务板块,其中大南药板块毛利率最高,贡献了近四成利润。大南药板块又可拆分为中成药和化学药两大类,其中,2022年中成药实现营收56.17亿元,同比增长6.59%,占大南药板块收入的比重为53.69%;化学药实现营收48.45亿元,同比下降12.23%,占大南药板块收入的比重为46.31%。
产品方面,白云山在糖尿病、心脑血管、抗菌消炎、清热解毒、肠外营养、止咳镇咳、跌打镇痛、风湿骨痛、妇科及儿童用药、滋补保健等领域形成了齐全的品种系列,拥有独家生产品种超过90个。其中,滋肾育胎丸、小柴胡颗粒、华佗再造丸、注射用头孢呋辛钠和阿咖酚散系列,2022年实现营收同比增速均超过11%。
白云山在研药物治疗领域分布

图片来源:药融云全球药物研发数据库
白云山是南派中药的集大成者,拥有中一药业、陈李济药厂、奇星药业、敬修堂药业、潘高寿药业等12家中华老字号药企,其中10家为百年企业。主要中药产品包括滋肾育胎丸、消渴丸、小柴胡颗粒、脑心清片系列、复方丹参片系列、板蓝根颗粒系列、华佗再造丸、保济系列、夏桑菊颗粒、舒筋健腰丸、小儿七星茶颗粒、安宫牛黄丸、壮腰健肾丸、清开灵系列、蜜炼川贝枇杷膏等,在华南地区乃至全国都拥有明显的中成药品牌及品种优势。
二、39家公司研发投入占比超10%!前沿生物研发投入占比323.73%,暂居榜首
在上述125家A股医药生物企业中,有超九成披露了去年的研发投入金额,合计达到465.16亿元,同比增长近20%。其中,有94家公司研发投入金额较上年增加,占比超七成。39家研发投入总额占营业收入比例(研发投入占比)超过10%,其中化学制剂和其他生物制品企业较多,中药企业相对较少。
就目前披露数据来看,在研发投入占比方面,前沿生物、盟科药业、君实生物暂居前三,分别为323.73%、311.97%和164.04%。
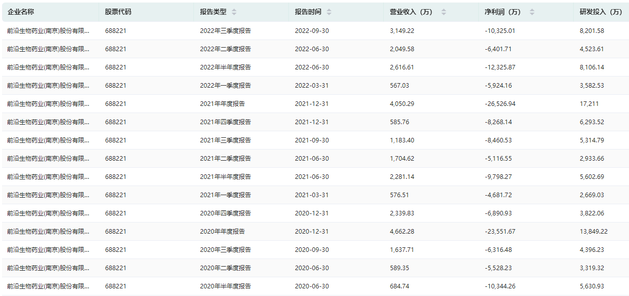
前沿生物2022年实现营收0.85亿元,同比增长109.22%;净利润亏损3.57亿元(2021年为-2.60亿元),同比下滑37.19%;研发投入2.7亿元,同比增长59.39%。
前沿生物历年年报/季报数据查询(部分)

图片来源:药融云上市医药企业年报数据库
前沿生物的艾可宁2022年实现销售收入8474.04万元,同比增长109.22%,在西南、华南等传统优势区域保持销量持续高增长。艾可宁是全球第一个长效HIV-1融合抑制剂,也是中国第一个原创抗艾新药,前沿生物拥有其全球知识产权。
药融云医保目录数据库显示,艾可宁续约进入国家医保目录,在24个省份被纳入医保“双通道”及单独支付药品名录。2022年10月,艾可宁静脉推注给药方式获得批准。目前,艾可宁在厄瓜多尔、柬埔寨、阿塞拜疆、马来西亚等海外国家获得药品上市注册许可。
药融云全球药物研发数据库显示,前沿生物的抗新冠病毒药物FB2001处于III期临床试验阶段;抗HIV病毒药物FB1002联合疗法,维持治疗、多重耐药及免疫疗法三个适应症均处于II期临床阶段;治疗肌肉骨骼关节疼痛药物FB3001,全球最高研发阶段处于II期临床研究。
FB2001全球临床试验信息查询(部分)

图片来源:药融云全球临床试验数据库
君实生物2022年实现营业收入14.53亿元,同比减少63.89%,这是自2019年以来,营业收入首次出现负增长;归属于上市公司股东的净亏损约23.88亿元,同比扩大232.59%;研发投入23.84亿元,同比增长15.26%。其核心产品特瑞普利单抗(商品名:拓益)2022年销售收入7.36亿元,同比增长78.77%。
药融云数据库显示,2022年,特瑞普利单抗在国内新增获批两项大适应症。2022年6月,特瑞普利单抗联合化疗用于食管鳞癌患者的一线治疗获批;同年9月,特瑞普利单抗联合化疗用于非鳞状非小细胞肺癌的一线治疗获批,目前,特瑞普利单抗已获得NMPA批准上市包括转移性食管癌、转移性非小细胞肺癌、鼻咽癌、IV期黑色素瘤等适应症。
特瑞普利单抗适应症研发详情

图片来源:药融云全球药物研发数据库
三、14家公司2022年陷入亏损!研发王百济神州,巨亏136.42亿元
在125家A股医药生物公司中,有14家公司2022年陷入亏损,如前沿生物、迪哲医药、利德曼、舒泰神、莱美药业、天士力、康希诺等。据悉,其亏损原因主要集中在研发投入持续增长致使业绩承压、带量集采政策落地压缩产品利润空间等。
天士力2022年实现营业收入85.93亿,同比增长8.06%;归属于上市公司股东的净利润亏损2.57亿元,同比减少110.87%。其中,中药业务实现营业收入55.57亿元,同比增长9.38%;化学制剂药业务实现营业收入12.7亿元,同比增长1.19%;化学原料药业务实现营业收入7,112.25万元,同比增长5.69%;生物药业务实现营业收入24,763.36万元,同比减少1.49%。
药融云全球药物研发数据库显示,天士力目前有在研项目92个,包括41个1类创新药,其中39个项目已进入临床试验阶段,24个项目已处于临床II、III期研究阶段。中药研发方面,已有18个项目处于临床II、III期研究阶段,其中,安神滴丸、脊痛宁片正在开展III期研究;肠康颗粒、香橘乳癖宁胶囊等项目正处于II期临床研究。化药研发方面,PXT3003已完成III期全部病例入组。
PXT3003全球临床试验阶段分布

图片来源:药融云全球临床试验数据库
值得一提的是,据百济神州2022年业绩快报数据显示,其2022年净利润亏损136.4亿元,同比下滑近40%,目前暂居医药生物行业A股上市公司亏损榜首。百济神州作为A股药企研发王,2022年前三季度研发投入80.17亿元,同比增长22.96%,研发投入占营收比例116.72%,单第三季度研发投入已超过30亿元。
百济神州2022年营业收入95.66亿元,同比增长26.06%;其中,产品销售收入为84.80亿元,同比增长107.3%;从四季度的收入组成来看,泽布替尼占到52%,PD-1占到30%,安进合作产品占8%,BMS合作产品占6%,其他产品占4%;增长主要得益于泽布替尼胶囊和替雷利珠单抗注射液以及安进公司和百奥泰授权产品的销售增长。
想要解锁更多药企信息吗?查询药融云数据库(vip.pharnexcloud.com/?zmt-mhwz)掌握药企公司基本信息、投融资情况、产品管线分布、药物销售情况与各维度分析、药物研发情况、年度报告、最新进展动态、临床试验信息、市场规模与前景等,以及帮助企业抉择可否投入时提供数据参考!注册立享15天免费试用!

<END>








川公网安备51019002008863号
本网站未发布麻醉药品、精神药品、医疗用毒性药品、放射性药品、戒毒药品和医疗机构制剂的产品信息
收藏
登录后参与评论
暂无评论