
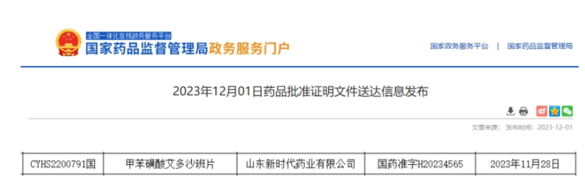
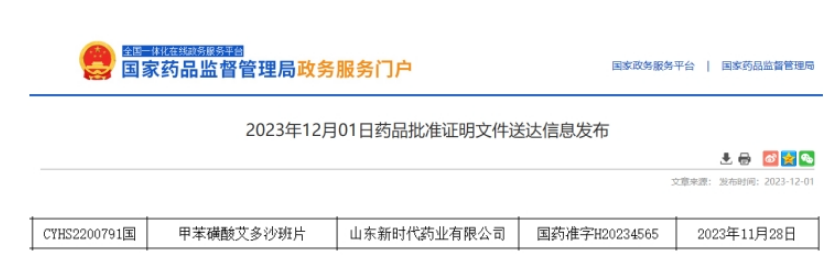
近日,据NMPA官网公示,山东新时代药业的4类仿制化药甲苯磺酸艾多沙班片获批上市视同通过一致性评价。去年9月海南先声药业是国内第一家获批该品种的企业,并夺得首仿。此次山东新时代药业是第2家获批的企业。

截图来源:NMPA官网
艾多沙班原研来自第一三共(Daiichi Sankyo),是一款可直接作用于凝血因子Xa(FXa)的新型抗凝药物。原研药于2018年在中国获批,适用于预防伴有一个或多个风险因素的非瓣膜性房颤患者的卒中和体循环栓塞,以及治疗深静脉血栓和肺栓塞以及预防其复发。
根据CDE 2018年审评报告,该药品与现有治疗手段相比,可降低出血风险,为上述患者提供了更优的治疗选择。2020年,甲苯磺酸艾多沙班片通过医保谈判被纳入全国医保乙类目录,并开始实现快速放量。据药融云统计,甲苯磺酸艾多沙班片在2022年全国院内销售院内销售额突破亿元关卡,同比增长169%。

截图来源:药融云全国医院销售数据库
据药融云数据统计,甲苯磺酸艾多沙班片除原研,目前国内仅2家企业获批生产,2022年9月,先声药业是国内第一家斩获该品种的企业,并夺得首仿。此次,山东新时代药业是获批生产该品种的第2家企业。
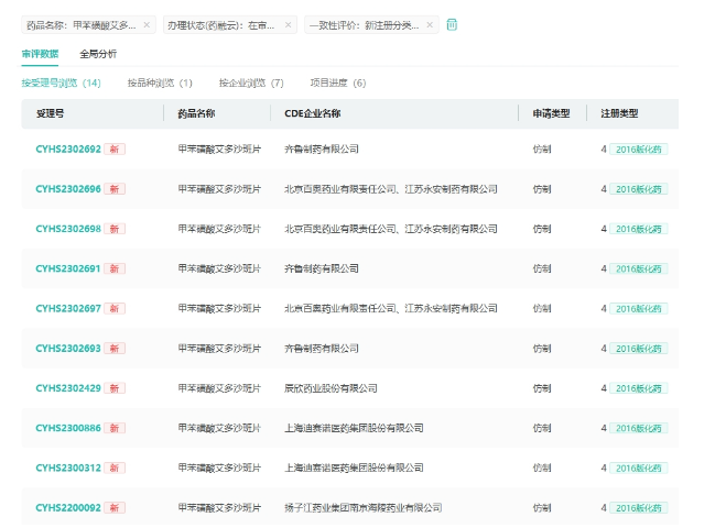
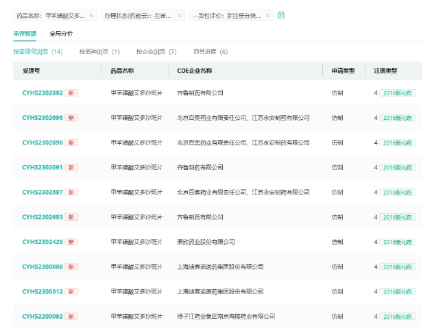
此外,该品种还有南京正大天晴制药、齐鲁制药、扬子江药业、辰欣药业等7家企业提交了4类仿制申请,均在审评审批中。

截图来源:药融云中国药品审评数据库
截至目前,除甲苯磺酸艾多沙班片,山东新时代药业在抗血栓形成药(化学或生物药)领域还获批了依诺肝素钠注射液、利伐沙班片、阿加曲班注射液、注射用盐酸替罗非班、盐酸替罗非班氯化钠注射液等7个品种,其中利伐沙班片、依诺肝素钠注射液、甲苯磺酸艾多沙班片、阿加曲班注射液4个品种过评。
<END>
要解锁更多企业药品研发信息吗?查询药融云数据库(vip.pharnexcloud.com/?zmt-mhwz)掌握药品各国上市情况、药品批文信息、销售情况与各维度分析、市场竞争格局、一致性评价情况、集采中标情况、药企申报审批信息、最新动态与前景等,以及帮助企业抉择可否投入时提供数据参考!注册立享15天免费试用!








川公网安备51019002008863号
本网站未发布麻醉药品、精神药品、医疗用毒性药品、放射性药品、戒毒药品和医疗机构制剂的产品信息
收藏
登录后参与评论
暂无评论