
继续加仓吸入制剂
药融云数据显示:润生药业(Respirent Pharma)始创于2014年10月8日,是一家专注于以吸入给药递送装置平台为核心技术的高端复杂制剂制药公司,当前主要产品为呼吸疾病领域治疗药物,服务于哮喘和慢性阻塞性肺疾病患者,目标市场覆盖美国、中国、欧洲等国家和地区。

2024年1月5日,华润三九公告:公司通过受让润生药业部分股权及增资的方式对润生药业进行投资。润生药业本次增资后达到约24.43亿元估值。
华润三九取得润生药业丙酸氟替卡松吸入粉雾剂产品上市后在中国大陆地区的独家经销及推广权利一揽子交易,签订《合作协议》,并按照约定价格安排签署具体的《股权转让协议》《增资协议》《股东协议》。
华润三九受让润生药业现有股东渤溢基金所持润生药业780万元注册资本、曹原所持润生药业2000万元注册资本、聚心投资所持润生药业1520万元注册资本,受让价格合计为人民币5891万元;同时,华润三九向润生药业增资人民币1.0238亿元,认购润生药业1609.7634万元新增注册资本,获得本次股权转让及增资完成后润生药业4.1899%股权。润生药业控股股东为华润医药控股有限公司,实际控制人为中国华润有限公司,与润生药业现有股东汕头市华润创新股权投资基金合伙企业(有限合伙)、杭州润信富融投资合伙企业(有限合伙)同受中国华润有限公司控制。

产品进程
作为润生药业首个核心产品,沙美特罗替卡松粉吸入剂为对GSK 的Advair® Diskus®高端仿制药。该药用于治疗4岁及以上患者的哮喘以及气流阻塞的维持治疗和减少慢性阻塞性肺病(COPD)患者的急性发作。依据哮喘和COPD的分级治疗与控制策略,润生药业同时布局多个在研管线产品。润生药业此前分别向欧盟、美国提起了ANDA上市申请。
其他在研产品还有噻托溴铵吸入粉雾剂等。系列产品包括不同规格和不同组合的长效β激动剂(LABA)和吸入皮质类固醇(ICS),从而逐步提高或降低哮喘的治疗方法。也包括治疗慢性阻塞性肺病的吸入长效毒蕈碱拮抗剂(LAMAs)。

目前沙美特罗替卡松吸入粉雾剂已按美国FDA 申报要求完成药学研究、一个规格的生物等效性试验及临床终点研究,并以零缺陷通过美国 FDA 的批准前现场检查;已按中国 CDE 申报要求完成随机对照试验,正在进行生物等效性试验。丙酸氟替卡松吸入粉雾剂已提交美国上市申报;已按中国NMPA/CDE申报要求完成体外等效和生物等效性试验,随机对照试验进行中。

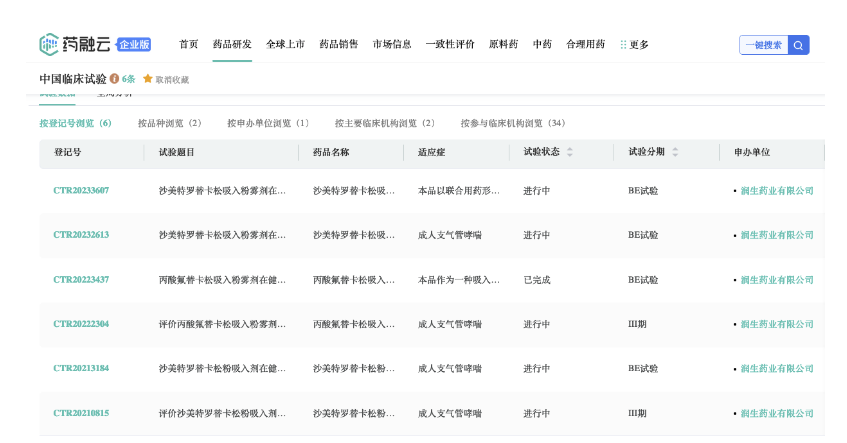
截图来源:药融云中国临床实验数据库
参考:
NMPA/CDE;
药融云数据库;
FDA/EMA/PMDA;
相关公司公开披露;等等
<END>
要解锁更多企业药品研发信息吗?查询药融云数据库(vip.pharnexcloud.com/?zmt-mhwz)掌握药品各国上市情况、药品批文信息、销售情况与各维度分析、市场竞争格局、一致性评价情况、集采中标情况、药企申报审批信息、最新动态与前景等,以及帮助企业抉择可否投入时提供数据参考!注册立享15天免费试用!








川公网安备51019002008863号
本网站未发布麻醉药品、精神药品、医疗用毒性药品、放射性药品、戒毒药品和医疗机构制剂的产品信息
收藏
登录后参与评论
暂无评论