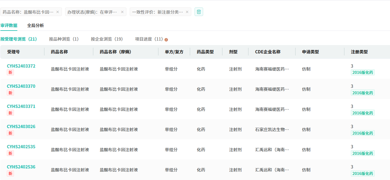
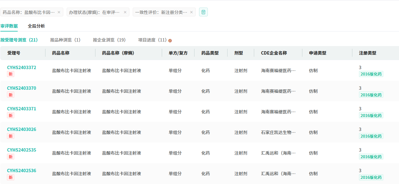
此外,今年10月,科伦药业子公司湖南科伦制药的“布比卡因脂质体注射液”获批上市,视同通过一致性评价,成为我国第二个上市产品。此次,科伦药业的盐酸布比卡因注射液迎来过评,成为业界唯一拥有两种布比卡因制剂的生产批文的药企。目前,在仿制药布局方面,盐酸布比卡因注射液在国内已有19家药企提交仿制申请,均处于审评审批阶段。

截图来源:摩熵医药(原药融云)中国药品审评数据库
2024年至今,科伦药业(含子公司)有28款品种过评,其中ω-3甘油三酯(2%)中长链脂肪乳/氨基酸(16)/葡萄糖(30%)注射液、注射用美罗培南/氯化钠注射液、甘露醇注射液、ω-3甘油三酯(2%)中长链脂肪乳/氨基酸(16)/葡萄糖(16%)注射液、艾曲泊帕乙醇胺片5款品种为首家过评。
结语
科伦药业在仿制药领域的强劲实力再次得到验证。随着盐酸布比卡因注射液成功通过一致性评价,科伦药业已成为国内第四家获得此殊荣的企业。同时,科伦药业在布比卡因制剂领域的领先地位也进一步巩固,成为业界唯一同时掌握两种布比卡因制剂生产技术的企业。
想要解锁更多药品信息吗?查询摩熵医药(原药融云)数据库(vip.pharnexcloud.com/?zmt-mhwz)掌握药品各国上市情况、药品批文信息、销售情况与各维度分析、市场竞争格局、一致性评价情况、集采中标情况、药企申报审批信息、最新动态与前景等,以及帮助企业抉择可否投入时提供数据参考!注册立享15天免费试用!

收藏
登录后参与评论
暂无评论