凭借大存量市场基础与临床指南一线推荐地位,草酸艾司西酞普兰成为企业竞争的关键赛道。集采后,仿制药企加速抢占市场,原研灵北制药的主导地位受到冲击,市场格局随之重塑。
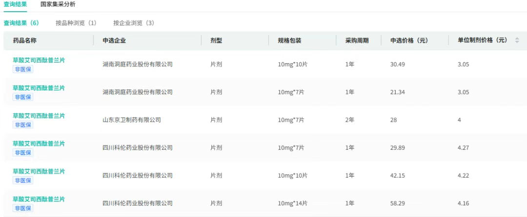
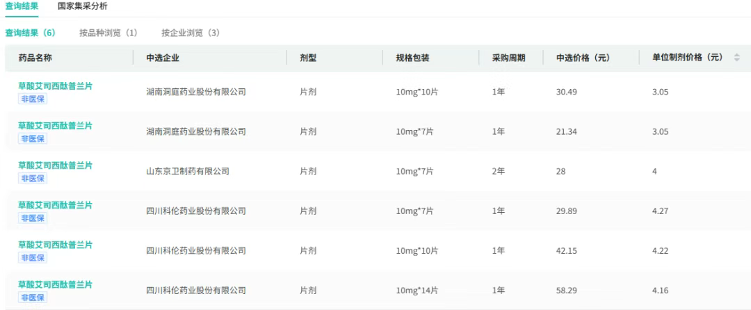
2019年“4+7”集采试点与扩围政策相继执行,草酸艾司西酞普兰当年仅实现0.84%的小幅增长。第一批国家集采中,灵北制药因价格偏高出局,科伦药业、湖南洞庭药业及山东京卫制药中选;2020年该药物销售额随之大幅下降18.38%,但市场局势很快便迎来转机。

截图来源:摩熵医药药品集中采购数据库
当前院内销售榜单中,京卫制药以36.75%的占比蝉联榜首,灵北制药位列第二,四川科伦药业、复星医药子公司湖南洞庭药业依次占据第三、四名。

截图来源:摩熵医药全国医院销售(全终端)数据库
草酸艾司西酞普兰自2014年以来已连续10年蝉联院内抗抑郁药销售额的TOP1。2024年院内抗抑郁药市场规模超97亿元,该品种以21.37亿元成为“销冠”,市场占比27.07%。

截图来源:摩熵医药全国医院销售(全终端)数据库
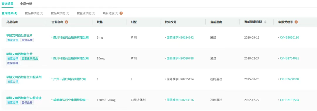
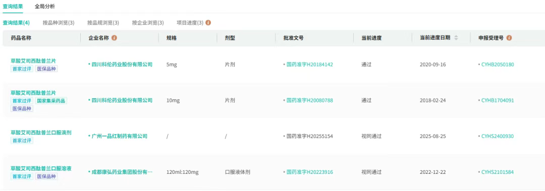
目前国内市场在售的草酸艾司西酞普兰包含片剂、口服溶液两种剂型。四川科伦药业、山东京卫制药、湖南洞庭药业、浙江华海药业、天地恒一制药等20余家药企通过/视同通过一致性评价。

截图来源:摩熵医药中国药品批文数据库
此次,一品红制药申报的草酸艾司西酞普兰滴剂获批上市,为国内首仿,填补了该剂型国内空白。

截图来源:摩熵医药一致性评价数据库
相比于传统药片、胶囊等剂型,草酸艾司西酞普兰滴剂显著提升了特殊人群的用药便捷性和安全性。它既可直接口服,也能轻松溶于水、果汁或流质食物中服用,彻底规避噎呛风险,保障给药成功率,同时也为广大抑郁症患者增添了新的治疗选择。
想要解锁更多药物研发信息吗?查询摩熵医药(原药融云)数据库(vip.pharnexcloud.com/?zmt-mhwz)掌握药物基本信息、市场竞争格局、销售情况与各维度分析、药企研发进展、临床试验情况、申报审批情况、各国上市情况、最新市场动态、市场规模与前景等,以及帮助企业抉择可否投入时提供数据参考!注册立享15天免费试用!

收藏
登录后参与评论
暂无评论