
据《药融云医药行业观察周报》数据统计,在2022年10月24至30日期间,我国创新药/改良型新药注册申报方面,共有42项创新药/改良型新药注册申请获CDE承办(按受理号统计,不含补充申请)。其中,国产药品受理号26个,进口药品受理号16个。
同时,有48款创新药/改良型新药的临床试验申请获得“默示许可”,其中包括化学药24款,生物药22款,中药2款。(想获取完整周报信息,请登录药融云数据库,详见药融报告)今天我们来说说其中一些值得关注的获批临床的药物。
获批临床创新药/改良型新药信息速览(部分)

图片来源:药融云医药行业观察周报
一、联邦制药TUL01101软膏——特应性皮炎治疗新选择
TUL01101是珠海联邦制药研发的具有自主知识产权的小分子JAK1抑制剂,拟用于治疗轻、中度特应性皮炎。目前开发剂型有片剂和外用制剂。此次获批临床的是TUL01101乳膏(规格为0.5%,1%,2%),可实现药物在皮肤的高滞留比和良好的附着性,有望为特应性皮炎患者提供更安全有效的治疗新选择。
目前JAK抑制剂皮肤外用制剂在国外仅有2个产品获批,国内尚无其产品获批上市。(在药融云中国药品审评数据库订阅“TUL01101软膏”,即可实时获悉药品最新研发进度)
TUL01101软膏研发历程时间轴

数据库“订阅”功能,可实时获悉药品研发情报

图片来源:药融云中国药品审评数据库
特应性皮炎(Atopic dermatitis,AD)是一种慢性、复发性、炎性皮肤疾病。患者常合并过敏性哮喘、过敏性鼻炎、食物过敏等疾病。AD的临床表现多样,最基本的特征是皮肤干燥、慢性湿疹样皮损和明显瘙痒。
Janus激酶(JAK)抑制剂为近年来开发的新型AD治疗用药,具有疗效确切、副作用相对较小等优点。自20世纪90年代初首个JAK激酶被发现以来,JAK抑制剂作为一种新型口服小分子靶向药,备受药企关注与重视。
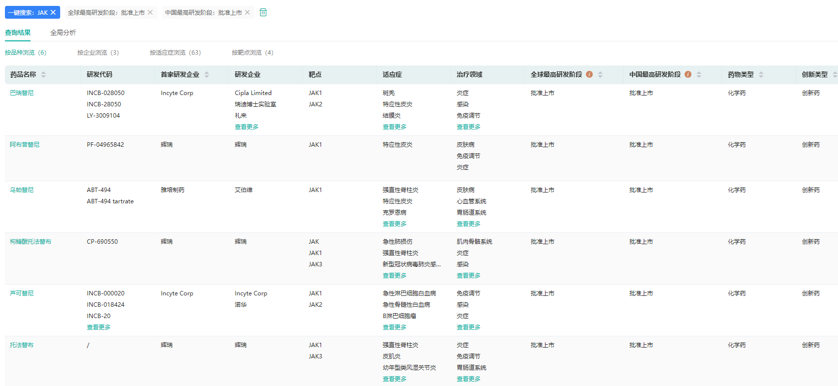
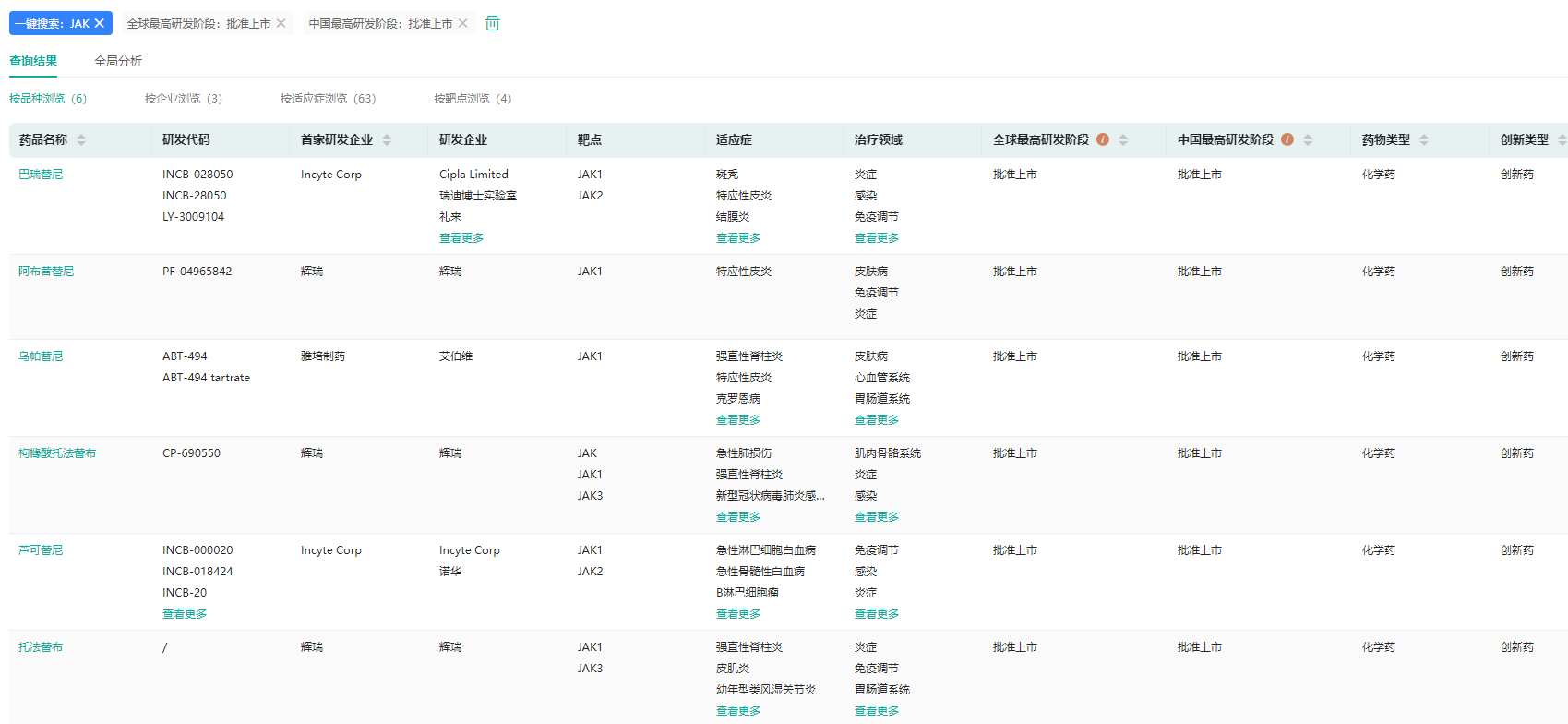
据药融云全球药物研发数据库统计,目前全球已上市的JAK抑制剂有10款,包括Incyte/诺华公司的芦可替尼(ruxolitinib,Jakafi)、辉瑞的托法替布(tofacitinib, Xeljanz)、Incyte/礼来联合开发的巴瑞替尼(baricitinib,Olumiant)、安斯泰来的富马酸吉瑞替尼片(peficitinib)、艾伯维的乌帕替尼(upadacitinib,Rinvoq)、赛诺菲/新基的fedratinib(Inrebic)、日本烟草和鸟居制药共同开发的迪高替尼(delgocitinib)、辉瑞的阿布昔替尼(abrocitinib,Cibinqo)等等。
在国内上市的JAK抑制剂达到5款,分别为:辉瑞的阿布昔替尼和托法替布、艾伯维的乌帕替尼、Incyte的巴瑞替尼和芦可替尼。
国内获批上市的JAK抑制剂

图片来源:药融云全球药物研发数据库
JAK抑制剂适应症主要针对自身免疫疾病,而自身免疫性疾病是仅次于心血管疾病和肿瘤的第三大慢性病,因不同的发病机理表现为多达100多种不同类型的综合征特征和临床表现,包括类风湿关节炎、银屑病、银屑病关节炎、系统性红斑狼疮、强直性脊柱炎、溃疡性结肠炎、克罗恩病等,受累人群比例达人口数的3%~5%。
据药融云统计,全球自身免疫疾病治疗药物处于稳定增长的趋势,2018年市场规模为1099亿美元,2030年预计有望达到1638亿美元。而国内市场也呈快速增长趋势,2015年国内自身免疫疾病治疗药物市场规模为14.2亿美元,2018年增至19.4亿美元,预计在2025年市场规模将达到81.9亿美元。
相信随着新一代JAK抑制剂的问世以及已上市产品适应症及获批范围的增加,JAK抑制剂市场规模也将继续扩张,有望很快突破100亿美元,并进一步稳固在自身免疫疾病领域的市场地位。
二、君实生物JS015注射液——国内首款DKK1单抗
君实生物的JS015注射液是其自主研发的重组人源化抗DKK1单克隆抗体注射液,用于晚期恶性实体瘤的治疗。DKK1(Dickkopf-1)是DKK家族的一种分泌型蛋白,高表达于多发性胃癌、胃食管交界处癌、骨髓瘤、肝癌、肺癌、卵巢癌等多种肿瘤细胞,能通过负反馈信号抑制经典的Wnt信号通路。Wnt信号通路在肿瘤的发生发展中常常异常激活,并能够和其他信号通路协同或拮抗调节肿瘤的增殖、迁移和侵袭。
JS015是国内首款DKK1单抗,目前国内尚无其他企业申报同靶点药物。JS015能以高亲和力结合人DKK1,而且能够有效阻断 DKK1与其配体LRP5/6 的相互作用,激活Wnt信号通路。同时,还能够抑制DKK1在肿瘤微环境中的免疫抑制作用,增强免疫系统杀伤肿瘤细胞的能力。
JS015注射液审评时间轴

图片来源:药融云中国药品审评数据库
目前,君实生物已开发超过50项在研药品。除了商业化阶段的在研产品特瑞普利单抗、埃特司韦单抗及阿达木单抗以外,还有近30项在研产品处于临床试验阶段 (其中昂戈瑞西单抗、VV116、贝伐珠单抗以及 PARP抑制剂处于关键注册III期临床试验阶段), 超过20项在研产品处在临床前开发阶段。
三、诺华XXB750注射液——1类抗心衰新药
XXB750注射液是诺华(Novartis)开发的一款1类新药,拟用于难治性高血压。诺华于今年4月在海外开展了一项XXB750单剂皮下注射治疗射血分数下降心衰(HFrEF)患者的I期研究,以评估XXB750在射血分数降低的心力衰竭患者中的安全性和耐受性,预计于2023年6月完成。
XXB750注射液审评时间轴

图片来源:药融云中国药品审评数据库
高血压是最重要的心血管疾病危险因素之一。数据表明,34%~73%的患者血压未得到良好的控制,其中有一部分是难治性高血压。难治性高血压在临床中比较常见,大概占高血压患者的9%~18%。
难治性高血压是一种导致心脑血管疾病进展的高血压现象,合理、极佳、可耐受剂量的多种药物联合治疗是控制血压的关键。随着人口老龄化和我国肥胖率的不断增加,难治性高血压的发病率呈现出增加趋势。
心血管-肾脏(Cardio-Renal)是诺华布局的5大核心治疗领域之一。据药融云全国医院销售数据库统计,诺华的重磅产品Entresto(沙库巴曲缬沙坦)在国内医院端2021年市场规模达到20.1亿元,同比增长177%。目前已获批治疗HFrEF、HFpEF以及高血压。
沙库巴曲缬沙坦上市时间轴及适应症研发状态

图片来源:药融云全球药物研发数据库
四、加科思JAB-2485片——高选择性小分子Aurora A抑制剂
JAB-2485是北京加科思自主研发的全球首创新药,是一种高选择性极光激酶A(Aurora Kinase A,AURKA)抑制剂,在细胞水平可以抑制Aurora A活性,诱导细胞凋亡,抑制肿瘤生长,拟用于治疗晚期实体瘤。
目前全球还没有商业化的同类产品,加科思的JAB-2485是第二家在我国进行临床试验的Aurora A抑制剂,也是第三家在美国进行临床试验的Aurora A抑制剂。
JAB-2485具有良好的抗肿瘤活性,临床前数据表明,JAB-2485在生化和细胞水平上具有高选择性,JAB-2485对Aurora A的抑制活性比对Aurora B的抑制活性高一千多倍,有潜力使小细胞肺癌、三阴乳腺癌等肿瘤患者受益。
目前JAB-2485全球最高研发状态为II期临床(NCT05490472),该研究正在美国进行,单药用于治疗晚期实体瘤。JAB-2485拟用于多种实体瘤的治疗,包括雌激素受体阳性(ER+)乳腺癌、三阴乳腺癌、AT丰富结构域1A基因突变的实体瘤和小细胞肺癌等。
NCT05490472试验详情(部分)

图片来源:药融云全球临床试验数据库
加科思的管线围绕六大肿瘤信号通路(RAS、MYC、RB、I/O、肿瘤代谢、P53)布局,有多个处于临床前阶段的项目。目前,其自主研发的SHP2抑制剂(JAB-3068、JAB-3312)、Aurora A抑制剂(JAB-2485)和KRAS G12C抑制剂(JAB-21822)三个项目均在临床试验阶段,日后有望通过展开内部的联合用药,为患者带来更多治疗方案。
五、健民药业通降颗粒——第二款1类中成药胃药
健民药业的通降颗粒,是中国中医科学院西苑医院院内制剂转化的1.1类中药创新药。功能主治为疏肝清热,和胃降逆。用于肝胃郁热证。症见烧心,反酸,嘈杂、胸骨后疼痛,嗳气、咽部异物感、胸胁胀满或胀痛,舌质红或略红,苔白或略黄,脉弦。适用于胃食管反流病见上述证候者。
胃食管反流病属消化系统常见病与多发病,是胃内容物反流入食管或者以上部位,进入咽部、口腔或肺引起的不适症状和(或)并发症。资料显示,胃食管反流病患病率在全球范围内呈上升趋势,我国胃食管反流病患病率高达1.9%~7.0%,属于胃肠动力障碍性疾病,症状多而复杂,常重叠功能性胃肠病症状,伴焦虑、抑郁状态,且容易反复发作,需维持用药。
通降颗粒参考适应症

图片来源:药融云中国药品审评数据库
近年来,我国治疗胃病的中成药逐渐受到患者青睐。据药融云数据统计,2021年,中成药胃药(胃炎、溃疡)总市场规模超过100亿元,未来市场潜力巨大。其中,医院端中成药胃药市场规模超过74亿元,增速超过10%,杨紫茳江苏制药、四川好大夫攀西制药和湖南科伦制药占据了40%的市场份额;实体零售药店中成药胃药市场规模接近27亿元,增长率为7.24%。
健民药业积极布局中成药胃药市场,其中药1类新药七蕊胃舒胶囊,用于轻中度慢性非萎缩性胃炎伴糜烂湿热瘀阻证所致的胃脘疼痛,是首个获批上市的治疗慢性胃炎的中药1.1类新药。通降颗粒为其在中成药胃药市场的第二款1类新药,其销售前景也备受关注。
想要解锁更多药物研发信息吗?查询药融云数据库(vip.pharnexcloud.com/?zmt-mhwz)掌握药物基本信息、市场竞争格局、销售情况与各维度分析、药企研发进展、申报审批情况、最新市场动态、市场规模与前景等,以及帮助企业抉择可否投入时提供数据参考!注册立享15天免费试用!

<END>







川公网安备51019002008863号
本网站未发布麻醉药品、精神药品、医疗用毒性药品、放射性药品、戒毒药品和医疗机构制剂的产品信息
收藏
登录后参与评论
暂无评论