
据NMPA官网显示,扬子江药业集团2款以仿制药3/4类报产的药物获批,分别为硫酸钠钾镁口服溶液和左氧氟沙星氯化钠注射液。其中前者为扬子江独家报产仿制药,此次顺利获批,成为该品种首仿。经查询统计,2022年至今,扬子江药业集团已有9款药品通过(视同通过)仿制药一致性评价,并且以新4类报产了3款品种,均有望抢仿制药首家或第二家过评。


左氧氟沙星氯化钠注射液
左氧氟沙星原研由日本第一三共株式会社开发。适用于治疗或预防已证明或高度怀疑由敏感细菌引起的呼吸系统、泌尿系统、生殖系统、皮肤软组织、肠道及其他中重度感染,是国内外临床应用最为广泛的抗菌药物。近年来左氧氟沙星相关制剂峰值院内销售额达55亿元,其中,左氧氟沙星氯化钠注射液院内销售额峰值超5亿,2021年或将突破记录。
左氧氟沙星氯化钠注射液院内销售

截图来源:药融云全国医院数据库
从企业来看,目前原研第一三共株式会社稳坐左氧氟沙星氯化钠注射液市场龙头地位。国产仿制药首家来自齐都药业,其产品于2020年9月以新4类获批上市,视同通过仿制药一致性评价。后福安药业、湖南科伦、华夏生生药业、西南药业、海南辉能药业、浙江医药等6家企业也陆续获批该品种仿制药。目前,还有石家庄四药、西安信百欣医药、四川美大康佳乐药业等企业也递交了上市申请。
硫酸钠钾镁口服溶液
2020年7月,扬子江药业集团以新3类递交的轻泻药硫酸钠钾镁口服溶液上市申请获CDE受理,近日获批。经查询,目前该品种为扬子江药业独家报产仿制药,此次顺利获批,成为该品种首仿。
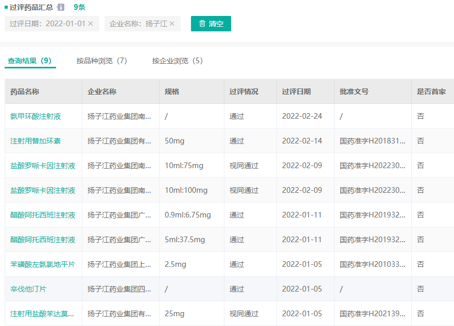
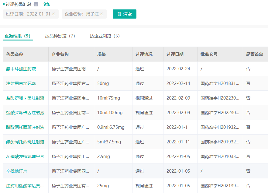
扬子江药业集团:2022年已过评9大品种
经药融云查询统计,2022年至今,扬子江药业集团已有9款药品通过(视同通过)仿制药一致性评价,除今日公布的两款外,此前还有注射用盐酸苯达莫司汀、苯磺酸左氨氯地平片、辛伐他汀片、醋酸阿托西班注射液、盐酸罗哌卡因注射液、注射用替加环素和氨甲环酸注射液先后过评。
扬子江药业集团2022年仿制药过评情况

截图来源:药融云仿制药一致性评价数据库
注射用盐酸苯达莫司汀2021年前3季度院内销售额近7千万,已是2020年总额的3倍有余,目前正处于快速放量阶段。苯磺酸左氨氯地平片近年院内销售额稳定在20亿左右,是临床上最常用的降压药物之一。辛伐他汀片是常见的降血脂药,市场目前主要由默沙东主导。醋酸阿托西班注射液是子宫内及蜕膜、胎膜上受体的催产素竞争性拮抗剂,近年来该品种销量呈阶梯式增长,2021年前三季度已超3.5亿元,同比增加超过90%。
盐酸罗哌卡因注射液是一种新型的长效酰胺类局麻药,据药融云统计,2020年该品种院内销售额近6亿元。替加环素是一种四环类抗生素,辉瑞开发的原研Tygacil于2010年进入中国,2021年前三季度,该品种已斩获超19亿的销售额,市场还将进一步增长。氨甲环酸注射液为抗纤维蛋白溶解药,主要用于止血治疗,2021年前三季度院内销售额已超10亿元,已上市剂型中注射剂为销售主力。
2022年至今,扬子江药业集团已以新4类报产了3款品种,分别是甲苯磺酸艾多沙班片(尚无企业仿制药过评)、奥美沙坦酯氨氯地平片(有望抢国产仿制药第2家)和阿加曲班注射液(尚无企业仿制药过评)。
扬子江药业集团2022年仿制药申报情况

截图来源:药融云中国药品审评数据库
想要解锁更多药企仿制药过评信息吗?查询药融云数据库(https://www.pharnexcloud.com/?zmt-mhwz)掌握药企仿制药申报情况、最新进展、仿制药竞争格局、销售情况、市场规模与前景,可否投入!注册立享15天免费试用和虎年首份医药数据大礼包!

—END—







川公网安备51019002008863号
本网站未发布麻醉药品、精神药品、医疗用毒性药品、放射性药品、戒毒药品和医疗机构制剂的产品信息
收藏
登录后参与评论
暂无评论