
据最新一批药品批件,石药欧意的拉考沙胺注射液获批上市,为该超$20亿抗癫痫药的国产第2家获批生产企业。


截图来源:NMPA官网
拉考沙胺(lacosamide),也叫拉考酰胺,原研来自比利时优时比子公司施瓦茨法姆制药公司 ( Schwarz Pharma),最早于 2008 年 9 月率先在欧盟获批上市,商品名为 Vimpat,是具有双重机制作用的抗惊厥药物,用于治疗癫痫和神经性疼痛。据药融云统计,拉考沙胺2021年全球销售额超20亿美元,已久保持稳定增长。
拉考沙胺全球销售额

截图来源:药融云全球药物研发数据库
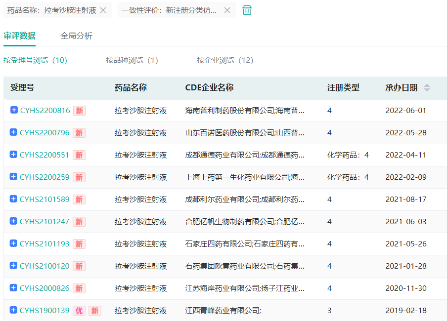
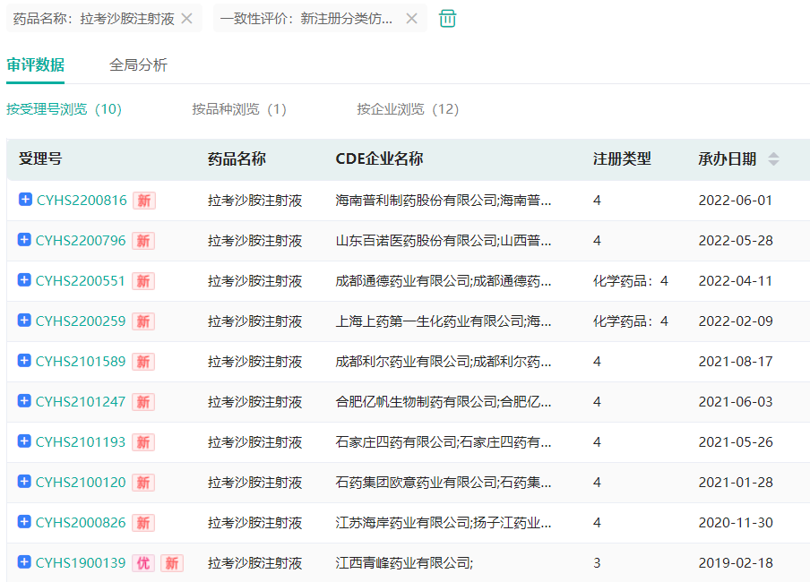
在国内,拉考沙胺已有口服液、片剂和注射液获批生产,其中,拉考沙胺注射液原研最早于2019年12月获批。2020年11月,江西青峰药业的拉考沙胺注射液以3类化药获批上市,成为了国内首个同时拿下拉考沙胺片剂和注射液首仿的企业。此次石药欧意获批,为国产第二家获批生产拉考沙胺注射液的企业。
此外,还有江苏海岸药业/扬子江、石家庄四药、合肥亿帆生物、成都利尔药业、上海上药/海南合瑞制药、成都通德药业、山东百诺医药/山西普德药业和海南普利制药等企业递交了拉考沙胺注射液的4类化药上市申请,尚在审评审批中。

截图来源:药融云中国药品审评数据库
参考来源:
[1] NMPA官网
[2] 药融云数据库
想要解锁更多药企仿制药信息吗?查询药融云数据库(https://www.pharnexcloud.com/?zmt-mhwz)掌握药企仿制药申报情况、审批信息、最新进展、一致性评价、市场竞争格局、销售情况,市场规模与前景,可否投入!注册立享15天免费试用和虎年首份医药数据大礼包!

—END—







川公网安备51019002008863号
本网站未发布麻醉药品、精神药品、医疗用毒性药品、放射性药品、戒毒药品和医疗机构制剂的产品信息
收藏
登录后参与评论
暂无评论