
6月19日,据CDE官网显示,四川普锐特药业有限公司提交的4类仿制化药瑞维那新吸入溶液上市申请已获受理。

截图来源:CDE官网
6月12日,NMPA才正式批准了晖致医药(Viatris)申报的瑞维那新吸入溶液(曾用名:雷芬那辛吸入溶液,revefenacin)的上市申请。国内仿制药企入局之快,让人惊叹!

截图来源:NMPA官网
瑞维那新吸入溶液,是每日只需使用一次的雾化吸入剂,主要针对慢性阻塞性肺病(COPD)患者进行维持治疗,是全球首个每日一次、雾化给药的长效抗胆碱药物(LAMA)。由Theravance Biopharma研发,于2018年11月9日获FDA批准上市。晖致医药在2019年通过合作获得了该产品的雾化剂型在大中华区的独家开发和商业化权。
其获批上市是基于中国治疗COPD3期临床试验的积极结果。结果显示,瑞维那新组患者在第12周时,其24小时后的谷值第一秒用力呼气容积(FEV1)相较于基线水平的改善程度明显优于安慰剂组。

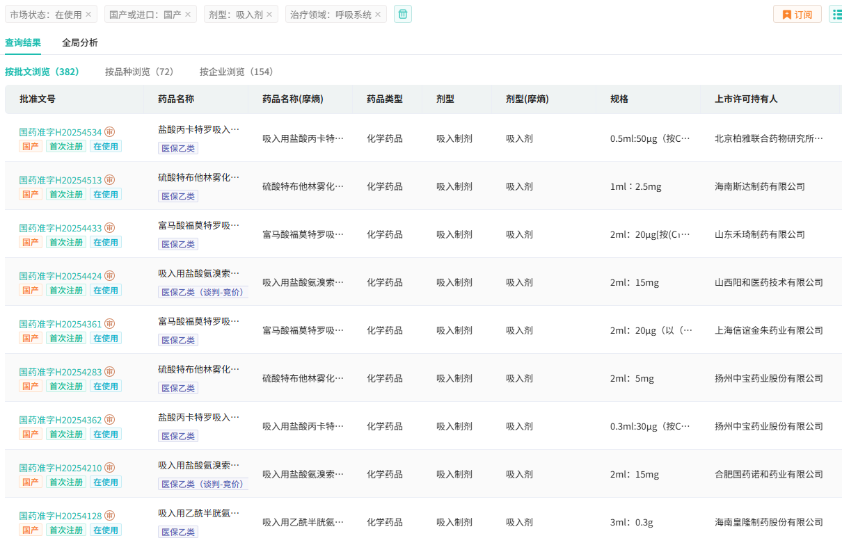
截图来源:摩熵医药药品研发数据库
根据摩熵医药数据显示,当前我国阻塞性气管病的吸入剂用药在全国医院(全终端)的销售额超800亿元。













浙公网安备33011002015279
本网站未发布麻醉药品、精神药品、医疗用毒性药品、放射性药品、戒毒药品和医疗机构制剂的产品信息
收藏
登录后参与评论
暂无评论