
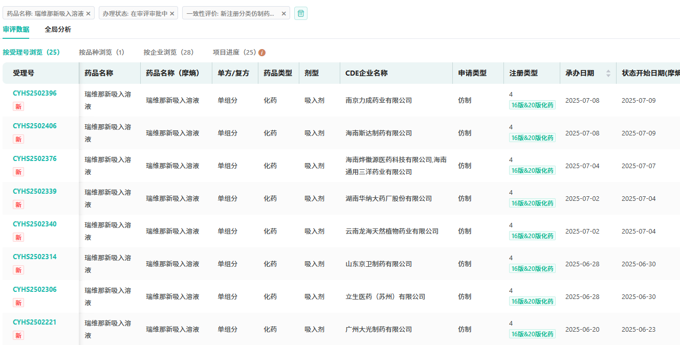
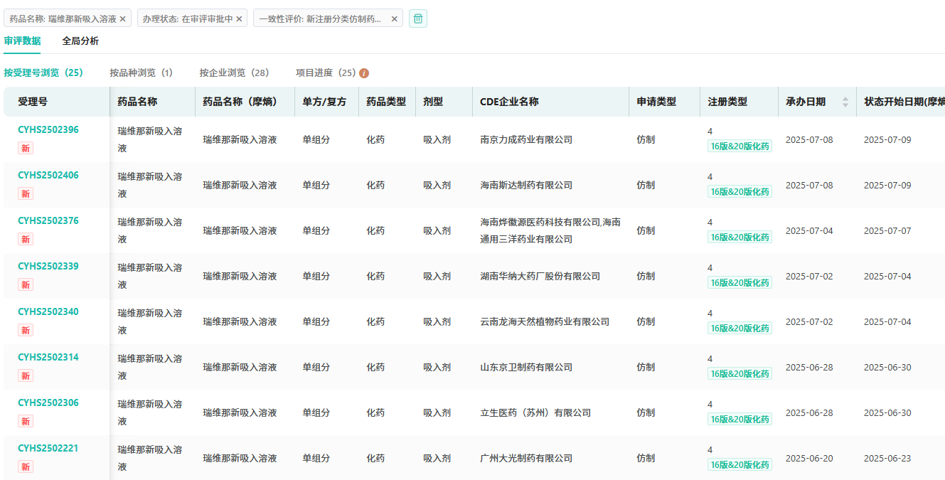
11月13日,据CDE官网最新公示,鲁南贝特制药以仿制4类报产的瑞维那新吸入溶液上市申请已获受理。摩熵医药数据显示,原研获批不久,国内多家明星药企提交了上市申请。

截图来源:CDE
瑞维那新(又名雷芬那辛)作为 Mylan公司 研发的长效毒蕈碱拮抗剂,于2018年获得FDA批准,用于慢性阻塞性肺病(COPD)患者的维持治疗。COPD是一种发病率上升的慢性炎症性肺部疾病,可引起肺部气流阻塞,导致呼吸困难。在中国,COPD的阴霾笼罩着约1亿民众;放眼全球,预计到2050年,患者数量将逼近6亿。吸入药物是COPD治疗的关键,能直接作用于肺部并降低不良反应。
2024年全球COPD药物市场约285.3亿美元,同比增长31.2%。据摩熵医药数据库显示,瑞维那新在2024年全球销售总额近2.4亿美元,占整体市场的0.84%。

截图来源:摩熵医药全球药物研发数据库
2023年11月,晖致医药与Theravance Bioharma宣布,瑞维那新吸入溶液治疗中国COPD的3期临床达主要疗效终点,FEV1较安慰剂显著增加,结果将助力其在中国获批上市。瑞维那新于2020年在国内启动临床申报,2024年完成进口上市申报,并于2025年6月正式获批进入中国市场。

截图来源:摩熵医药中国药品批文数据库
原研药获批仅7日,倍特药业便于6月19日率先申报瑞维那新吸入溶液4类仿制上市。随后齐鲁制药、科伦制药、复星医药等超25家药企竞相入场角逐首仿。如今鲁南贝特制药也加入战局,瑞维那新吸入溶液市场竞争已趋白热化。









川公网安备51019002008863号
本网站未发布麻醉药品、精神药品、医疗用毒性药品、放射性药品、戒毒药品和医疗机构制剂的产品信息
收藏
登录后参与评论
暂无评论