
药融云获悉:美国时间2023年8月28日,华津医药自主研发的溶瘤细菌桑美威克用于治疗小细胞肺癌(SCLC)适应症方面获得美国食品药品监督管理局(FDA)授予的孤儿药资格认定(Orphan Drug Designation)。这是桑美威克获得的第三项孤儿药资格认定,此前华津医药提出的利用桑美威克治疗骨肉瘤、肝细胞癌的孤儿药申请已分别获得FDA的资格认定。
华津医药董事长赵子建博士表示:
“小细胞肺癌是肺癌中恶性程度高,治疗手段极其有限,因而也造成生存期非常短的恶性肿瘤。此次FDA对华津医药桑美威克的孤儿药地位认定,除了反映出在治疗小细胞肺癌中的临床迫切需求,也是对桑美威克药物潜能的一种认定。我们将借此机会,快速开展桑美威克在小细胞肺癌的临床开发”。
关于小细胞肺癌
肺癌是世界上发病率和死亡率最高的恶性肿瘤,而小细胞肺癌(small-cell lung cancer, SCLC)是肺内神经内分泌肿瘤的一种,具有低分化、高级别、预后差(全球每年新增约250000例,死亡超过200000例)的特征,约占全部肺癌病例的15%。
吸烟是小细胞肺癌发病的高危因素,仅有2%的SCLC患者是非吸烟人员。目前SCLC的治疗手段主要包括手术、放疗、化疗和靶向治疗,但是SCLC患者容易耐药和复发,因而五年生存率只有约20%,而发生转移的患者的五年生存期不足5%。因此,寻找更有效的靶向肿瘤、同时发挥杀伤原发灶和转移灶的药物,提高SCLC患者的生存预后,是临床治疗SCLC的重要难题。
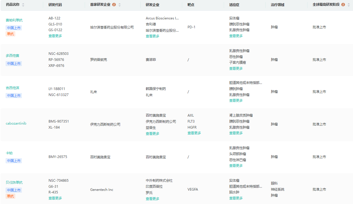
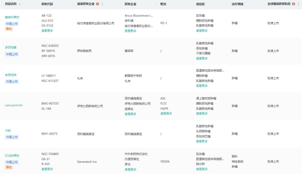
已上市治疗小细胞肺癌药品(部分)

数据来源:药融云全球药物研发数据库
关于孤儿药
孤儿病(Orphan disease)属于罕见病(Rare disease)类。美国将孤儿病定义为每年患病人数少于20万人(或发病人口比例小于1/1500)的疾病。美国的《孤儿药法案》(Orphan Drug Act,ODA)规定,给予治疗孤儿病的药品或生物制品以特殊的地位。此认证过程由美国FDA完成,获得批准后,称为孤儿药资格认证。获得孤儿药资格认定的药物可以享受政策上相对应的福利,例如:新药获批上市后享有7年美国市场独占权(marketing exclusivity)、免除NDA/BLA申请费、临床研究费用税收减免以及可能免除部分临床数据的申报要求等一系列激励政策。
关于溶瘤细菌桑美威克
溶瘤细菌桑美威克是全球首个(first-in-class) 进入临床试验阶段的可精准靶向并快速溶解肿瘤的基因工程生物制品。桑美威克通过减毒沙门氏菌载体搭载特异的甲硫氨酸水解酶,剥夺肿瘤生长所需的必须氨基酸,从而杀伤肿瘤并阻止肿瘤扩散;是一种高效并针对广谱实体肿瘤的溶瘤产品。
华津医药拥有桑美威克的完整知识产权和全球权益,在全球范围的发明专利超50项,已获得授权22项。目前,华津医药已经成功取得美国FDA和中国台湾TFDA的新药临床试验申请(IND)许可,并正在美国和中国台湾的多家临床试验中心进行溶瘤细菌桑美威克静脉给药和瘤内给药I/IIa期注册临床试验,试验招募肝癌、骨肉瘤、肺癌、头颈癌、前列腺癌、乳腺癌、黑色素瘤等多种晚期恶性实体瘤患者。为加速其在美国的开发和审评程序,FDA已授予溶瘤细菌桑美威克3项孤儿药资格认定。
参考资料:
1.公司官网
2.药融云数据库
<END>
要解锁更多企业药品研发信息吗?查询药融云数据库(vip.pharnexcloud.com/?zmt-mhwz)掌握药品各国上市情况、药品批文信息、销售情况与各维度分析、市场竞争格局、一致性评价情况、集采中标情况、药企申报审批信息、最新动态与前景等,以及帮助企业抉择可否投入时提供数据参考!注册立享15天免费试用!








川公网安备51019002008863号
本网站未发布麻醉药品、精神药品、医疗用毒性药品、放射性药品、戒毒药品和医疗机构制剂的产品信息
收藏
登录后参与评论
暂无评论