
了解国内企业创新药出海/跨国企业在华新药布局动态,追踪全球创新药研发进展,关注全球积极/失败临床结果.....尽在《药融云医药行业观察周报》。在2023.09.25-2023.10.01期间,全球有哪些创新药取得了新的研发进展?又有哪些积极/失败临床结果值得关注呢?
1.和黄医药提交新药上市申请,治疗结直肠癌!
和黄医药宣布武田(Takeda)已向日本厚生劳动省提交呋喹替尼用于经治转移性结直肠癌成人患者的新药上市申请。2023年1月,武田与和黄医药达成了一项超11亿美元的合作,获得了呋喹替尼在除中国大陆、香港及澳门地区以外的全球范围的针对所有适应症的开发及商业化独家许可。
呋喹替尼(Fruquintinib)是和黄医药开发的一种新型、口服、高选择性血管内皮生长因子受体(VEGFR)-酪氨酸激酶抑制剂(TKI),也是首款由我国科学家自主研发的小分子抗癌靶向药。
药融云数据库显示,呋喹替尼是一款口服的靶向VEGFR-1/2/3 的抗血管生成药物,于2018 年9月在国内获批上市,用于晚期结直肠癌的三线治疗,为晚期结直肠癌患者带来了新希望。
2023年5月26日,美国FDA受理呋喹替尼用于治疗经治转移性结直肠癌成人患者的新药上市申请,并授予其优先审评资格。
呋喹替尼各适应症全球研发进度查询

图片来源:药融云全球药物研发数据库
VEGFR抑制剂在抑制肿瘤的血管生成中起到至关重要的作用。呋喹替尼被设计为拥有更高的激酶选择性,旨在降低脱靶激酶活性,从而实现更高的药物暴露、对靶点的持续覆盖以及当潜在作为联合疗法时拥有更高的灵活度。目前在国内,该药已获批用于治疗转移性结直肠癌患者,并在今年递交了联合紫杉醇用于二线治疗晚期胃癌和胃食管结合部腺癌的新适应症上市申请。
2. 科笛集团引进的外用痤疮新药在国内申报上市
药融云中国药品审评数据库显示,科笛集团引进的盐酸米诺环素泡沫剂已申报上市并获得受理。盐酸米诺环素泡沫剂是一款外用4%米诺环素泡沫剂(CU-10201),本次申报适应症为:用于9岁及以上儿童和成人患者的非结节性中度至重度寻常痤疮。此前,该产品已被CDE纳入优先审评。该药于2019年被美国FDA批准上市,用于治疗中度至重度寻常痤疮。
寻常痤疮是一种慢性炎症性皮肤病,特征为开放性或闭合性粉刺及炎性病变(如丘疹、脓疱或结节)。米诺环素是一种用于治疗细菌感染及寻常痤疮的四环素抗生素,它通过阻止胺基酸进入核糖体,从而抑制细菌肽链的形成。米诺环素对多种微生物具有广谱抗菌活性,包括痤疮棒状杆菌及皮肤感染中报告的其他病原体,如金黄色葡萄球菌、链球菌、铜绿假单胞菌及表皮葡萄球菌耐甲氧西林菌株。
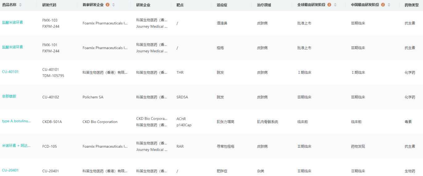
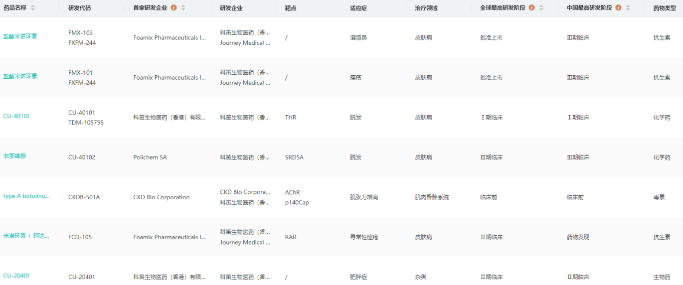
科笛集团研发管线及进度查询

图片来源:药融云全球药物研发数据库
科笛集团是一家专注于皮肤学的研发型生物制药公司,主要针对的治疗领域为广泛皮肤病及护理市场的四个主要领域,即局部脂肪堆积管理药物、毛发疾病及护理、皮肤疾病及护理以及表皮麻醉。
从研发管线来看,科笛集团的布局主要侧重于脱发领域,产品及候选产品中有6款产品的适应症与脱发相关。其中,重点产品CU-40102是全球首个亦是唯一一个获批准用于雄激素性脱发治疗的外用非那雄胺产品,也是中国唯一一个处于临床开发阶段的外用非那雄胺产品,目前处于III期临床阶段。
3.死亡率100%的顽疾,创新疗法降低近50%死亡风险
近日,Clene公司通过其全资子公司CleneNanomedicine宣布了其纳米疗法CNM-Au8在名为HEALEYALS的平台临床试验中的长期随访数据。
CNM-Au8是一种具有催化活性、表面清洁、浓缩的金元素多面纳米晶体的水悬浮液。通过提供和/或接收电子,它能驱动大脑中关键的细胞能量生成反应,通过增加神经元和胶质细胞对疾病相关应激的耐受性,使神经修复和髓鞘再生成为可能,并减少有害的反应性分子。
CNM-Au8全球临床试验信息查询

图片来源:药融云全球临床试验数据库
HEALEYALS平台试验是一项长期多中心、随机双盲、安慰剂对照临床试验,旨在评估多种在研产品在ALS患者中的疗效和安全性。事后数据分析显示,与肌萎缩侧索硬化(ALS)患者历史数据相比,接受CNM-Au8(30mg)治疗患者生存期显著改善,死亡风险降低49%(HR:0.510,95%CI:0.263-0.987,p=0.046)。
肌萎缩侧索硬化症(ALS,俗称“渐冻人”),是一种病因未明、主要累及大脑皮质、脑干和脊髓运动神经元的神经系统变性疾病。ALS以进行性发展的骨骼肌萎缩、无力、肌束颤动为主要临床表现。一般会在中老年时期发病,生存期通常在3到5年。因为其较高的死亡率,被列入五大绝症之一。该病目前无法治愈,可通过治疗手段达到延缓疾病进程,改善患者生存质量和延长患者的生存期。
ALS的治疗药物十分有限,最广泛使用的药物利鲁唑(Riluzole)、2017年获批的新药依达拉奉(Edaravone),Relyvrio(AMX0035),Tofersen(Qalsody)获批都是基于它们在功能或生存方面的益处,但这些药物也并没有显著改变疾病的进程。
药融云数据库显示,在国内,利鲁唑目前拥有21个生产批文,涉及4个品种,7家企业,包括万特制药、恩华药业、鲁南贝特制药、三门峡赛诺维制药等企业。依达拉奉拥有63个生产批文,涉及5个品种,40家企业,包括国药集团、三联药业、海南合瑞制药、扬子江药业、齐鲁制药、先声药业等企业。
利鲁唑生产企业查询

图片来源:药融云中国药品批文数据库
与之同时,近几年国内布局ALS领域的企业开始逐渐崭露头角,并都逐步迎来了一些进展,比如广州喜鹊医药的硝酮嗪、和誉医药的ABSK021、中美瑞康的小核酸药物RAG-17、南京百鑫榆医药的依达拉奉舌下片、上药睿尔的藿苓生肌颗粒等等。
4.一周内MYC下调过半!靶向MYC带来治疗肝癌新希望
OmegaTherapeutics公布其正在进行的1/2期MYCHELANGELOI试验的初步积极结果。该试验评估其在研mRNA疗法OTX-2002在肝细胞癌(HCC)和其他带有与MYC基因相关实体瘤患者中的作用。初步分析显示,所有患者在接受OTX-2002治疗后其MYC表达显著下调。
肝癌为全世界第六最常被诊断出的癌症,也在癌症相关死亡中排名第3,其中有75%的成人肝癌患者属于肝细胞癌。OTX-2002是一种通过脂质纳米颗粒(LNP)递送、潜在“first-in-class”的mRNA疗法,OTX-2002可以在不改变细胞内MYC基因序列的情况下来控制此基因的表达,此方式具潜力克服MYC在癌症中自调节异常的问题。
OTX-2002临床试验信息

图片来源:药融云全球临床试验数据库
药融云全球临床试验数据库显示,2022年7月,美国FDA许可OTX-2002进入1/2期新药临床试验,治疗肝细胞癌(HCC)患者,成为全球首个进入临床试验的表观基因组学调节药物。2022年11月,FDA又授予了OTX-2002孤儿药称号,强调了其对治疗HCC的新疗法的需求,以及表观遗传规划改变治疗前景的潜力。
癌基因MYC被称为癌症研究的“珠穆朗玛峰”,因为很难设计出能够使其失活的药物。MYC是最具挑战性的药物靶点之一,其激活可能影响70%或更多的人类癌症。
MYC驱动肿瘤细胞代谢重编程导致生物量积累和细胞增殖的能力是这些癌基因研究最多的功能。MYC还调节肿瘤进展,并且通常与化疗耐药和转移有关。MYC的大多数致癌功能归因于其作为转录因子的作用,MYC不仅可以促进细胞转化和癌症的发生,还可以促进迁移和转移。因此,针对MYC的疗法有可能成为肝癌的高效治疗方法。
<END>
以上只是部分信息动态,如果你想了解更多全球新药研发进展,或者获取《药融云医药行业观察周报》完整报告内容,请关注“药融云”公众号,后台回复“报告”关键词进行领取;或者前往药融云“药融文库”网站【原创报告】栏目进行全文下载。








川公网安备51019002008863号
本网站未发布麻醉药品、精神药品、医疗用毒性药品、放射性药品、戒毒药品和医疗机构制剂的产品信息
收藏
登录后参与评论
暂无评论