
据CDE官网显示,复星医药子公司重庆药友制药递交的4类仿制化药注射用盐酸万古霉素(受理号:CYHS2302876)的上市申请获受理。目前国内仅有浙江海正药、浙江医药和丽珠集团3家国产企业拥有该品种的批文,重庆药友制药有望斩获国产第4家。

截图来源:CDE官网
万古霉素作为第一个问世的糖肽类抗生素,原研由礼来开发,该品种在1958年获得FDA的批准上市,目前在世界卫生组织基本药物标准清单中有收载,已经在全球广泛上市销售。万古霉素对多种革兰阳性菌有杀菌活性,是治疗MRSA感染的首选药物。作为抗生素王牌,万古霉素被誉为“人类最后一道防线”,近年来在中国的市场处于稳定增长中,据药融云数据库,2022年注射用盐酸万古霉素斩获近近16亿院内销售额,其中原研市场占有率近80%。

截图来源:药融云全国医院销售数据库
目前注射用盐酸万古霉素过评有丽珠集团,浙江海正药和浙江医药3家企业,其中浙江医药是首家过评,重庆药友制药有望第4家过评。
除了本次申报的重庆药友制药,还有海南普利制、山东鲁抗医药药/成都通德药业、南京恒道医药/江苏九旭药、海南普利制药已递交注射用盐酸万古霉素的上市申请,均在审评审批中。
据药融云数据库统计,重庆药友制药(含子公司)累计已有40个品种(64规格)视同通过了一次性评价,其中盐酸文拉法辛片、富马酸喹硫平片、注射用赖氨匹林、吲达帕胺片、盐酸克林霉素胶囊、盐酸阿米替林片、舒必利注射液7个品种为首家过评。
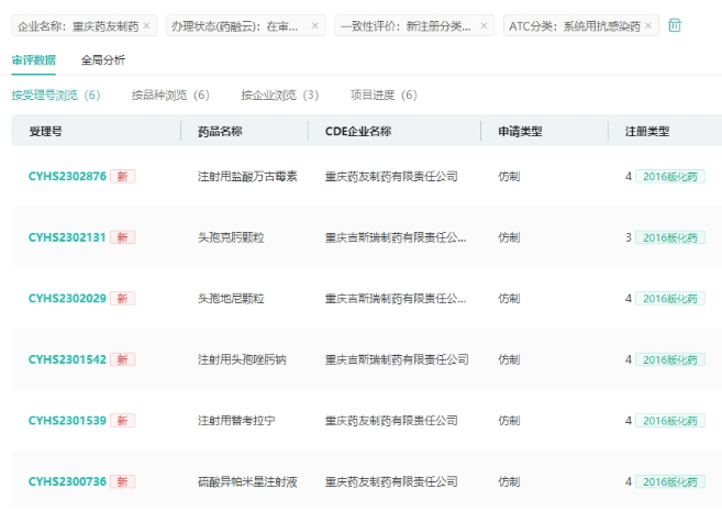
除了此次递交的注射用盐酸万古霉素,在系统系统用抗感染药领域,重庆药友制药还有5个品种已递交仿制上市申请,均在审评审批中。

截图来源:药融云中国药品审评数据库
其中注射用头孢唑肟钠,硫酸异帕米星注射液目前暂无企业过评,重庆药友制药有望斩获首家过评,注射用替考拉宁目前仅有浙江医药过评,重庆药友制药有望第2家过评。
<END>
要解锁更多企业药品研发信息吗?查询药融云数据库(vip.pharnexcloud.com/?zmt-mhwz)掌握药品各国上市情况、药品批文信息、销售情况与各维度分析、市场竞争格局、一致性评价情况、集采中标情况、药企申报审批信息、最新动态与前景等,以及帮助企业抉择可否投入时提供数据参考!注册立享15天免费试用!








川公网安备51019002008863号
本网站未发布麻醉药品、精神药品、医疗用毒性药品、放射性药品、戒毒药品和医疗机构制剂的产品信息
收藏
登录后参与评论
暂无评论