
北京市药监局核发了全国第一张干细胞《药品生产许可证》,这是一个里程碑事件。
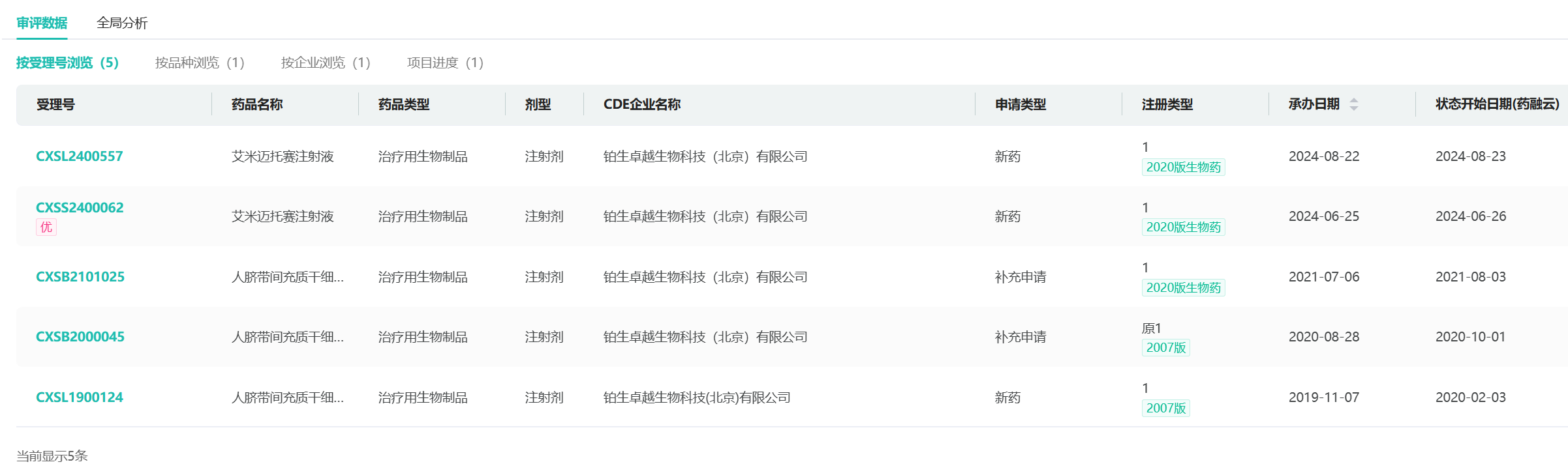
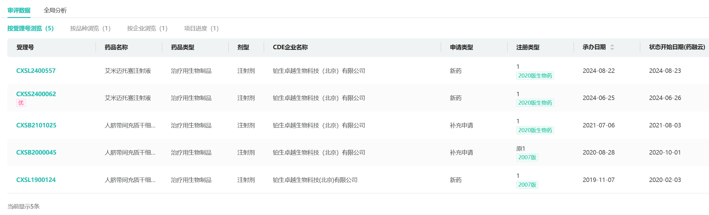
近日,北京市药品监管半年工作会议召开,会上特别肯定了核发全国第一张干细胞《药品生产许可证》的工作开展。据北京药监局网站“行政许可信息”查询结果显示,铂生卓越生物科技(北京)有限公司是首家获得全国干细胞药品生产许可证的公司。

作为国内首张专门针对干细胞药品的《药品生产许可证》,其颁发具有划时代的意义。
铂生卓越生物科技(北京)有限公司成立于2010年5月18日,注册资本为11400万元人民币。在生物科技领域已深耕多年,专注于细胞治疗技术的研发与应用。
铂生卓越拥有近3000平方米的GMP标准细胞生产车间,配备了先进的仪器设备与设施,并组建了一支由国内外知名专家领衔的优秀人才团队。公司与多家医疗机构合作,共同研发干细胞药物,已有产品进入申报临床试验的准备阶段。

其申报的干细胞药品适应症为激素治疗失败的急性移植物抗宿主病(GVHD),具体为人脐带间充质干细胞治疗。
近年来,随着《“十四五”生物经济发展规划》等政策的出台,我国明确提出要发展干细胞治疗等新技术,强化产学研用协同联动,加快相关技术产品转化和临床应用。国家药品监督管理局(CDE)也发布了多项指导原则,如《人源性干细胞及其衍生细胞治疗产品临床试验技术指导原则(试行)》,为干细胞产品的研发、注册申报及临床试验提供技术指导。干细胞《药品生产许可证》的核发,意味着中国的干细胞药物已经具备了向市场迈进的基本条件,预示着细胞治疗新时代的大门正缓缓开启。
据财联社主题库显示,相关上市公司中:
华邦健康在互动平台表示,公司参股企业河北生命原点是河北省干细胞库的建设和运营方,其核心业务为新生儿干细胞、成人免疫细胞等细胞存储业务和干细胞产品临床研究和应用转化。
济民健康旗下博鳌国际医院目前干细胞药物研发管线主要包括脂肪间充质干细胞治疗视网膜色素变性、脂肪间充质干细胞治疗2型糖尿病等,均处于临床前阶段。
有人说,21世纪是细胞治疗的时代。此前该行业广受质疑,但科技本身无对错,复杂的是人。北京作为首都, 此行开创之举具有极强的示范作用,也是给这么多年坚持做这方面研究的机构和人员打了一剂强心针,从目前看,这很可能是未来快速上升的赛道之一。但相对的,这也对企业和监管机构提出了更高的要求。
参考来源:
[1] 东方财富网
[2] 科普干细胞
[3] 常顺的细胞圈
<END>
想要解锁更多药物研发信息吗?查询药融云数据库(vip.pharnexcloud.com/?zmt-mhwz)掌握药物基本信息、市场竞争格局、销售情况与各维度分析、药企研发进展、临床试验情况、申报审批情况、各国上市情况、最新市场动态、市场规模与前景等,以及帮助企业抉择可否投入时提供数据参考!注册立享15天免费试用!








川公网安备51019002008863号
本网站未发布麻醉药品、精神药品、医疗用毒性药品、放射性药品、戒毒药品和医疗机构制剂的产品信息
收藏
登录后参与评论
暂无评论