
华海药业2024上半年业绩再创新高,相关预计全年营业收入有望突破100亿元。9月19日,据华海药业发布公告,称其公司提交的马来酸依那普利片以及子公司长兴制药的阿立哌唑口服溶液两大品种获批上市。目前有45个仿制药报产在审;14款1类新药获批临床,其中注射用HB0052和HB0046注射液2个品种在今年首次获批临床。

截图来源:企业公告
18款重磅品种获批,955万拿下两大畅销品种
9月19日,据华海药业发布公告,称其公司提交的马来酸依那普利片以及子公司长兴制药的阿立哌唑口服溶液两大品种获批上市。截至目前,华海药业在上述两个项目分别投入了研发费用约194万元和761万元。2024年至今华海药业(含子公司)已陆续拿下了18个重磅品种,涉及神经系统药物、心血管系统药物、抗肿瘤药和免疫机能调节药物、消化系统与代谢药物、呼吸系统药物、肌肉-骨骼系统药物6大领域。

数据整合:中国药品审评数据库
3大畅销品种市场迎来了大突破。值得一提的是,非布司他片是公司首款获批的抗痛风制剂,枸橼酸托法替布片是公司首款获批的免疫抑制剂,在抗帕金森氏病药市场,华海药业的多巴丝肼片在2024年2月获批,随后在5月份拿下了甲磺酸雷沙吉兰片。
截止目前,华海药业(含子公司)有72个品种过评。其中首家过评的有依非韦伦片、奥美沙坦酯氢氯噻嗪片、阿立哌唑片等16个品种。华海药业从4+7城市试点至第九批国采(不含第六批胰岛素专项)已中标产品达23个。

截图来源:过评药品汇总数据库
第十批国采是2024年医药界的大事件之一,一直备受市场瞩目,目前华海药业已过评且暂未纳入国采的产品中有12个产品的竞争企业(原研+过评)≥5家,包括了拉莫三嗪片、左乙拉西坦缓释片、利格列汀片、磷酸西格列汀片、西格列汀二甲双胍片(Ⅱ)、盐酸艾司洛尔注射液、盐酸美金刚口服溶液、多巴丝肼片、托拉塞米片、甲磺酸雷沙吉兰片、注射用盐酸表柔比星、富马酸卢帕他定片,这些产品均为公司在2020-2024年按新分类获批的新产品,“光脚产品”由于尚未在市场中占据稳固份额,因此有望在未来迎来前所未有的发展机遇和市场爆发期。
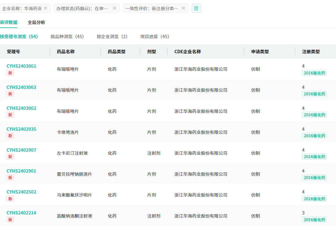
45个品种冲刺上市,抢4大品种首仿
华海药业在2024年半年报中提到,公司在国内的制剂研发战略由“抢集采”向“仿创结合、抢先上市”转变,目前公司报产在审的品种有45个,均为化药仿制药。此外,目前国内市场上暂无布瑞哌唑片、二甲双胍恩格列净片(Ⅴ)、达格列净二甲双胍缓释片(Ⅳ)、盐酸卡利拉嗪胶囊的国产仿制药获批,华海药业将参与这4个产品的国内首仿争夺。

截图来源:中国药品审评数据库
在创新药研发方面,华海药业以研发国内首创、同类最优的小分子创新药为目标,聚焦中枢神经系统疾病、代谢相关疾病、肿瘤相关疾病等领域。截止目前,华海药业(含子公司)有14款1类新药获批临床。创新药方面,注射用HB0052和HB0046注射液在今年首次获批临床。
参考来源:
[1] 华海药业官方公告
[2] 药融云数据库
<END>
想要解锁更多药企信息吗?查询药融云数据库(vip.pharnexcloud.com/?zmt-mhwz)掌握药企公司基本信息、投融资情况、产品管线分布、药物销售情况与各维度分析、药物研发情况、年度报告、最新进展动态、临床试验信息、市场规模与前景等,以及帮助企业抉择可否投入时提供数据参考!注册立享15天免费试用!








川公网安备51019002008863号
本网站未发布麻醉药品、精神药品、医疗用毒性药品、放射性药品、戒毒药品和医疗机构制剂的产品信息
收藏
登录后参与评论
暂无评论