
今年,国家医保局对2024年国家医保药品目录进行了初步形式审查,其中包括了多款CAR-T细胞治疗产品。据公示信息显示,共有440个药品通过了初步形式审查,其中包括4款CAR-T产品。

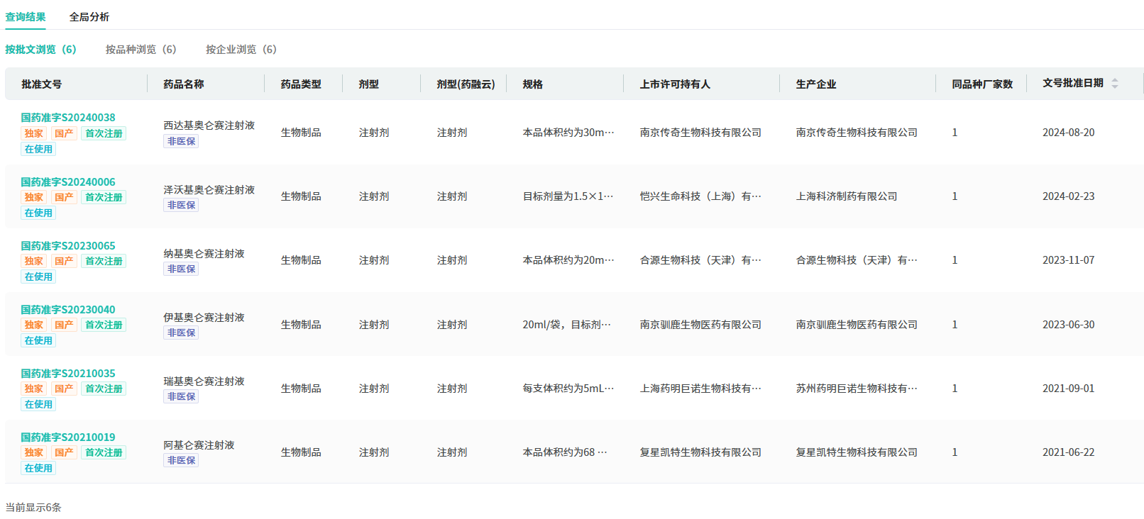
截止到目前,国内共批准了6款CAR-T细胞疗法上市:阿基仑赛注射液(商品名:奕凯达,复星凯特),瑞基奥仑赛注射液(商品名:倍诺达,药明巨诺),伊基奥仑赛注射液(商品名:福可苏,驯鹿生物/信达生物),纳基奥仑赛注射液(商品名:源瑞达,合源生物),泽沃基奥仑赛注射液(商品名:赛恺泽,科济生物/华东医药),西达基奥仑赛注射液(商品名:卡卫荻,传奇生物)。
4款纳入医保谈判目录的CAR-T产品分别是复星凯特的阿基仑赛注射液、药明巨诺的瑞基奥仑赛注射液、合源生物的纳基奥仑赛注射液以及科济药业的泽沃基奥仑赛注射液。目前国内的CAR-T产品定价均在百万级别,复星凯特的阿基仑赛注射液(商品名:奕凯达)价格为120万/针;药明巨诺的瑞基奥仑赛注射液(商品名:倍诺达)价格为129万/针;驯鹿生物/信达生物的伊基奥仑赛注射液(商品名:福可苏)价格为116.6万元/针;合源生物的纳基奥仑赛注射液(商品名:源瑞达)价格为99.9万元/针。因为未进入医保,昂贵的定价成了制约患者使用的最大障碍。
陪跑三年!今年能否有CAR-T产品纳入医保?
据药融云数据库显示,2021年6月,国内第一款获批CAR-T产品获批,复星凯特的阿基仑赛注射液获批用于复发或难治性大B细胞淋巴瘤。ZUMA-1研究数据显示,其客观缓解率高达83%。
2021年9月,药明巨诺的瑞基奥仑赛注射液上市,也在大B细胞淋巴瘤的治疗中展现出了不俗的实力。瑞基奥仑赛注射液适应症包括:
1. 用于治疗经过二线或以上系统性治疗后成人患者的复发或难治性大B细胞淋巴瘤 (r/rLBCL);
2. 用于治疗经过二线或以上系统性治疗的成人难治性或24个月内复发滤泡性淋巴瘤(r/rFL)。
2023年11月,纳基奥仑赛注射液获批上市,不同于前两款申报医保谈判的CAR-T细胞疗法产品将适应症聚焦在淋巴瘤领域,纳基奥仑赛注射液选择的是B细胞急性淋巴细胞白血病。今年3月,泽沃基奥仑赛注射液的适应症与前三款CAR-T疗法也不同,其用于治疗复发或难治性多发性骨髓瘤成人患者,既往经过至少3线治疗后进展(至少使用过一种蛋白酶体抑制剂及免疫调节剂)。在治疗复发或难治性多发性骨髓瘤方面,其总缓解率高达92.2%,为患者带来了持久的缓解和生存希望。

截图来源:药融云中国药品批文数据库
一针120万元的阿基仑赛注射液和一针129万元的瑞基奥仑赛注射液目前已是第三次通过初审,而另两款药物泽沃基奥仑赛注射液和纳基奥仑赛注射液则是第一次通过初审。
陪跑三年,也是CAR-T产品备受关注的三年。高昂价格跟日益增加的医保压力,降价似乎成了CAR-T产品产品进入医保目录的唯一方法。复星凯特工作人员曾坦言:“每一年我们都积极准备谈判,但由于CAR-T药物价格下降难度大,想进医保还是比较难的”。虽然谈判双方达成一致的难度不小,但就像复星凯特掌门人,董事长吴以芳所说,“我坚定认为CAR-T应该进医保”。相信随着获批产品的增多、竞争的加大,加上细胞培养、设备等各项生产成本国产化后,业内人士判断,CAR-T纳入医保的希望也会越来越大。
结语
近年来,细胞治疗作为一种创新的医疗手段,展现出了巨大的潜力。CAR-T 免疫细胞治疗更是在肿瘤治疗领域大放异彩,为众多患者带来了新的希望。它通过对患者自身的免疫细胞进行改造,使其能够精准识别并攻击癌细胞,从而达到治疗疾病的目的。然而,高昂的治疗费用一直是制约其广泛应用的重要因素。此次4 款CAR-T疗法进入医保初审名单,若最终成功纳入医保,将极大减轻患者的经济负担,使更多人能够受益于这一先进的治疗技术。然而医保基金有限的资金和这些创新疗法高昂定价,成了根本性的矛盾点。期待能有更多行之有效的支付方式参与进这类高昂定价的创新疗法的报销中来,惠及更多癌症患者。
参考来源:
[1] 人民日报健康客户端
[2] 药融云数据库
<END>
想要解锁更多药品信息吗?查询药融云数据库(vip.pharnexcloud.com/?zmt-mhwz)掌握药品各国上市情况、药品批文信息、销售情况与各维度分析、市场竞争格局、一致性评价情况、集采中标情况、药企申报审批信息、最新动态与前景等,以及帮助企业抉择可否投入时提供数据参考!注册立享15天免费试用!








川公网安备51019002008863号
本网站未发布麻醉药品、精神药品、医疗用毒性药品、放射性药品、戒毒药品和医疗机构制剂的产品信息
收藏
登录后参与评论
暂无评论