
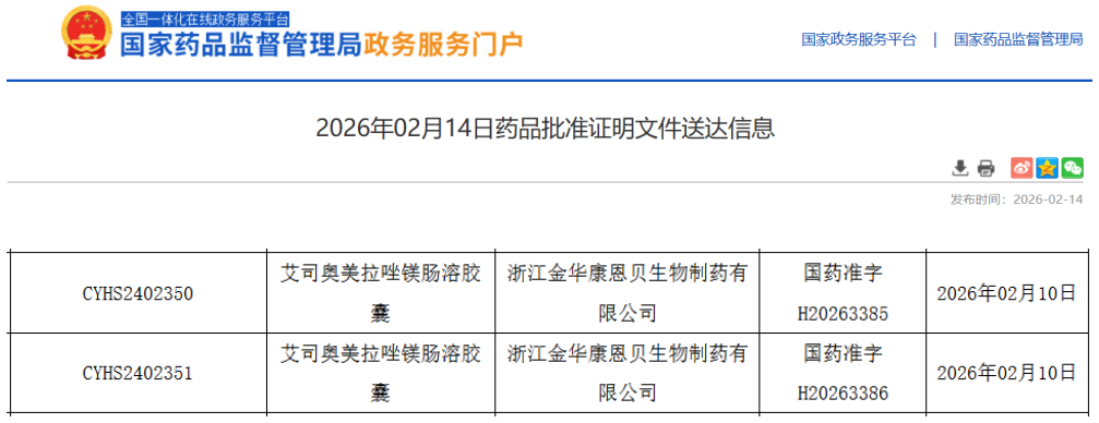
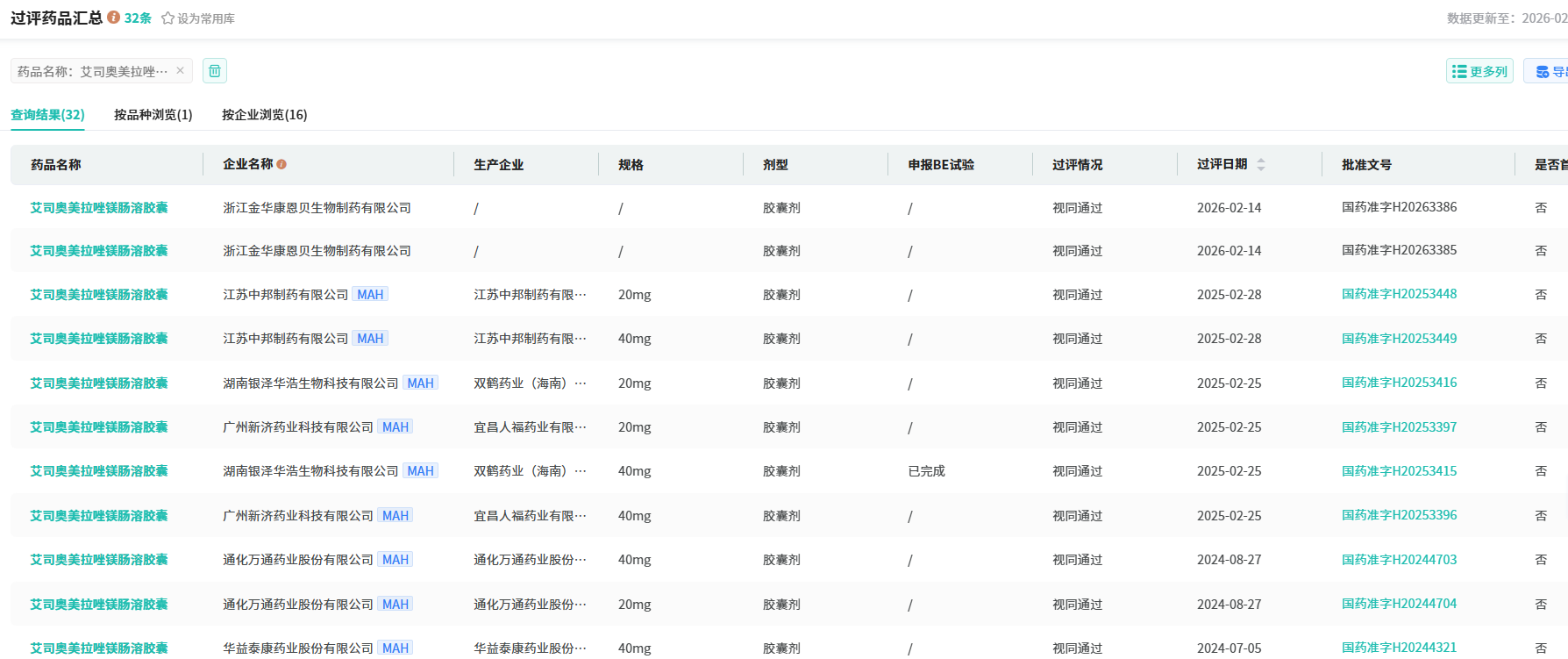
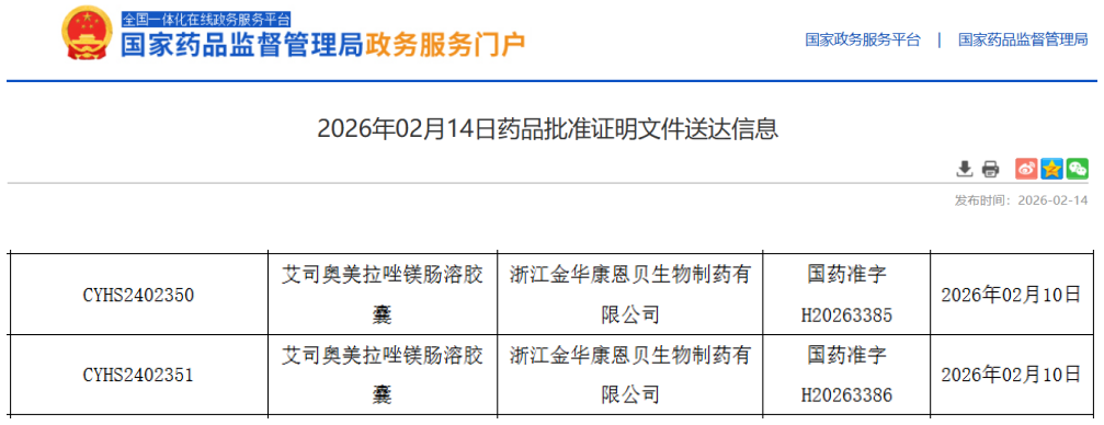
近期,据NMPA官网公示,浙江金华康恩贝生物制药申报的艾司奥美拉唑镁肠溶胶囊正式获批上市,且视同通过一致性评价。这意味着康恩贝在消化系统与代谢类药物板块再下一城,进一步巩固其在胃肠疾病治疗领域的产品矩阵。

截图来源:NMPA官网
市场高速增长,康恩贝抢滩8亿赛道
艾司奥美拉唑镁肠溶胶囊最早由阿斯利康研发,2001年获美国FDA批准上市,商品名“耐信”(Nexium)。2007年阿斯利康(耐信)获批进入中国,主要用于治疗胃食管反流病(GERD)、糜烂性反流性食管炎,以及联合适当抗菌药物根除幽门螺杆菌,从而促进相关消化性溃疡愈合。作为质子泵抑制剂(PPI)中的经典药物,其临床地位稳固,长期占据消化科处方前列。
据摩熵医药数据库统计,艾司奥美拉唑镁肠溶胶囊在2024年全终端市场销售额突破8亿元,同比大幅增长65.52%;进入2025年,仅前三季度销售额已接近5亿元,显示出强劲的市场需求和持续放量潜力。









川公网安备51019002008863号
本网站未发布麻醉药品、精神药品、医疗用毒性药品、放射性药品、戒毒药品和医疗机构制剂的产品信息
收藏
登录后参与评论
暂无评论