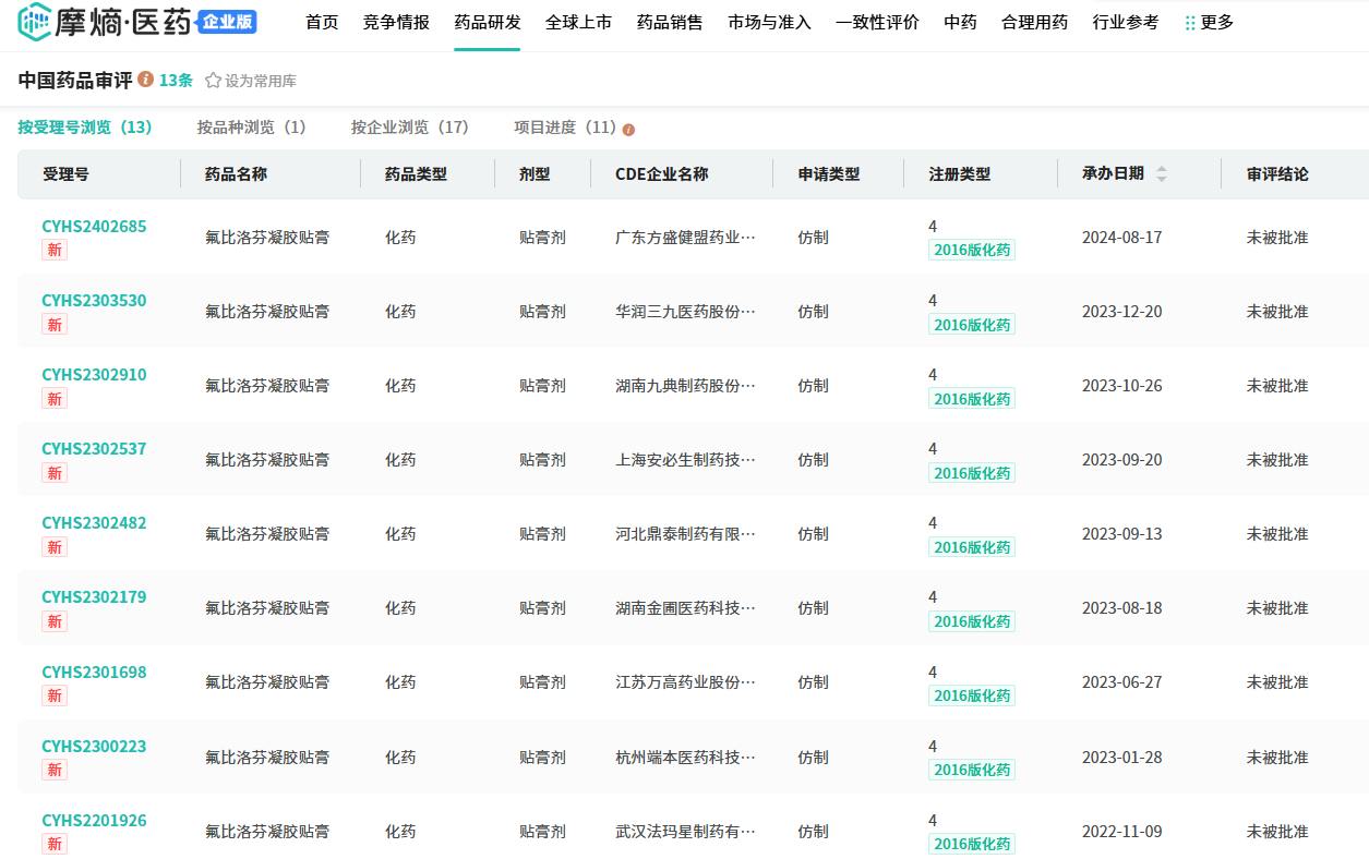
面对如此广阔的市场,国内众多制药企业都心动不已,多家企业先后提交氟比洛芬凝胶贴膏仿制药的上市申请。自2020年起共有21条申请上市的一致性评价受理号,其中13条已被驳回,众多药企在这场百亿蓝海的争夺战中,或成先烈,或继续奋战。

截图来源:摩熵医药(原药融云)中国药品审评数据库
目前,氟比洛芬凝胶贴膏仅有2个批准文号,分别属于三笠制药和泰德制药。自泰德制药获批后,国内再无其他仿制药上市,且无一家企业通过一致性评价。江苏万高药业在2023年6月的申请的氟比洛芬凝胶贴膏未能获批,此次再次发起冲击,力争成为首家过评的该品种仿制药企业。

截图来源:摩熵医药(原药融云)中国药品批文数据库
凝胶贴膏国内赛道开卷,两强并立领头羊地位
近年来,国产企业在凝胶贴膏仿制药领域的水平与技术显著提升,吸引了众多医药企业投身于此生产赛道。然而,鉴于其工艺复杂性、高研发难度及技术壁垒,我国当前仅上市了五款化药凝胶贴膏产品:氟比洛芬凝胶贴膏、利多卡因凝胶贴膏、酮洛芬凝胶贴膏、洛索洛芬钠凝胶贴膏及吲哚美辛凝胶贴膏。尽管如此,这些凝胶贴膏在医院市场的销售额持续飙升,2023年已突破40亿大关,其中氟比洛芬与洛索洛芬两大产品占据了绝大部分市场份额,分别贡献超过66%和32%。在企业竞争格局中,北京泰德与九典制药作为凝胶贴膏仿制药领域的领头羊,引领行业发展。

截图来源:摩熵医药(原药融云)全国医院销售(全终端)数据库
在这仅有的5款上市产品中,九典制药占了两款。2017年,九典制药成功攻克交联架桥、水凝胶体系经皮给药制剂渗透等技术难题,推出洛索洛芬钠凝胶贴膏,并迅速占据国内市场100%份额,奠定了其在化药贴膏领域的领先地位。2023年,九典制药再次取得突破,成功研发并上市国内首仿酮洛芬凝胶贴膏,并纳入医保,有望成为其另一款明星产品。

截图来源:摩熵医药(原药融云)中国药品批文数据库
在凝胶贴膏的研发过程中,反向研究、辅料确认及进口辅料替代是核心挑战。九典制药针对这些难点,采取“药品制剂+原料药+药用辅料”一体化发展战略,深入研究凝胶贴膏基础技术,不仅实现了关键辅料国产替代,还解决了经皮给药制剂开发中的关键技术难题。九典制药的成功案例表明,一旦突破技术壁垒,凝胶贴膏产品有望成为市场“重磅炸弹”。当前,国内凝胶贴膏市场竞争激烈且持续升温,预示着该领域未来发展潜力巨大。
小结
随着市场的持续扩容和越来越多医药企业的加入,国内凝胶贴膏剂市场的发展必将迎来更加繁荣的局面。氟比洛芬凝胶贴膏作为各大药企争夺的焦点,其市场竞争无疑将更加激烈。在这场充满挑战与机遇的竞赛中,谁将从氟比洛芬凝胶贴膏仿制药的上市申请中脱颖而出。此次江苏万高药业能否再次取得突破,成为国内首个过评该品种的仿制药企业,让我们拭目以待!
想要解锁更多药物研发信息吗?查询摩熵医药(原药融云)数据库(vip.pharnexcloud.com/?zmt-mhwz)掌握药物基本信息、市场竞争格局、销售情况与各维度分析、药企研发进展、临床试验情况、申报审批情况、各国上市情况、最新市场动态、市场规模与前景等,以及帮助企业抉择可否投入时提供数据参考!注册立享15天免费试用!

收藏
登录后参与评论
暂无评论