ADC药物被称为新一代“抗癌神药”,有着“智能生物导弹”和“魔法子弹”之称。ADC是1908年诺贝尔生理学或医学奖得主保罗·埃尔利希(Paul Ehrlich)提出的伟大构想。1913年,他提出“魔法子弹”设想:如果将毒素(子弹头)安装在能精准瞄准癌细胞的载体上,便可实现精准“投毒”,而不伤害正常细胞。这就是抗体偶联药物(ADC)的底层逻辑。
一、三代ADC药物齐聚一堂
从一开始只是停留在构想层面,到历经80余年的不间断努力后,第一发ADC“魔法子弹”成功瞄准肿瘤,翻开了“魔法子弹”的新篇章。第一代ADC在2000年登上历史舞台,名为Mylotarg,用于治疗急性骨髓性白血病(AML)。但由于各种缺陷导致的安全隐患以及乏善可陈的临床益处,辉瑞于2010年撤回了Mylotarg。
十年磨一剑,吸取了第一代的教训后,第二代ADC药物Adcetris于2011年出现,在一定程度上弥补了一代药物的不足。Seattle Genetics的Adcetris(维布妥昔单抗)目前在47个国家销售,随着适应症增加和市场扩张,预计将突破10亿美元销售额。
维布妥昔单抗获批适应症查询(微信搜索"药融云小程序"进行相关更多数据查询)

图片来源:药融云全球药物研发数据库
当然第二代ADC也并不完美,因此,第三代ADC追求的是实现可控的特定位点偶联(Site-Specific Conjugation),以此进一步提高治疗窗口,比如于2017年和2019年相继获批的Besponsa和Enhertu等。至此,老中青三代ADC药物齐聚一堂。
据药融云数据库统计,截止目前,全球已有16款ADC药物获批上市,其中在国内上市的有8款,分别是罗氏的恩美曲妥珠单抗(商品名:Kadcyla/赫赛莱)与维泊妥珠单抗(商品名:Polivy/优罗华)、葛兰素史克的GSK-2857916(belantamab mafodotin)、Seagen/武田制药的维布妥昔单抗(商品名:Adcetris)、辉瑞的奥加伊妥珠单抗(商品名:Besponsa/贝博萨)、荣昌生物的维迪西妥单抗(商品名:爱地希)、吉利德/云顶新耀的戈沙妥珠单抗(商品名:Trodelvy/拓达维)、阿斯利康/第一三共制药的德曲妥珠单抗(商品名:Enhertu/优赫得)(《全球获批上市的15款ADC药物大盘点!国内在售5款,涉及罗氏、辉瑞》)。
国内已获批上市ADC药物

图片来源:药融云全球药物研发数据库
二、全球ADC药物市场增长强劲
相比于传统疗法,ADC凭借综合了抗体疗法、化疗和小分子抑制剂疗法的主要优势,具有独特的靶向能力,显示出更好的临床试验结果,激发了全球开发热情,全球ADC药物市场增长强劲。
截至2022年底,全球已累计批准上市了15款ADC药物。从已披露的企业财报数据来看,2022年全球ADC药物市场规模已超72亿美元,同比增长31%。其中,罗氏的Kadcyla以21.80亿美元销售额位居榜首,与去年同期基本持平;Seagen/武制药的Adcetris稳步增长,以14.76亿美元销售额排名第二。第一三共/阿斯利康的Enhertu以12.38亿美元的销售额排名第三,同比增长190.6%,成功突破“十亿美元”。预计2023年ADC新药市场规模将首次突破百亿美元,到2026年,目前已上市ADC的全球销售额将超过164亿美元。
在国内医院全终端市场中,药融云全国医院销售(全终端)数据库显示,罗氏的Kadcyla2021年的销售规模为6672万元,同比增长173.33%;武田制药的维布妥昔单抗2021年的销售规模为3088万元,同比增长769.34%。

图片来源:药融云全国医院销售(全终端)数据库
虽然目前行业整体药品销量较低,但ADC药物经历三代迭代升级,在药效方面有大幅提升,并且有新的适应症在不断涌现,行业整体处于上升初期。随着全球市场的持续渗透及适应症的不断拓展,未来ADC药物更将释放出巨大的市场空间。
三、国内ADC研发竞争加剧,差异化布局积极
除了在国内上市的有8款ADC药物以外,目前还有三款ADC药物在国内处于申请上市阶段,分别是安博生物/新码生物(浙江医药子公司)的ARX-788、安斯泰来的Enfortumab vedotin、百健/英创远达制药的替伊莫单抗(Ibritumomab Tiuxetan)。
国内ADC药物的竞争愈演愈烈,布局企业超过110家。据药融云全球药物研发数据库显示,目前国内企业研发的ADC药物处于临床试验阶段的有70余个,其中按首家研发企业的药品数量来排名,TOP5企业分别是启德医药、普方生物、百利药业、多禧生物、礼新医药。
ADC药物国内研发企业TOP10

图片来源:药融云全球药物研发数据库
截至目前,国内处于III期临床阶段的ADC药物有5款,分别是:美雅珂生物的MRG-002、MRG-003,恒瑞医药的SHR-A1811,科伦药业的MK-2870,东曜药业的TAA-013;处于II期临床的16款,处于I期临床的有33款,涉及百奥泰、康宁杰瑞、石药集团、信达生物等40家企业。
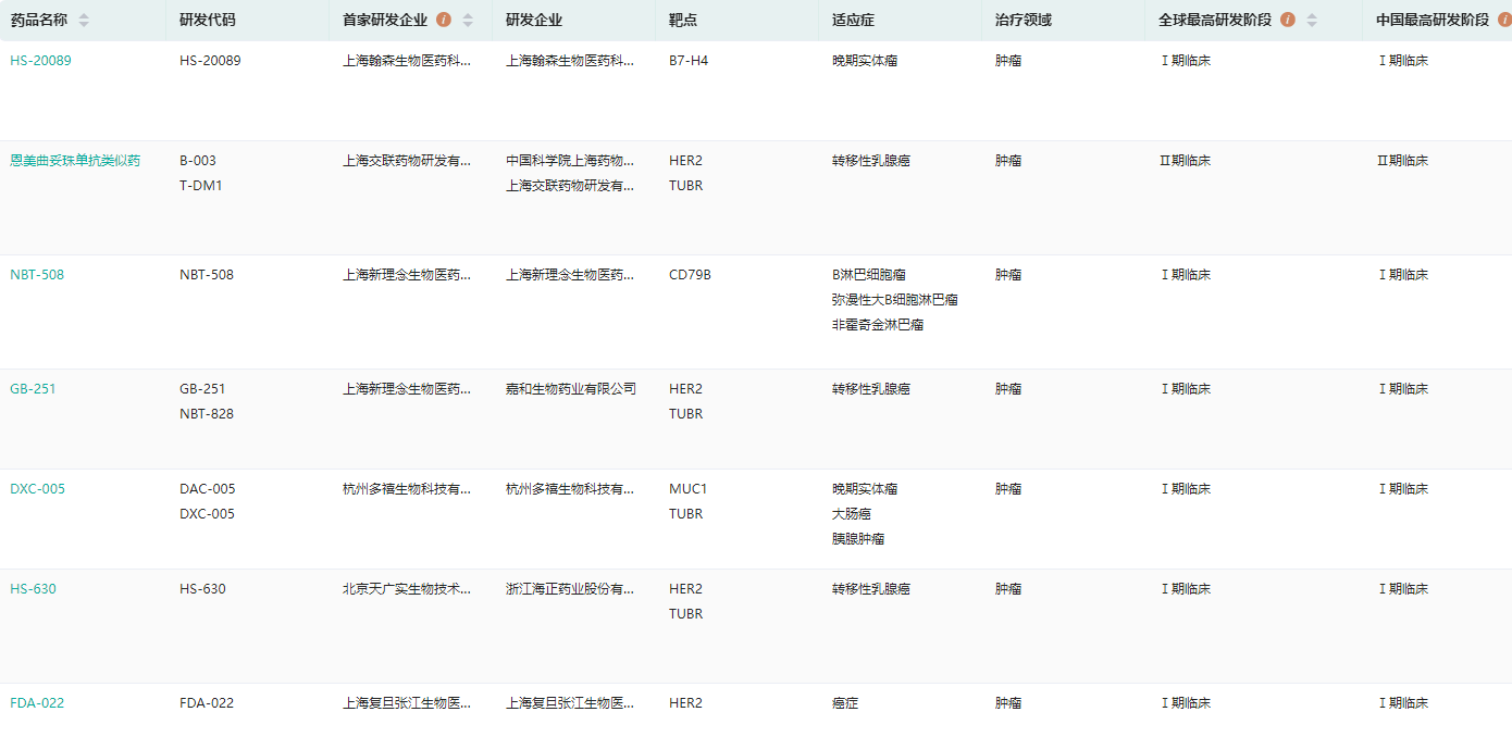
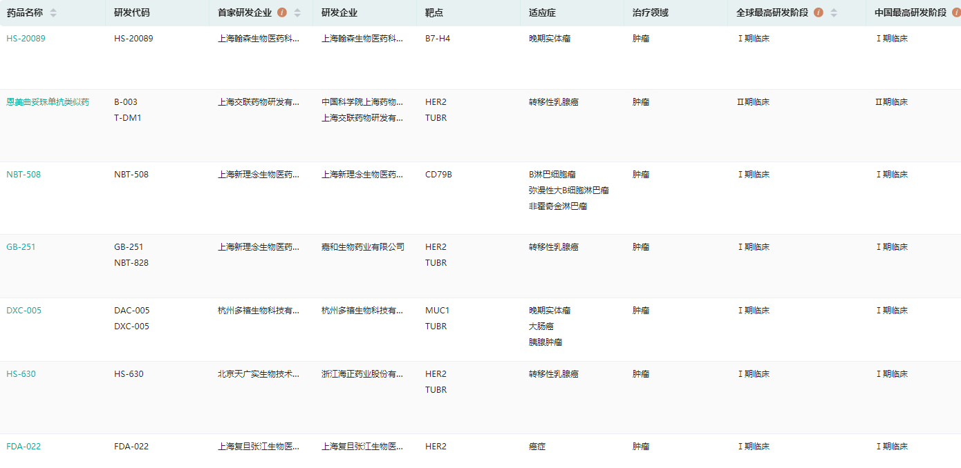
国内在研ADC药物信息查询(部分)

图片来源:药融云全球药物研发数据库
随着癌症病人的攀升和研发技术的不断突破,ADC药物受到资本和药企的追捧,成为创新药企的必争之地。从整个药物发展阶段来看,ADC药物获批数量快速增长,进入收获期。在火热的另一面则是竞争激烈,部分靶点赛道拥挤,尤其是明星靶点HER2。
以各靶点的药品数量进行排名,国内ADC药物靶点TOP5分别是:HER2、TUBR、TROP2、Claudin18.2、TOP。药融云数据库显示,位列榜首的HER2靶点有34个在研药物,TUBR靶点的在研药物有14个,TROP2靶点的在研药物有13个。
国内在研ADC药物靶点TOP10

图片来源:药融云全球药物研发数据库
ADC将抗体药物和化学药物结合,提高用药的准确性,并且能降低毒性,是未来医学发展方向。虽然目前ADC药物靶点扎堆严重,但国内也有部分ADC研发企业也在探索创新靶点,包括c-Met、间皮素、EGFR、B7H3、FRα、CD19、CD20、CD30等。国内ADC新药的研发竞争已经进入新时代,技术差异化的布局越来越积极,更多的原创性新技术在探索中。
想要解锁更多药物研发信息吗?查询药融云数据库(vip.pharnexcloud.com/?zmt-mhwz)掌握药物基本信息、市场竞争格局、销售情况与各维度分析、药企研发进展、临床试验情况、申报审批情况、各国上市情况、最新市场动态、市场规模与前景等,以及帮助企业抉择可否投入时提供数据参考!注册立享15天免费试用!

<END>








川公网安备51019002008863号
本网站未发布麻醉药品、精神药品、医疗用毒性药品、放射性药品、戒毒药品和医疗机构制剂的产品信息
收藏
登录后参与评论
暂无评论