
关注洞察生物医药、医疗器械及上下游行业投融资信息,让决策基于数据,发掘投资新风向。据药融云《全球在研新药与靶点月报》数据统计,2023年7月全球医药大健康行业共发生投融资事件242起,与上月数量比较减少15%,其中融资热度TOP3细分领域分别为医疗器械耗材、创新药、医疗/医药技术,本月融资事件发生数量分别为79起、78起、34起。

图片来源:药融云《全球在研新药与靶点月报》
国内医药大健康行业共发生投融资事件99起,与上月数量比较增加8%,其中医疗器械耗材热度最高,本月共发生融资事件45起,创新药次之(为29起),医药制造/服务、医疗/医药技术、医疗服务、其他发生数量分别为9起、6起、4起、6起。

图片来源:药融云《全球在研新药与靶点月报》
本月创新药大类中,生物药品、基因治疗为资本关注的热门赛道;从疾病领域来看,肿瘤为热门投融资疾病领域。从融资轮次来看,本月创新药大类涉及企业总体融资轮次靠前;从融资金额来看,诺洁贝生物、炎明生物、泰励生物、绿叶制药、加科思、先通医药、科伦博泰、鑫康合生物、迈格松生物9家企业在1亿元人民币以上。

图片来源:药融云《全球在研新药与靶点月报》
1. 绿叶制药集团有限公司
近日,绿叶制药发布公告,称完成发行1.80亿美元6.25%利率2028年到期可转换债券,认购协议所载发行债券的所有先决条件已获达成,且发行债券已顺利完成。预期债券于联交所上市及买卖许可将于2023年7月7日生效。
绿叶制药集团隶属于绿叶生命科学集团旗下,致力于创新药物的研发、生产和销售,30余个上市产品覆盖抗肿瘤、中枢神经系统、心血管、糖尿病等规模最大及增长速度最快的治疗领域;业务遍及中国、美国、欧洲、澳洲、日韩等全球主要医药市场及新兴市场。绿叶制药建立了与国际接轨的研发体系,在微球、脂质体、透皮释药和皮下植入剂等新型给药系统领域处于国际先进水平。
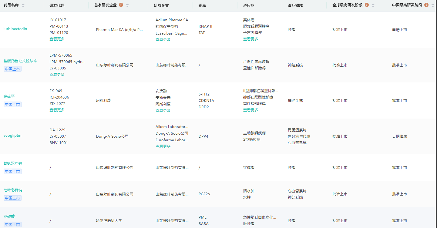
药融云数据库显示,截至目前,绿叶制药有7个创新产品成功在中国、美国和欧洲获批上市,包括lurbinectedin、盐酸托鲁地文拉法辛、喹硫平、evogliptin、甘氨双唑钠、七叶皂苷钠(天然产物)、亚砷酸;6款化学药,1款天然产物。
绿叶制药全球上市创新药查询

图片来源:药融云全球药物研发数据库
其中,化药1类创新药盐酸托鲁地文拉法辛(商品名:若欣林)于2022年11月获批上市,是国内首个自主研发并拥有自主知识产权用于治疗抑郁症的创新药。注射用甘氨双唑钠(商品名:希美纳)是绿叶制药自主研发的1类化学新药,用于配合多种实体肿瘤的放射治疗。也是国内唯一获药监局批准用于癌症放射治疗的敏化剂。
注射用七叶皂苷钠(商品名:麦通纳)的主要成分为七叶皂苷钠A和七叶皂苷钠B,是从七叶树科植物天师粟的干燥成熟种子中提取的一种含酯键的三萜皂苷。临床用于脑水肿、创伤或手术所致肿胀,也用于静脉回流障碍性疾病。
药融云数据库显示,目前国内七叶皂苷钠制剂的生产厂家有近20家,其中在医院端市场的Top10企业中,TOP4占据了超95%的市场份额,集中度较高。其中绿叶制药在医院端的市场占有率最高为61.44%,遥遥领先,其次是爱民制药占据21.32%、凯夫制药占据10.8%的市场份额。

图片来源:药融云全国医院销售(全终端)数据库
2. 北京加科思新药研发有限公司
2023年7月6日,加科思公布,公司全资附属公司加科思(香港)药业有限公司、公司间接全资附属公司北京加科思新药研发有限公司及王印祥博士近期与北京亦庄国际投资发展有限公司订立增资协议。根据增资协议,亦庄国投建议以现金出资人民币1.5亿元认购北京加科思的额外注册资本。于增资完成后,北京加科思将由加科思(香港)拥有约96.97%及由亦庄国投拥有约3.03%。
加科思是一家创新药物研发商,致力于针对恶性肿瘤、败血症两个项目的研发工作,下设合成室、分析室、制剂室、药理部、QA室、注册室、医学部等部门,为用户提供抗体新药、小分子口服抗肿瘤药JAB-3068等产品。
药融云全球药物研发数据库显示,目前加科思的研发项目有SHP2抑制剂(JAB-3068、JAB-3312)、KRAS G12C抑制剂(JAB-21822)、BET抑制剂(JAB-8263)、CD73抗体(JAB-BX102)和Aurora A抑制剂(JAB-2485),以及JAB-23400(KRAS multi抑制剂)、JAB-22000(KRAS G12D抑制剂)、JAB-23000(KRAS G12V抑制剂)、JAB-30000(P53抑制剂)等。
加科思在研项目研发阶段分布

图片来源:药融云全球药物研发数据库
3. 四川科伦博泰生物医药股份有限公司
2023年7月11日,四川科伦博泰生物医药股份有限公司正式以“6990”为股票代码在港交所主板挂牌上市。值得一提的是,科伦博泰通过本次IPO募集所得款项净额约12.589亿港元(假设超额配股权未获行使),这使其成为港股市场生物医药领域近两年来规模最大的IPO。
科伦博泰(科伦药业子公司)是一家创新药物研发商,专注于创新药业务的研发、生产和销售,备受市场关注的是其ADC药物(Antibody-drugConjugate,抗体偶联药物)管线。2017年,其第一个ADC产品A166实现中美双报,该药品拟用于HER2阳性乳腺癌、胃癌等恶性肿瘤的治疗。
科伦博泰投融资信息查询

图片来源:药融云医药投融资数据库
药融云数据库显示,科伦博泰的TROP2 ADC(skb264)、PD-L1(A167)、EGFR生物类似药(A140)处于II/III期关键性注册临床试验阶段,上市后有望加快商业化进程。
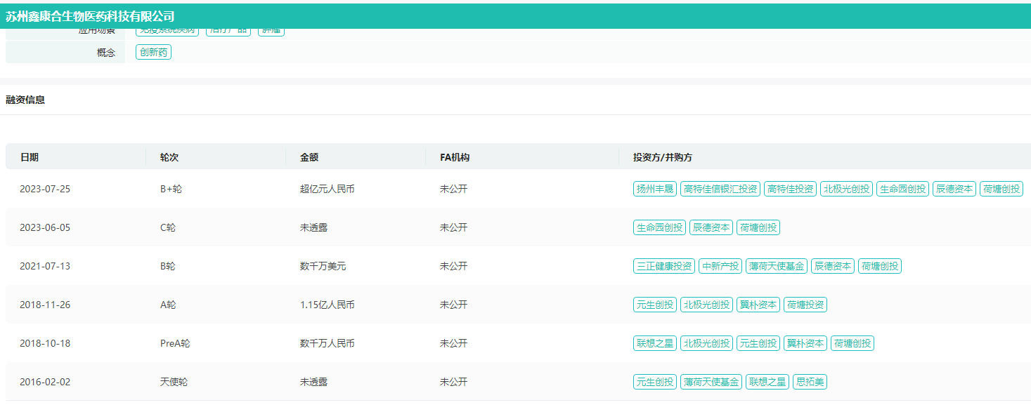
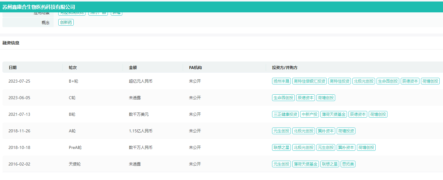
4. 苏州鑫康合生物医药科技有限公司
近日,鑫康合生物医药宣布完成超亿元新一轮融资,由苏州高特佳信银汇鑫基金领投,北京生命园创投、广州鑫泰、扬州丰晟等知名金融机构跟投,荷塘创新、北极光创投、辰德资本等老股东持续注资。本轮融资所募资金将主要用于推进临床试验及相关样品的生产,持续推进非临床药学研究及其他早期研发项目。药融云医药投融资数据库显示,截至目前,鑫康合生物医药已经完成了6轮融资。
鑫康合生物投融资信息查询

图片来源:药融云医药投融资数据库
鑫康合生物医药致力于肿瘤和自身免疫性炎症疾病全新靶点或者创新性组合的药物开发,引领创新性免疫治疗抗体药物研发。目前,拥有一批肿瘤免疫和自身免疫性疾病的丰富的产品管线。2017年,鑫康合首款用于治疗自身免疫性疾病的抗体药物以里程碑方式授权丽珠单抗生物技术有限公司开发,并于2020年2月拿到临床试验批件。
<END>
想要了解《全球在研新药与靶点月报》中更多医药投融资的详细信息,可以关注“药融云”公众号,后台回复“报告”关键词进行报告领取。








川公网安备51019002008863号
本网站未发布麻醉药品、精神药品、医疗用毒性药品、放射性药品、戒毒药品和医疗机构制剂的产品信息
收藏
登录后参与评论
暂无评论