
6月12日,据CDE官网显示,新一批受理品种中,乙酰半胱氨酸注射液再次刷新纪录!
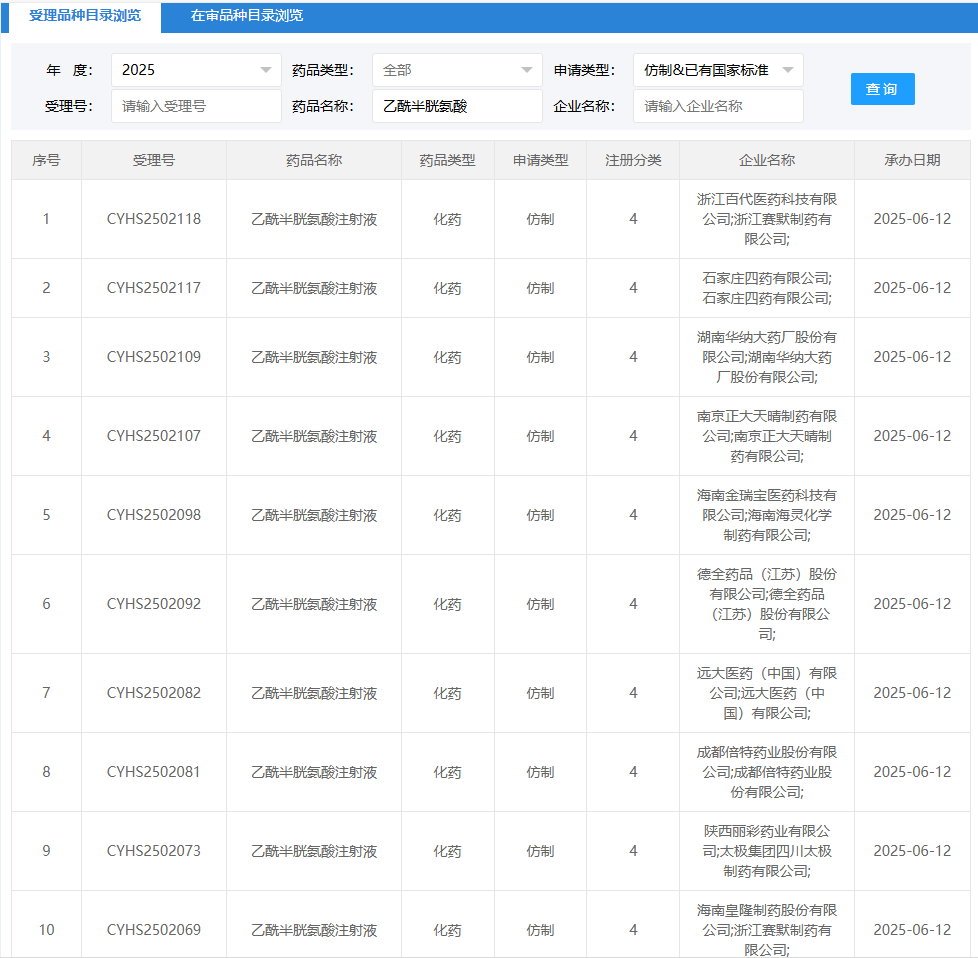
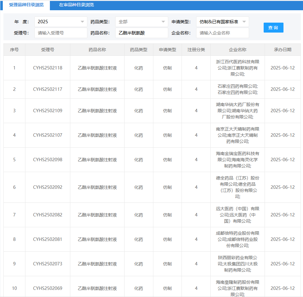
仅一日,便有10家企业以4类仿制化药提交了乙酰半胱氨酸注射液的上市申请,均获受理,其中包含石家庄四药、正大天晴、远大医药、倍特药业等众多知名药企。

截图来源:CDE官网
乙酰半胱氨酸注射液是氨基酸类药,主要的有效成分乙酰半胱氨酸(Acetylcysteine)是还原型谷胱甘肽的前体,其原研为意大利的赞邦制药(Zambon Group)。
赞邦于2018年申请临床,并在中国完成I期和III期临床,历时七年,2025年5月21日,乙酰半胱氨酸注射液原研在国内获批上市。

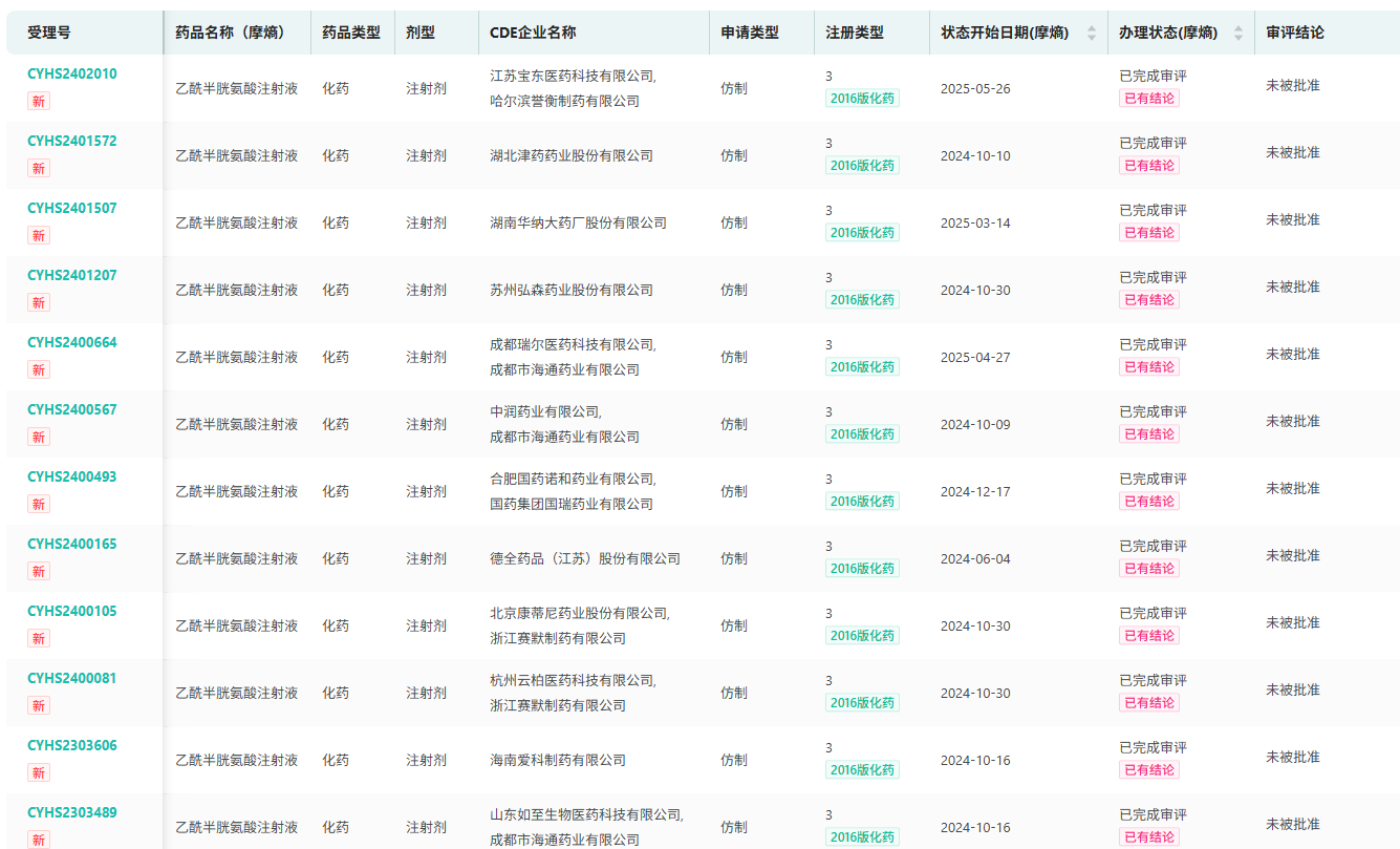
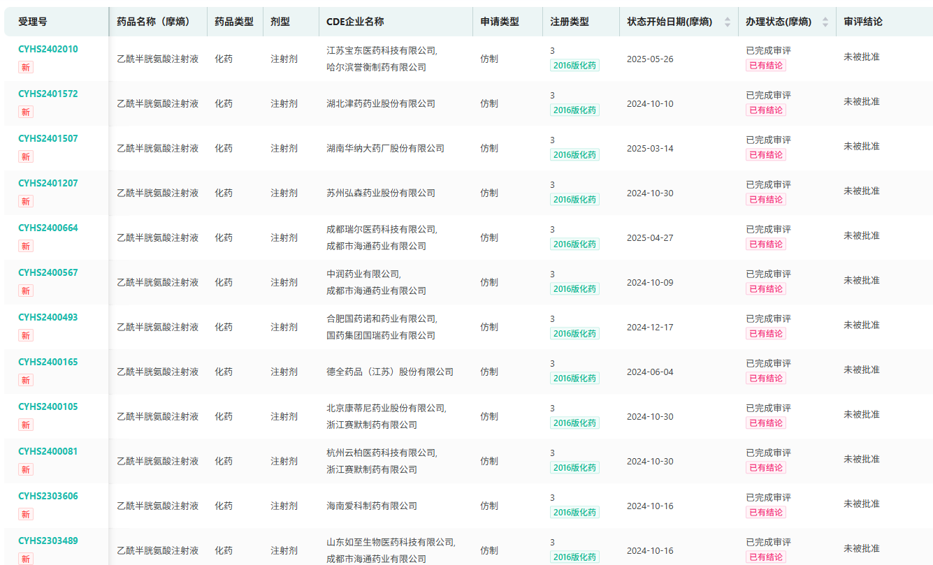
截图来源:摩熵医药中国药品审评数据库
原研在国内顺利获批上市,乙酰半胱氨酸注射液似乎再次燃起国内药企仿制热潮。仅21天时间,该品种申请上市的企业已达29家,激烈的市场竞争已拉开帷幕。
乙酰半胱氨酸注射液的销售额在2020年最高超过了10亿元。随着2021年3月1日的医保到期,最后撤出了医保,该品种的销售额从2021年起出现显著下降,但其市场潜力不容小觑。据摩熵医药数据库显示,该品种目前院内销售总额超66亿元,2024年度也有4.55亿元的销售额。












川公网安备51019002008863号
本网站未发布麻醉药品、精神药品、医疗用毒性药品、放射性药品、戒毒药品和医疗机构制剂的产品信息
收藏
登录后参与评论
暂无评论