
7月29日,国家药品监督管理局药品审评中心(CDE)官网更新显示,正大天晴药业集团自主研发的1类创新药吸入用TQC3721混悬液正式拟纳入突破性治疗品种,用于慢性阻塞性肺疾病(COPD)的维持治疗。

截图来源:CDE官网
COPD是一种以持续气流受限为特征的慢性呼吸系统疾病,被称为“沉默的杀手”。据世界卫生组织统计,COPD是全球第三大致死原因,每年导致超过300万人死亡。在中国,COPD患者数量超1亿,疾病负担沉重,已成为“健康中国2030”行动计划的重点防治项目。传统治疗方案以支气管扩张剂和吸入糖皮质激素(ICS)为主,但存在显著局限性:支气管扩张剂仅能缓解症状,无法抑制炎症进展;ICS长期使用可能增加肺炎、骨质疏松等风险,且对部分患者疗效有限。
2024年,全球首款PDE3/4双重抑制剂恩塞芬汀(Ensifentrine)在美国获批上市,终结了COPD治疗领域近20年无新机制药物的历史。其通过同时抑制PDE3(扩张支气管)和PDE4(抗炎),显著降低急性加重风险41%,推动治疗进入“去激素化”新阶段。然而,中国患者何时能用上同类药物,仍是未解之题。
正大天晴的TQC3721混悬液是全球第二款、中国首款进入关键临床阶段的PDE3/4双重抑制剂,通过同时抑制磷酸二酯酶3(PDE3)和磷酸二酯酶4(PDE4),实现了三大核心效应:一是支气管扩张,缓解呼吸困难,改善通气功能;二是抗炎作用,减少肺部炎症,延缓肺功能下降;三是增强黏液清除,改善气道阻塞,降低急性加重风险。

截图来源:摩熵医药全球药物研发数据库
临床前研究显示,其疗效优于单靶点药物,且安全性良好,无ICS相关副作用。TQC3721的临床优势体现在其覆盖了更广的人群,Ⅲ期临床研究额外纳入双支扩剂背景治疗患者,填补传统药物未满足的临床需求;干粉吸入剂型正在开发中(临床Ⅰ期),有望进一步提升患者用药依从性,尤其适合手口协调性差的老年患者;此外,研究显示TQC3721可显著改善单支扩剂和双支扩剂背景治疗患者的肺功能(FEV1提升超150ml)及症状评分(CAT评分下降≥2分),相关成果也已亮相2024年欧洲呼吸学会国际大会(ERS),这些数据都为TQC3721的审批提供了强有力的支撑。
值得一提的是,正大天晴将呼吸领域作为核心战略方向,正通过“仿创结合”模式加速全产业链布局:在技术平台层面,公司重点拓展混悬液、干粉等多剂型吸入制剂的研发与生产,构建覆盖全年龄段患者、适配复杂病情的差异化技术体系;在创新管线布局上,围绕PDE3/4、P2X3、ROCK2、TSLP等前沿靶点展开深度研发,形成针对COPD、哮喘、特发性肺纤维化(IPF)等重大未满足临床需求的创新产品矩阵;已上市产品矩阵中,吸入用布地奈德混悬液、噻托溴铵粉雾剂等核心品种持续保持着市场领先地位,其中吸入用布地奈德混悬液(商品名:天晴速畅)作为国内呼吸领域的重要突破,自2020年2月获批上市以来,迅速打破了阿斯利康原研药在中国市场长达20年的垄断格局。

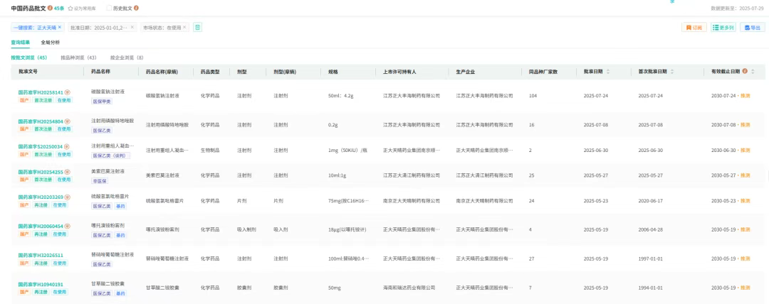
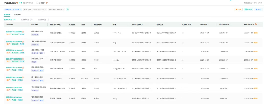
截图来源:摩熵医药-中国药品批文数据库
该产品是国内首个通过一致性评价的布地奈德吸入混悬液仿制药,其核心成分布地奈德为高效局部抗炎作用的糖皮质激素,通过雾化器给药,可替代或减少口服类固醇治疗,尤其适用于支气管哮喘及COPD患者的长期维持治疗。据摩熵医药全国医院(全终端)销售数据库显示,吸入用布地奈德混悬液在2024年全国院内(全终端)的销售额达41.45亿元,增长率为2.33%。除原研药企阿斯利康外,正大天晴占据了吸入用布地奈德混悬液在国内医院(全终端)最大的市场份额。









川公网安备51019002008863号
本网站未发布麻醉药品、精神药品、医疗用毒性药品、放射性药品、戒毒药品和医疗机构制剂的产品信息
收藏
登录后参与评论
暂无评论