
近日,据CDE官网公示,华润双鹤药业递交的司美格鲁肽注射液临床申请已获受理。这是第5家以2.2类申报该品种临床的本土药企。

截图来源:CDE官网
司美格鲁肽(曾用名:索马鲁肽)原研由诺和诺德开发,目前全球已获批的适应症包括2型糖尿病、减重等。2021年4月,Ozempic获FDA批准上市,同年5月,诺和诺德向美国FDA提交了标签扩展申请,引入2.0mg新剂量。在中国,诺和泰(Ozempic)于2021年4月获批用于治疗2型糖尿病,改善血糖控制。同年12月,该产品纳入国家医保乙类目录,为糖尿病患者减轻负担。
华润双鹤瞄准司美格鲁肽,百亿市场再添一员猛将
目前,司美格鲁肽已成为全球最畅销的降糖药物之一,2022年全球销售额超过100亿美元。据药融云数据统计,2022年糖尿病全国院内销售市场销售额已突破300亿。根据诺和诺德公告,2023年前三季度Ozempic在中国地区实现收入38.13亿丹麦克朗(约合40.03亿人民币)同比增长160%。

截图来源:药融云全国医院销售数据库
在国内院内市场,据药融云数据统计,司美格鲁肽注射液在2022年全国院内销售超12亿元,2023年销售额更是突破15亿元,同比增长达27.64%。这一数据显示,司美格鲁肽的临床效果受到了医生和患者的充分认可,一旦减肥适应症在国内获批,该药市场有望进一步快速提升。

截图来源:药融云全国医院销售数据库
司美格鲁肽是中国首个兼具降糖和保护心血管适应症的GLP-1周制剂,它在降低血糖、减轻体重和糖尿病心脑血管保护方面的作用已得到充分证实。相较于上一代降糖药,司美格鲁肽的突出优势在于其半衰期较长,可以实现1周给药1次,极大的提升了患者的依从性。
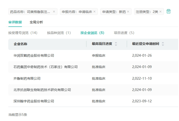
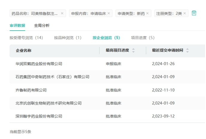
目前国内以2.2类申请并获批临床的有石药集团、齐鲁制药、北京抗创联生物制药、深圳翰宇药业。此次,华润双鹤药业也正式加入这一竞争激烈的领域,目前正处于临床申请阶段。这一新动态将为司美格鲁肽市场注入新的活力。

截图来源:药融云中国药品审评数据库
超10家药企争相布局,华润双鹤蓄势待发
国内众多药企正瞄准高潜力市场,纷纷布局司美格鲁肽注射液领域。目前已有超过10家药企布局,其中惠升生物、齐鲁制药、正大天晴药业、联邦生物、丽珠集团、石药集团、重庆派金生物等企业的产品已步入III期临床阶段。这一趋势表明,国内制药行业对这一领域的研发热情高涨,市场潜力巨大。

截图来源:药融云中国临床试验
在仿制药领域,目前华润双鹤有格列吡嗪控释片、二甲双胍格列吡嗪胶囊、盐酸二甲双胍片、二甲双胍格列本脲胶囊(Ⅰ)等14个品种获批。
<END>
要解锁更多企业药品研发信息吗?查询药融云数据库(vip.pharnexcloud.com/?zmt-mhwz)掌握药品各国上市情况、药品批文信息、销售情况与各维度分析、市场竞争格局、一致性评价情况、集采中标情况、药企申报审批信息、最新动态与前景等,以及帮助企业抉择可否投入时提供数据参考!注册立享15天免费试用!








川公网安备51019002008863号
本网站未发布麻醉药品、精神药品、医疗用毒性药品、放射性药品、戒毒药品和医疗机构制剂的产品信息
收藏
登录后参与评论
暂无评论