
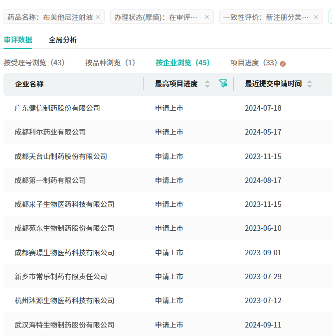
12月02日,据CDE官网公示,石家庄四药提交的布美他尼注射液上市申请已获受理。该品种是一款新型髓袢利尿剂,据摩熵医药数据库显示,布美他尼注射液在2023年全国院内的销售额超过3亿元。

截图来源:CDE
布美他尼由Validus Pharms公司研发,于1983年2月28日获FDA批准上市,属于一种新型髓袢利尿剂。主要用于治疗水肿性疾病、高血压、预防急性肾功能衰竭、高钾血症及高钙血症、稀释性低钠血症、抗利尿激素分泌过多症(SIADH)、急性药物毒物中毒等。据摩熵医药数据库显示,布美他尼注射液在2023年全国院内的销售额超过3亿元。










川公网安备51019002008863号
本网站未发布麻醉药品、精神药品、医疗用毒性药品、放射性药品、戒毒药品和医疗机构制剂的产品信息
收藏
登录后参与评论
暂无评论