
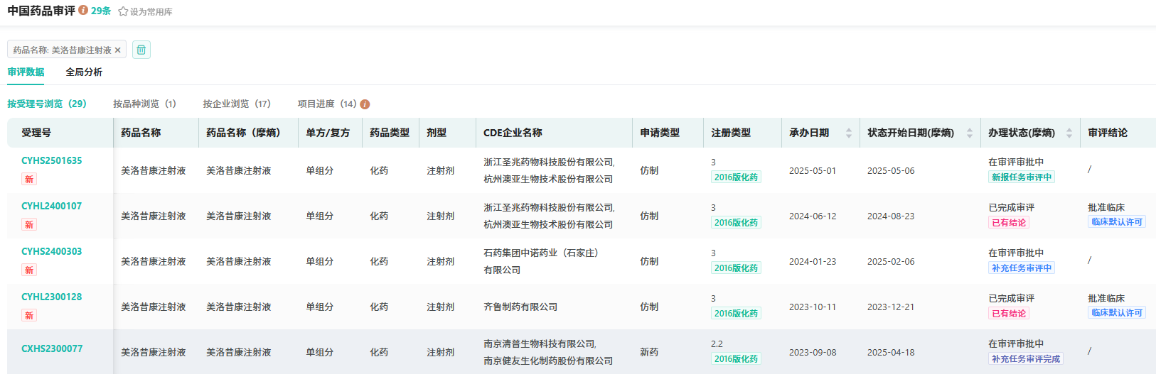
5月1日,CDE官网受理了浙江圣兆药物科技股份有限公司&杭州澳亚生物技术股份有限公司的美洛昔康注射液仿制上市申请。这是继石药集团中诺药业递交仿制药上市申请的第二家。

截图来源:CDE官网
美洛昔康(Meloxicam)是一种烯醇酰胺类的新型非甾体抗炎药(NSAIDs),是全世界较早上市的选择性COX-2抑制剂之一,具有较强的抗炎、镇痛、解热作用,同时不影响COX-1的活性,避免产生其它非甾体类抗炎药的消化道溃疡、出血及肾脏损伤等副作用。美洛昔康本身的水溶性较低,胃肠道吸收速度缓慢,需要在口服后5-6个小时才能达到最大血浆浓度,无法起到快速止痛的效果。于是,为了使美洛昔康快速发挥镇痛效果,美洛昔康注射液问世,该药最早于2001年在瑞士上市,2015年获批进入中国,主要用于类风湿性关节炎、疼痛性骨关节炎和强直性脊柱炎的治疗。
根据摩熵医药数据库-销售数据库显示,受2019年集采影响(美洛昔康片为第二批集采品种 ),美洛昔康销售额自2020年开始呈显著下降趋势,2021年后逐渐趋于稳定,2023年的销售额为4248.71万元,2024上半年销售额为1617.98万元。











川公网安备51019002008863号
本网站未发布麻醉药品、精神药品、医疗用毒性药品、放射性药品、戒毒药品和医疗机构制剂的产品信息
收藏
登录后参与评论
暂无评论