据摩熵医药数据,在贴膏剂产品排名中,氟比洛芬凝胶贴膏近年来稳居首位,面对如此广阔的市场,国内众多制药企业都心动不已,积极展开布局。

截图来源:摩熵医药全国医院销售(全终端)数据库
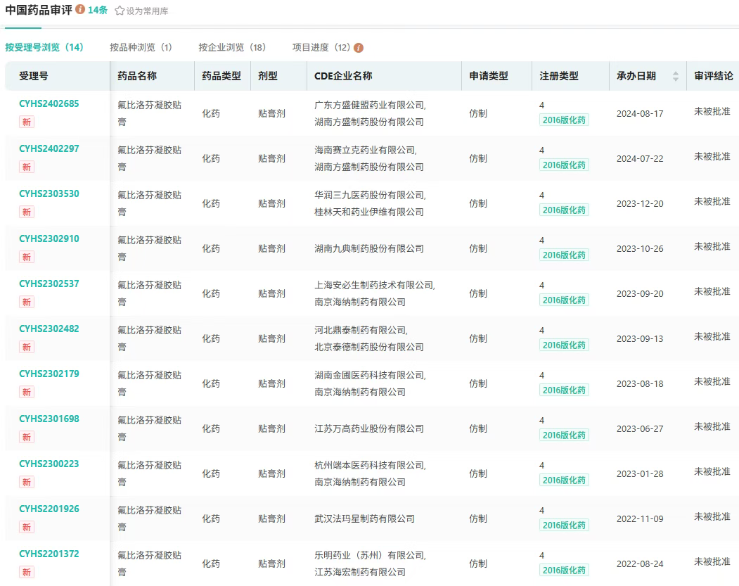
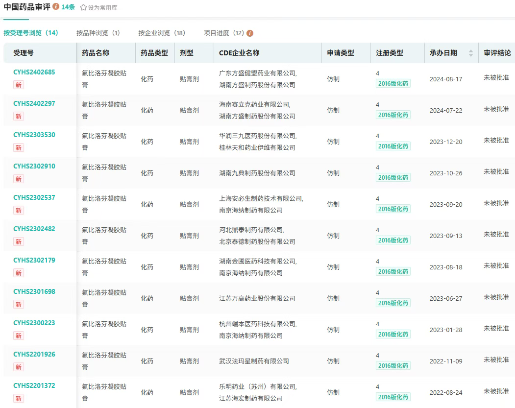
但由于其工艺复杂,仿制难度较大,自2020年至今的31条仿制申请上市的受理号中,14条被驳回,多家企业在首次申报时折戟沉沙。

截图来源:摩熵医药中国药品审评数据库
今年1月,武汉法玛星的的氟比洛芬凝胶贴膏获批上市,为国产第2家获批且首家视同过评,打破了北京泰德“一家独大”的局面,让众多布局的药企看到了上市曙光。6月30日乐明药业也顺利获批。

截图来源:摩熵医药中国药品批文数据库
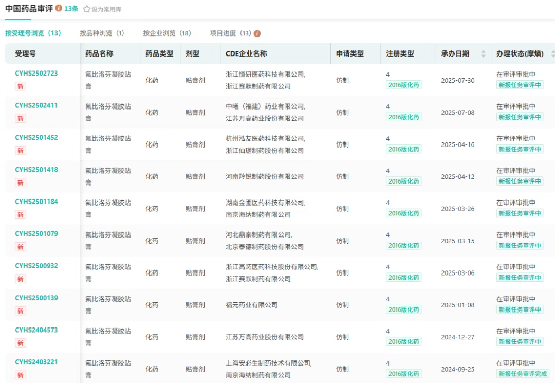
目前江苏万高药业、福元药业、南京海纳制药、北京百奥药业、湖南九典制药等18家企业的产品还在审评审批中。

截图来源:摩熵医药中国药品审评数据库
近年来,国产企业在凝胶贴膏仿制药领域的水平与技术显著提升,众多药企投身于该赛道。但受限于多重因素,我国当前仅上市了五款化药凝胶贴膏产品:氟比洛芬凝胶贴膏、利多卡因凝胶贴膏、酮洛芬凝胶贴膏、洛索洛芬钠凝胶贴膏及吲哚美辛凝胶贴膏。

截图来源:摩熵医药全国医院销售(全终端)数据库
尽管当前氟比洛芬凝胶贴膏的上市似乎暂遇波折,但国内化药凝胶贴膏品类走向多元化发展已是大势所趋。当更多品种成功落地后,行业将面临关键命题:化药贴膏是瞄准中药贴膏市场寻求增量,还是在同品类中内卷降价以进入集采?最终走向如何,不妨拭目以待。
想要解锁更多药物研发信息吗?查询摩熵医药(原药融云)数据库(vip.pharnexcloud.com/?zmt-mhwz)掌握药物基本信息、市场竞争格局、销售情况与各维度分析、药企研发进展、临床试验情况、申报审批情况、各国上市情况、最新市场动态、市场规模与前景等,以及帮助企业抉择可否投入时提供数据参考!注册立享15天免费试用!

收藏
登录后参与评论
暂无评论