据悉,盐酸羟考酮原研厂家为普渡制药,最早于2003年在英国上市;NMPA在2004年11月批准进口了萌蒂制药/Napp制药(普渡制药关联公司)的盐酸羟考酮缓释片(商品名:奥施康定);2021年6月,国家药监局又批准了普渡制药的第二代防滥用版本的盐酸羟考酮缓释片。
摩熵医药数据库显示,除了原研企业,目前国内有3家本土药企获得了盐酸羟考酮缓释片的生产批件,分别是宜昌人福药业、合肥立方制药、西南药业(太极集团子公司)。此外,还有2家企业提交上市申请,分别是江苏恩华药业与北京华素制药,目前均处于在审评审批中。
盐酸羟考酮缓释片仿制药审评进度

图片来源:摩熵医药中国药品审评数据库
宜昌人福药业的盐酸羟考酮缓释片于2022年9月获批上市,为“国内首仿+首家过评”。值得关注的是,企业在递交上市申请时同步提交了针对原研企业普渡制药的专利挑战声明,随即普渡制药向国家知识产权局提出行政裁决请求。
经6个月审理,国家知识产权局最终判定宜昌人福药业仿制药的技术方案未落入普渡制药的专利保护范围,该品种由此成为我国实施专利链接制度后首个成功挑战原研专利并获批上市的案例。但由于原研专利未被宣告无效,人福药业未能获得该首仿药的市场独占期。
从2023年医院终端市场的企业竞争格局来看,原研Napp Pharmaceuticals占据主要市场份额,达98.80%;宜昌人福药业排名第二,占比1.09%,其2024年上半年销售额增速达到90.89%。

图片来源:摩熵医药全国医院销售(全终端)数据库
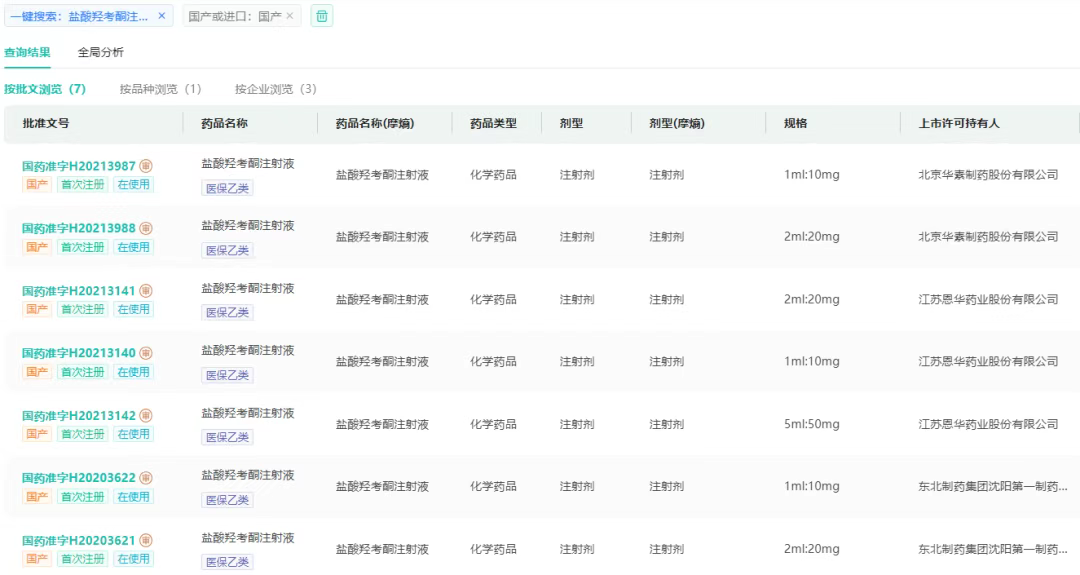
摩熵医药数据库显示,目前国内已获批上市的盐酸羟考酮剂型包括注射剂、胶囊剂、片剂,其中片剂最多,均为国家医保目录乙类药品。其中,盐酸羟考酮注射液有东北制药(首家过评)、恩华药业、华素制药3家药企拥有生产批文;而盐酸羟考酮胶囊还没有仿制药上市。
盐酸羟考酮注射液仿制药生产批文

图片来源:摩熵医药中国药品批文数据库
小结
随着恩华药业申报的盐酸羟考酮缓释片上市申请获受理,国内阿片类镇痛药物市场的竞争格局再添变数。作为癌痛治疗一线用药,该品种虽经历 2023 年销售额骤降,但2024年已显回暖迹象。尽管原研企业仍以98.8%的份额垄断市场,但随着更多本土药企的入局,或将加速国产替代进程。
想要解锁更多药企信息吗?查询摩熵医药(原药融云)数据库(vip.pharnexcloud.com/?zmt-mhwz)掌握药企公司基本信息、投融资情况、产品管线分布、药物销售情况与各维度分析、药物研发情况、年度报告、最新进展动态、临床试验信息、市场规模与前景等,以及帮助企业抉择可否投入时提供数据参考!注册立享15天免费试用!

收藏
登录后参与评论
暂无评论