
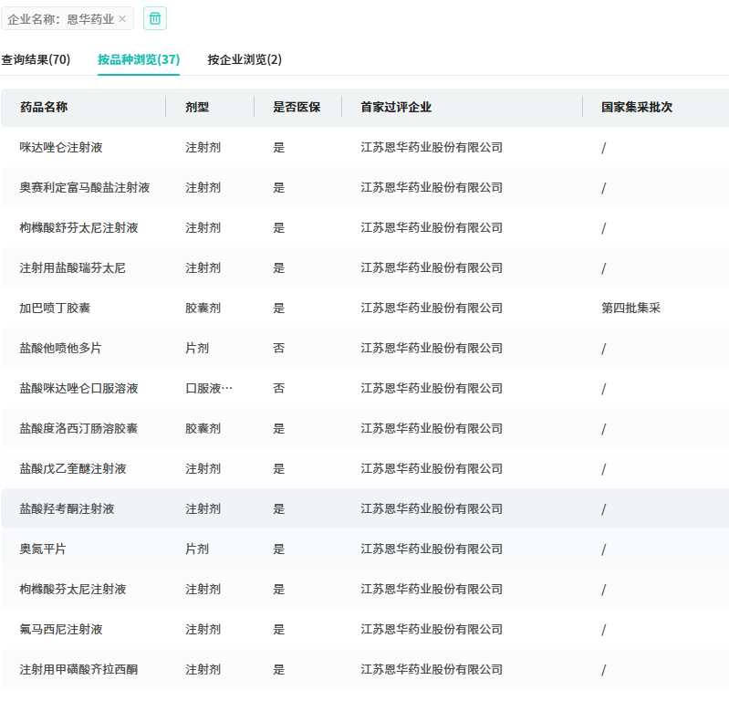
1月22日,国家药监局(NMPA)官网显示,江苏恩华药业按化药3类申报的 右酮洛芬氨丁三醇注射液 获批上市,并视同通过一致性评价。至此,国内该品种过评企业增至两家——2023年5月南京正科医药拿下首仿后,恩华药业此次获批成为国内第二家,进一步点燃解热镇痛注射液的国产替代战火。

截图来源:NMPA
一、暴涨270%的重磅品种:围术期镇痛刚需赛道扩容
右酮洛芬氨丁三醇注射液 是一款非甾体抗炎镇痛药(NSAIDs),通过抑制COX-1和COX-2活性发挥作用,主要用于成人不适合口服给药的急性中度至重度术后疼痛,可作为阿片类药物的辅助用药。其核心优势在于镇痛效果确切且安全性良好,能显著减少术后阿片类药物用量,降低成瘾风险。
该品种原研为意大利美纳里尼集团,最早于2002年获HMA(欧洲)批准上市, 尚未进入国内。南京正科医药在2023年5月拿下首仿后,市场快速放量:据摩熵医药数据库显示,2025年前三季度全终端院内市场销售额已超3亿元,同比暴增270.11%,成为围术期镇痛领域增速最快的品种之一。










川公网安备51019002008863号
本网站未发布麻醉药品、精神药品、医疗用毒性药品、放射性药品、戒毒药品和医疗机构制剂的产品信息
收藏
登录后参与评论
暂无评论