
据CDE官网最新显示,江苏恩华药业递交了拉考沙胺注射液上市申请并获受理。此前该20$抗癫痫药已有青峰药业、石药欧意获批上市,陆续也有企业仿制药申报上市,截至目前有近十家,国产仿制药第3家随时可能决出。

截图来源:CDE官网
拉考沙胺(lacosamide),也叫拉考酰胺,原研来自比利时优时比子公司施瓦茨法姆制药公司( Schwarz Pharma),最早于 2008 年 9 月率先在欧盟获批上市,商品名为 Vimpat,是具有双重机制作用的抗惊厥药物,用于治疗癫痫和神经性疼痛。据药融云统计,拉考沙胺2021年全球销售额超20亿美元,保持稳定增长。在国内,由于基数相对较小,拉考沙胺注射液2022年上半年院内销售额已较2021年增长814%,增幅明显。
拉考沙胺全球销售情况

截图来源:药融云全球药物研发数据库
在国内,拉考沙胺已有口服液、片剂和注射液获批生产,其中,拉考沙胺注射液原研最早于2019年12月获批。2020年11月,江西青峰药业的拉考沙胺注射液以3类化药获批上市,成为了同时拿下拉考沙胺片剂和注射液国产仿制药首家的企业。后石药欧意获批,成为第二家获批生产拉考沙胺注射液的企业。
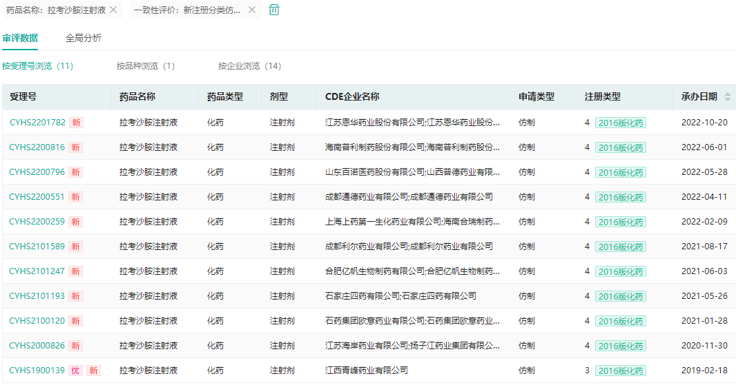
除了此次仿制药申报上市的江苏恩华药业外,还有江苏海岸药业/扬子江、石家庄四药、合肥亿帆生物、成都利尔药业、上海上药/海南合瑞制药、成都通德药业、山东百诺医药/山西普德药业和海南普利制药等多家企业递交了4类化药上市申请,尚在审评审批中。预计不久后,拉考沙胺注射液将迎来国产仿制药的密集过评。
拉考沙胺注射液国产仿制药申报上市情况

截图来源:药融云中国药品审评数据库
参考来源:
[1]CDE官网
[2] 药融云数据库
想要解锁更多仿制药信息吗?查询药融云数据库(vip.pharnexcloud.com/?zmt-mhwz)掌握仿制药国内市场格局、上市情况、一致性评价、销售情况与各维度分析、企业申报情况、国家审批最新进展、集采情况、价格信息、市场规模与前景等,以及帮助企业抉择可否投入仿制时提供数据参考!注册立享15天免费试用!

—END—







川公网安备51019002008863号
本网站未发布麻醉药品、精神药品、医疗用毒性药品、放射性药品、戒毒药品和医疗机构制剂的产品信息
收藏
登录后参与评论
暂无评论