
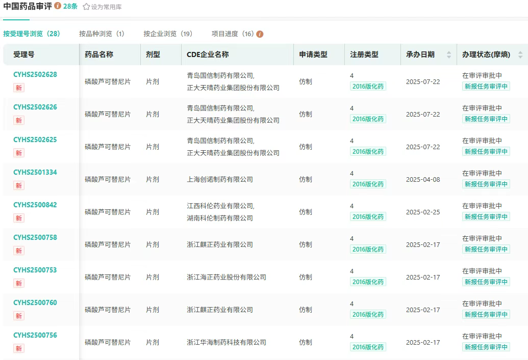
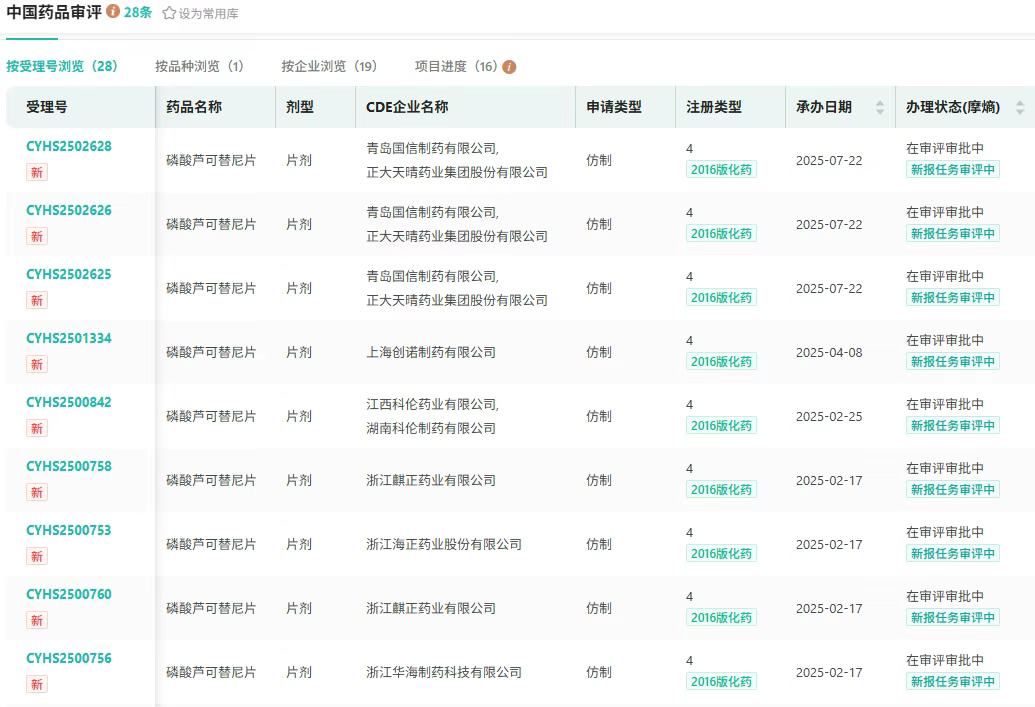
8月15日,CDE官网显示,齐鲁制药有限公司按4类化药注册申报的磷酸芦可替尼片上市申请已获受理。据摩熵医药数据库显示,该药物2024年全球销售额超47亿美元,齐鲁制药将参与国产仿制第二家的角逐。

截图来源:CDE官网
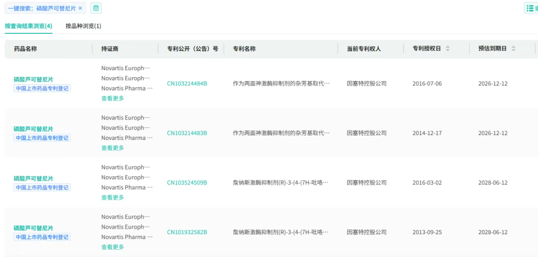
芦可替尼是一款first-in-class JAK1/JAK2抑制剂,由Incyte开发且由诺华合作商业化,用于治疗中危或高危的骨髓纤维化、移植物抗宿主病等多项病症,最早于2011年11月在美国获批上市。

截图来源:摩熵医药全球药物研发数据库
自上市以来,芦可替尼的市场表现抢眼,销售额逐年攀升。摩熵医药数据显示,2022年芦可替尼的全球销售额近40亿美元,领跑JAK抑制剂赛道。2023年攀升至43.14亿美元,2024年达到47.28亿美元,增长势头稳健。

截图来源:摩熵医药全球药物研发数据库
诺华公司的磷酸芦可替尼片,于2017年3月通过优先审评程序在国内获批上市。2019年纳入国家医保后,其销量快速攀升。2020年该品种在我国院内市场销售额成功突破2亿大关,2023年增长至5.53亿元;2024年同比递增16.11%,达到6.42亿元,市场表现持续向好。














川公网安备51019002008863号
本网站未发布麻醉药品、精神药品、医疗用毒性药品、放射性药品、戒毒药品和医疗机构制剂的产品信息
收藏
登录后参与评论
暂无评论