
11月15日,CDE受理了先声药业递交的4类化药哌柏西利胶囊的仿制药上市申请。目前,该品种已有十余家药企仿制药申报上市,并有齐鲁制药、豪森药业、江西山香药业等已获批。据悉,该品种的原研专利在国内将于一个多月后到期,现已遭疯抢,有多家药企陆续递交仿制药上市申请,可以预见,此后市场竞争将愈发激烈。

截图来源:CDE官网
哌柏西利(Palbociclib)原研来自辉瑞(商品名:Ibrance),2015年2月,辉瑞Ibrance通过加快审评在美国获FDA 批准上市,成为全球上市的首个CDK4/6抑制剂。上市后其全球销售额每年均呈稳定增长,为辉瑞带来相当丰厚的收益,2020年Ibrance全球销售额突破50亿美元大关,2021年稳定增长至54亿美元。
与哌柏西利在全球的炙手可热不同,在国内的市场还较为低浅,有待开拓。
2018年7月,原研哌柏西利获NMAP批准在国内上市,用于联用芳香化酶抑制剂作为初始内分泌疗法治疗HR+/HER2- 局部晚期或转移性乳腺癌。据药融云统计,哌柏西利胶囊近年来在我国院内的销售额虽平稳,但总体金额不大,市场有待开拓。2021年销售额近9千万元,期待今年能突破亿元大关。

截图来源:药融云全国医院销售数据库
值得一提的是,2019-2021年,辉瑞的哌柏西利均“提名”医保目录,但最终均未顺利进入医保。
专利到期在即,齐鲁制药、豪森药业、山香药业蓄势待发
据悉,原研哌柏西利在中国的化合物专利将于2023年1月10日到期,已不足2月,相关药企早已布局,陆续还有药企递交仿制药上市申请。
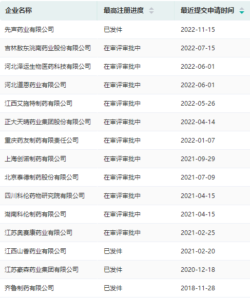
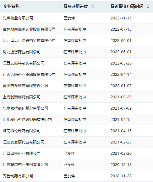
目前,齐鲁制药已于2020年12月拿下国内首仿,后江苏豪森药业、江西山香药业等2家企业陆续获得生产批文,原研专利到期后,国产哌柏西利将为临床提供更多选择。另有科伦药业、药友制药以及此次的先声药业等十余家已递交仿制药上市申请,均已获CDE受理,现在审评审批中。
哌柏西利胶囊的新注册分类仿制药申报概况(微信搜索"药融云小程序"进行相关更多数据查询)

截图来源:药融云中国药品审评数据库
此外,齐鲁制药今年4月递交了哌柏西利片的3类仿制药上市申请,尚在审评审批中;8月,原研辉瑞的哌柏西利片获NMPA批准在国内上市。另有石药欧意已完成哌柏西利片的BE试验。
参考来源:
[1]CDE官网
[2] 药融云数据库
想要解锁更多仿制药信息吗?查询药融云数据库(vip.pharnexcloud.com/?zmt-mhwz)掌握仿制药国内市场格局、上市情况、一致性评价、销售情况与各维度分析、企业申报情况、国家审批最新进展、集采情况、价格信息、市场规模与前景等,以及帮助企业抉择可否投入时提供数据参考!注册立享15天免费试用!

—END—







川公网安备51019002008863号
本网站未发布麻醉药品、精神药品、医疗用毒性药品、放射性药品、戒毒药品和医疗机构制剂的产品信息
收藏
登录后参与评论
暂无评论