近日,“中药创新龙头”以岭药业发布公告,其1类新药XY0206片用于治疗FLT3-ITD突变的复发/难治性急性髓系白血病的Ⅲ期临床试验方案完成国家药品监督管理局药品审评中心(CDE)药物临床试验登记与信息公示平台的登记与公示,可以启动Ⅲ期临床试验工作。

截图来源:以岭药业企业公告
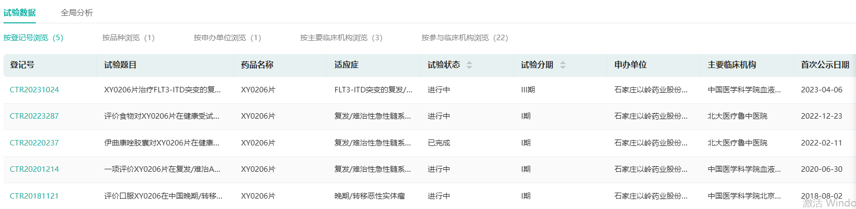
此前,XY0206片已先后在中国晚期/转移恶性实体瘤患者中以及复发/难治急性髓系白血病患者中开展了对本品的安全性和耐受性、药代动力学特征、初步疗效的I期研究,并完成了伊曲康唑胶囊与XY0206片的药物相互作用及饮食对XY0206片影响的两项临床研究。
本次III期临床是为确证XY0206片治疗FLT3-ITD突变的复发/难治性急性髓系白血病的有效性和安全性。受试者数量计划312例。
XY0206片在国内开展的临床试验情况

截图来源:药融云中国临床试验数据库
长期以来,以岭药业重点布局中医药板块,是中药行业中的代表性企业,地位举足轻重。在2022年中药企业竞争力排行榜中,以岭药业以其自身的研发实力和专业推广实力再次荣膺“中国中药企业TOP100”榜单,位列第六。作为国内研发能力和销售能力领先的中药创新龙头,以岭药业现已拥有莲花清瘟胶囊/颗粒、通心络胶囊、参松养心胶囊等多款明星单品。2021年获批的解郁除烦胶囊和益肾养心安神片已通过医保谈判进入国家医保目录,有望实现快速放量。
经药融云数据库查询显示,目前以岭药业还有一款中药创新药已申报上市,现在审评审批中。2022年9月2日,以岭药业递交的芪黄明目胶囊上市申请获药审中心承办,该新药用于治疗糖尿病视网膜病变,有望成为国内首款眼科中药1类新药。
除了中药创新药,以岭药业还在多个治疗领域布局了化药/生物药创新药。
以岭药业部分在研1类新药

数据来源:药融云数据库
化药方面,目前已有至少4款新药进入临床及以上阶段,其中非甾体类镇痛药苯胺洛芬注射液进展最快,III期临床已完成,正筹备申报上市,有望成为新药品注册管理办法实施以来,以岭药业首个获批上市的化药1类新药。
BIO-008则是以岭药业首个生物药1类新药,拟用于治疗晚期实体瘤。这是一款Claudin18.2抗体,通过抗体和补体依赖介导的细胞毒性作用,诱导细胞凋亡、抑制肿瘤细胞增殖,杀伤Claudin18.2阳性肿瘤细胞。该产品体内外活性和安全性良好,具有较高的临床开发价值。
参考来源:
[1] 药融云数据库
[2] 以岭药业官方披露
想要解锁更多药企信息吗?查询药融云数据库(vip.pharnexcloud.com/?zmt-mhwz)掌握药企公司基本信息、投融资情况、产品管线分布、药物销售情况与各维度分析、药物研发情况、年度报告、最新进展动态、临床试验信息、市场规模与前景等,以及帮助企业抉择可否投入时提供数据参考!注册立享15天免费试用!

<END>








浙公网安备33011002015279
本网站未发布麻醉药品、精神药品、医疗用毒性药品、放射性药品、戒毒药品和医疗机构制剂的产品信息
收藏
登录后参与评论
暂无评论