
据外媒报道,强生旗下的杨森公司打算关闭位于莱顿的大部分传染病和疫苗部门,母公司强生希望杨森更多地关注癌症,心脏和动脉疾病的新治疗方法。
一位发言人在《电讯报》的报道后证实,公司究竟想要如何解决这个问题,以及有多少工作岗位面临风险,目前还没有决定。她强调,除其他事项外,这些计划仍然必须通过工作委员会。

杨森在莱顿雇佣了大约2500人。其中四分之一(625人)属于传染病和疫苗部门,而这个部门现在正处于危险之中。几个研究项目也属于这个部门。无论如何,杨森希望继续开展一项旨在防止感染性大肠杆菌感染的项目。公司还打算更多地专注于预计对患者产生最重大影响的治疗。这包括肿瘤学和心血管疾病的治疗。
强生目前市值4276 亿美元。根据强生2023Q2的财报显示,以固定汇率计算(下同),总收入同比增长7.5%,达到255亿美元。所有业务部门的业绩都有所增长,杨森制药同比增长3.8%,达到137亿美元(如果剔除新冠疫苗销售额,则增长8.9%)。

杨森在冠状病毒大流行期间备受关注,因为它开发了一种只需注射一次的Covid疫苗,据说效果很快。这导致了卫生部长Hugo de Jonge以”与杨森共舞“的口号推广了疫苗,以向年轻人推广疫苗接种。
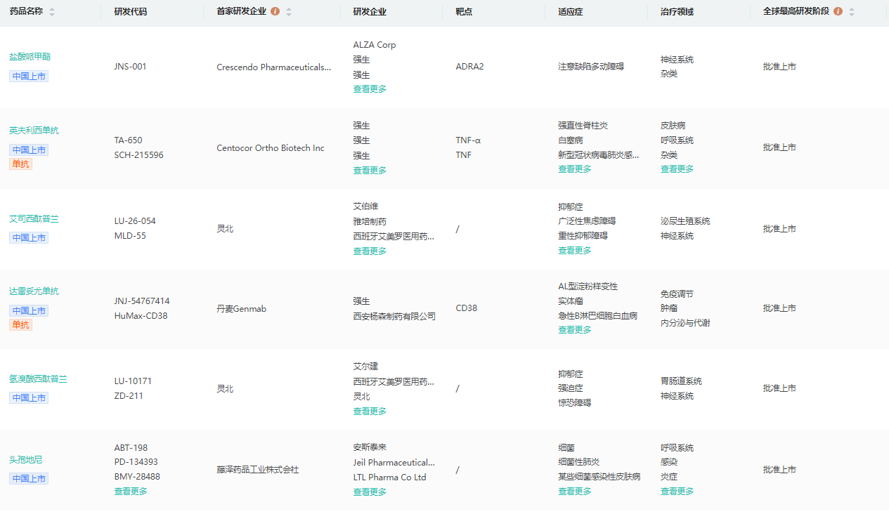
公司研发管线查询(部分)

截图来源:药融云全球药物研发数据库
然而,在实践中,疫苗并没有立即生效,冠状病毒感染出现了高峰。后来,荷兰停止使用杨森疫苗。
参考资料:
1.公司官网
2.药融云数据库
<END>
要解锁更多企业药品研发信息吗?查询药融云数据库(vip.pharnexcloud.com/?zmt-mhwz)掌握药品各国上市情况、药品批文信息、销售情况与各维度分析、市场竞争格局、一致性评价情况、集采中标情况、药企申报审批信息、最新动态与前景等,以及帮助企业抉择可否投入时提供数据参考!注册立享15天免费试用!








川公网安备51019002008863号
本网站未发布麻醉药品、精神药品、医疗用毒性药品、放射性药品、戒毒药品和医疗机构制剂的产品信息
收藏
登录后参与评论
暂无评论