
近日,天士力医药集团旗下子公司的培重组人成纤维细胞生长因子21注射液(简称“B1344注射液”)用于非酒精性脂肪性肝炎(NASH)的临床申请获药监局批准。
药融云数据库显示,B1344注射液于2022年1月被美国FDA批准进入临床试验,适应症是非酒精性肝炎(NASH);同年9月,B1344用于2型糖尿病用药的临床申请获药监局批准。
B1344注射液是由天士力生物研究开发的用于治疗非酒精性脂肪性肝炎(NASH)和2型糖尿病(T2DM)的创新生物药,是聚乙二醇化的重组人成纤维细胞生长因子21突变体(PEG-rhmFGF21)。目前,全球范围内尚无与B1344注射液同靶点药物上市。
B1344注射液获批临床审评时间轴(可订阅)

图片来源:药融云中国药品审评数据库
B1344临床前动物药效实验结果显示,B1344可以显著降低模型动物的肝脏脂肪变性、气球样变性和肝小叶炎症程度,改善非酒精性脂肪性肝病活动度积分评分和纤维化,降低血清谷丙转氨酶及谷草转氨酶水平,提示B1344在NASH患者中具有类似的临床获益潜力。
第一大慢性肝病,NASH或成下个百亿新药
非酒精性脂肪性肝病(NAFLD)是全球肝病的主要病因,全球NAFLD的流行率约为25%。近年来其患病率和发病率不断增高,发病年龄也出现低年龄化趋势,该疾病已取代慢性乙型肝炎成为第一大慢性肝脏疾病。
NAFLD两种常见的临床表现为非酒精性脂肪肝(non-alcoholic fatty liver,NAFL,又称单纯性脂肪肝)和非酒精性脂肪性肝炎(non-alcoholic steatohepatitis,NASH),NASH约占NAFLD的45%-50%。与NAFL患者相比,NASH患者进展到晚期肝病(包括肝失代偿和肝细胞癌)的几率更高。
NASH是肝细胞癌最常见的潜在风险因素,是肝移植以及导致肝脏相关死亡的主要原因之一。此外,NASH患者的心血管不良事件风险以及其他代谢性疾病发病率较普通人群显著增加。
目前,全球范围内尚无获批用于治疗NASH适应症的药物。NASH药物研发的难点很大程度上源于NASH复杂的致病机制——涉及多条通路、多个靶点、多种细胞交叉相互作用,目前并没有找出最具说服力的主要致病机理。
全球NASH药物研发靶点TOP10

图片来源:药融云全球药物研发数据库
自1980年NASH被发现以来,相关靶向药物的研发一直未能突围,吉利德、诺华、辉瑞等头部药企纷纷布局,最后又相继落败。据弗若斯特沙利文预测,到2025年治疗NASH药物的市场容量将超过100亿美元,其中2016-2025年复合增长率可达20.19%。
首款NASH新药上市遇阻,中国药企能否“弯道超车”
凭借NASH领域巨大的临床需求和治疗空白,全球仍有众多药企纷纷布局研发NASH药物。据药融云数据库统计,目前全球有超过200个处于活跃状态的NASH新药项目在研。
今年5月,Intercept的奥贝胆酸非酒精性脂肪性肝炎(NASH)适应症上市申请遭FDA推迟。奥贝胆酸一度被认为是最有望获批成为FDA批准的首个NASH适应症药物,此次被否决加速批准并推迟审批,或意味着NASH药物赛道将重新开始“第一名”的角逐。
奥贝胆酸NASH适应症全球研发进度

图片来源:药融云全球药物研发数据库
而继奥贝胆酸之后,罗氏/Madrigal的THR-β激动剂Resmetirom成为了最有希望打破NASH药物市场空白的选手。Madrigal于2023年上半年已提交了Resmetirom用于非肝硬化NASH伴肝纤维化治疗的新药上市申请。
此外,长效FGF21类似物Efruxifermin、PPAR亚型激动剂Lanifibranor、SCD1抑制剂Aramchol、GLP1受体激动剂Semaglutide(司美格鲁肽)、抗纤维化半乳糖凝集素-3抑制剂等等,也被认为是可能在NASH领域取得重磅突破的药物。药融云数据库显示,目前这些药物均处于III期临床研究阶段。
目前,国内已有歌礼制药、拓臻生物、众生药业、君圣泰、四环医药、石药集团、微芯生物、基石药业、华东医药等近20家企业布局研发NASH药物,能否发起冲锋实现“弯道超车”呢?
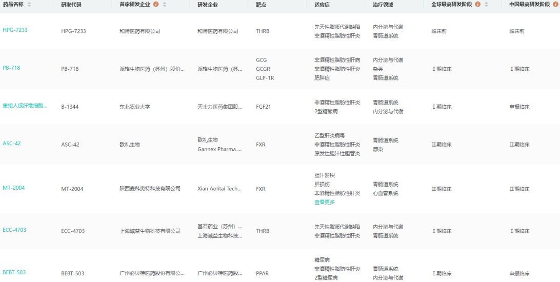
国内企业研发NASH药物管线进度查询(部分)

图片来源:药融云全球药物研发数据库
药融云数据库显示,目前国内企业对于NASH适应症的药物开发,进度较快的品种有君圣泰的HTD1801、众生药业的ZSP-1601、拓臻生物的TERN-101等,最高阶段进入到临床II期;而进入到临床I期的品种有十余个,包括歌礼制药的ASC-42、麦科奥特的MT-2004、基石药业/诚益生物的ECC-4703等等。
此外,正大天晴的TQA3563、石药集团的SYHA1805、雅创医药的HPG-1860、圣和药业的SH-2442、豪森药业的HS-10356等均进入临床试验阶段。
NSAH,是近些年药物开发极为火热的领域之一,同时也伴随着极高的临床失败率。但我们相信,一个奥贝胆酸倒了,无数个“奥贝胆酸”正在赶来的路上。拥有百亿市场的NASH,出路在哪里?曙光与寒意并存,谁将成为NASH药物赛道“上市第一名”,让我们拭目以待。
<END>
要解锁更多企业药品研发信息吗?查询药融云数据库(vip.pharnexcloud.com/?zmt-mhwz)掌握药品各国上市情况、药品批文信息、销售情况与各维度分析、市场竞争格局、一致性评价情况、集采中标情况、药企申报审批信息、最新动态与前景等,以及帮助企业抉择可否投入时提供数据参考!注册立享15天免费试用!








浙公网安备33011002015279
本网站未发布麻醉药品、精神药品、医疗用毒性药品、放射性药品、戒毒药品和医疗机构制剂的产品信息
收藏
登录后参与评论
暂无评论