
10月31日,辉瑞公布2023年第三季度财报,财报显示,2023Q3营收132亿美元,同比下降42%,下降的原因主要是因为新冠产品Paxlovid和Comirnaty的需求减少,收入下降。

其中包括两个II期项目和三个I期项目,一个是局部PDE4抑制剂(PF-07038124),用于治疗牛皮癣和特应性皮炎,另一个(PF-06730512)用于治疗局灶节段性肾小球硬化,这是一种可导致肾衰竭的疾病。取消的I期项目中两个针对非小细胞肺癌,另一个针对实体瘤。

该公司的一位发言人说,管线的削减与削减成本的措施无关。不过,辉瑞一直在裁员和关厂,包括北卡罗来纳州和新泽西州的工厂。10月18日,辉瑞启动了一项35亿美元的成本削减计划,修改了与美国政府签订的新冠病毒抗病毒药物Paxlovid的供应协议,并将Paxlovid疗程定价为1390美元。(相关链接:最新!辉瑞Paxlovid定价为1390美元)
根据美国疾病控制与预防中心的最新数据,截至5月,只有17%符合条件的美国人接种了更新版的Covid-19加强针。此前,首席执行官Albert Bourla表示,今年的疫苗接种率可能会为明年的预期奠定基础,而大流行的疲劳和反疫苗言论导致需求水平下降。

Bourla补充道,我们有一个相当强大的投资组合,辉瑞的呼吸道合胞病毒、Covid和肺炎球菌项目,最大的影响将是我们何时推出组合产品。
辉瑞正在研究一系列实验性组合,包括Covid-19和RSV, Covid-19和流感,以及RSV和流感。公司希望在2025年推出新冠流感组合疫苗。
不过,就目前而言,他将其独立的RSV疫苗Abrysvo视为收入的重要构成。Abrysvo自5月份获得批准以来,在第三季度带来了3.75亿美元的收入,最近又获得了第二个适应症(孕妇接种该疫苗可以保护婴儿)。

首席商务官兼全球生物制药业务总裁Angela Hwang表示,今年最后几个月将是大规模接种疫苗的月份。公司刚推出这款产品,其表现超预期。我认为,我们未来的发展方向在老年人和产妇中都有巨大的前景。
另外,投资者还询问了辉瑞公司II期新一代GLP-1受体激动剂danuglipron,尽管Bourla驳回了其中一些问题,并表示我们需要等待数据,也在加紧工作,以便能够在年底前提交数据。
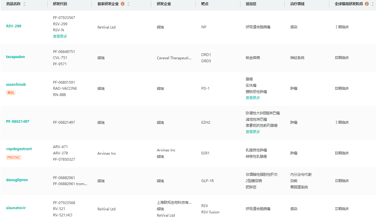
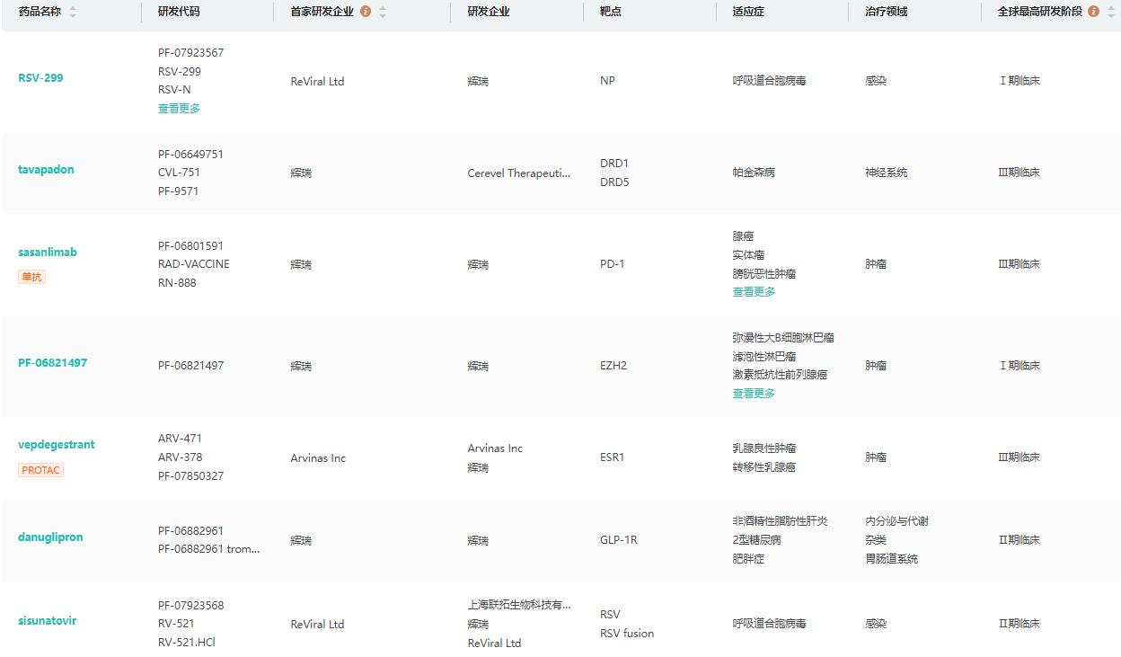
研发管线(部分)

截图来源:药融云全球药物研发数据库
参考资料:
1.公司官网
2.药融云数据库
<END>
要解锁更多企业药品研发信息吗?查询药融云数据库(vip.pharnexcloud.com/?zmt-mhwz)掌握药品各国上市情况、药品批文信息、销售情况与各维度分析、市场竞争格局、一致性评价情况、集采中标情况、药企申报审批信息、最新动态与前景等,以及帮助企业抉择可否投入时提供数据参考!注册立享15天免费试用!








川公网安备51019002008863号
本网站未发布麻醉药品、精神药品、医疗用毒性药品、放射性药品、戒毒药品和医疗机构制剂的产品信息
收藏
登录后参与评论
暂无评论