
近日,据NMPA官网公示,海思科制药的4类仿制化药格列齐特缓释片获批上市,该品种是公司首款获批的糖尿病用药,据药融云数据统计,2022年糖尿病(化学药/生物药)用药全国院内销售额已达340亿。

截图来源:NMPA官网
格列齐特缓释片是一种用于治疗糖尿病的药物,属于磺脲类降糖药。它主要通过刺激胰岛β细胞释放胰岛素来降低血糖水平。格列齐特缓释片主要用于成年非胰岛素依赖型糖尿病(2型糖尿病)的治疗,尤其适用于那些饮食疗法和运动疗法无法控制血糖水平的患者。
3亿+糖尿病品种,跻身全国院内TOP30
根据国际糖尿病联盟(IDF)的调查数据,中国在全球范围内已成为糖尿病第一大国。2021年,20-79岁的糖尿病人数已达到1.41亿人,患病率高达10.6%,并且呈现逐年递增的趋势。尽管糖尿病本身不会直接导致死亡,但其严重的并发症却具有致命性。其中,糖尿病周围神经病变(DPN)是糖尿病患者最常见的慢性并发症之一。
这种并发症的发生与糖尿病病程、血糖控制等因素密切相关。DPN的主要症状包括手脚麻木、疼痛等,严重的情况下可能导致肢体溃烂,甚至不得不进行截肢手术,给患者带来巨大的身心伤害。目前,对于糖尿病周围神经病变的治疗主要依赖于药物,治疗药物市场具有巨大的潜力。据药融云数据统计,2022年糖尿病(化学药/生物药)用药全国院内销售额已达340亿。格列齐特缓释片在2022年全国院内销售额超3亿元。

截图来源:药融云全国医院销售数据库
格列齐特缓释片在2022年糖尿病用药全国院内市场TOP30名单中占据一席之地。从企业竞争格局来看,目前在糖尿病药物领域,国内市场主要还是由诺和诺德、赛诺菲、阿斯利康等跨国药企占领,本土药企则以杭州中美华东制药、甘李药业、通化东宝等领跑。据药融云数据统计,格列齐特缓释片是海思科首款获批的糖尿病用药,此次获批意味着海思科已迈出了糖尿病用药商业化的重要一步,未来有望在该领域取得更大的突破。
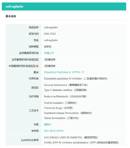
此外,2023年1月海思科首款糖尿病用药1类新药HSK7653片申报上市,主要用于2型糖尿病治疗,该新药有望成为全球首个上市的DPP-4双周制剂。

截图来源:药融云全球药物研发数据库
4款1类新药,猛攻2大千亿市场!
2023年以来,海思科有8款1类新药进行申报并获批临床,涵盖消化系统与代谢、抗肿瘤、神经系统、心血管系统等领域。据药融云数据统计,2022年全国院内销售抗肿瘤和免疫机能调节药、消化系统与代谢药(化学或生物药)市场均超过1000亿元。其中HSK34890片属于消化系统与代谢药。HSK37251片、HSK38008干混悬剂、HSK40118片3款新药属于抗肿瘤药和免疫机能调节药。
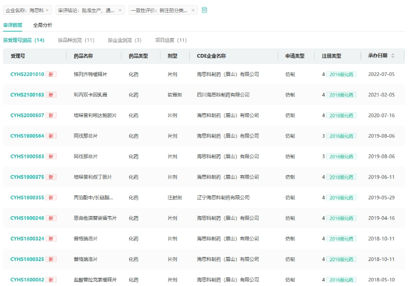
2023年至今海思科申报并获批临床品种

截图来源:药融云中国药品审评数据库
海思科积极布局药品研发领域,目前已经提交了地奈德乳膏、复方维生素注射液(3)、注射用水溶性维生素3款药的仿制上市申请。现有多款产品获批并视同通过一致性评价,除此次获批的格列齐特缓释片外,还有盐酸普拉克索缓释片、阿伐那非片、培哚普利吲达帕胺片等10款产品。其中复方利多卡因乳膏和格列齐特缓释片两个品种于今年获批。

截图来源:药融云中国药品审评数据库
<END>
要解锁更多企业药品研发信息吗?查询药融云数据库(vip.pharnexcloud.com/?zmt-mhwz)掌握药品各国上市情况、药品批文信息、销售情况与各维度分析、市场竞争格局、一致性评价情况、集采中标情况、药企申报审批信息、最新动态与前景等,以及帮助企业抉择可否投入时提供数据参考!注册立享15天免费试用!








川公网安备51019002008863号
本网站未发布麻醉药品、精神药品、医疗用毒性药品、放射性药品、戒毒药品和医疗机构制剂的产品信息
收藏
登录后参与评论
暂无评论