
1月10日,据CDE官网显示,海思科医药申报的1类新药HSK16149胶囊获得受理,新适应症“中枢神经病理性疼痛”。据药融云数据统计,目前海思科有5款神经系统1类新药申报并获批临床。

截图来源:CDE官网
HSK16149胶囊是由海思科开发的具有自主知识产权的1类新药,中枢神经病理性疼痛(CNP)是指中枢神经系统结构病变或功能异常所致的神经病理性疼痛。HSK16149胶囊已于2022年10月提交了糖尿病周围神经痛适应症NDA申请,又于2023年9月提交了带状疱疹后神经痛适应症NDA申请,此次获受理的为中枢神经病理性疼痛适应症的临床试验申请。
5款神经系统用药,瞄准百亿市场
神经系统疾病是发生于中枢神经系统、周围神经系统、植物神经系统的以感觉、运动、意识、植物神经功能障碍为主要表现的疾病。神经系统用药可细分为麻醉药、镇痛药、抗癫痫药、抗震颤麻痹药、精神安定药等亚类。
据药融云统计,神经系统用药院内市场销售额峰值超850亿元,近两年有所下滑,2022年院内销售额为767亿元,为整体医药市场热门领域。

截图来源:药融云全国医院销售数据库
据药融云数据统计,目前海思科有5款1类新药进行IND申报并获批临床。其中胶囊剂有2款,片剂1款,注射剂2款。

截图来源:药融云药品审评数据库
此外,海思科在神经系统化药领域已获批环泊酚注射液、丙泊酚中/长链脂肪乳注射液等6款产品。
4款1类新药,猛攻2大千亿市场!
2023年以来,海思科有8款1类新药进行申报并获批临床,涵盖消化系统与代谢、抗肿瘤、神经系统、心血管系统等领域。据药融云数据统计,2022年全国院内销售抗肿瘤和免疫机能调节药、消化系统与代谢药(化学或生物药)市场均超过1000亿元。其中HSK34890片属于消化系统与代谢药。HSK37251片、HSK38008干混悬剂、HSK40118片3款新药属于抗肿瘤药和免疫机能调节药。
2023年海思科申报并获批临床品种图片

截图来源:药融云中国药品审评数据库
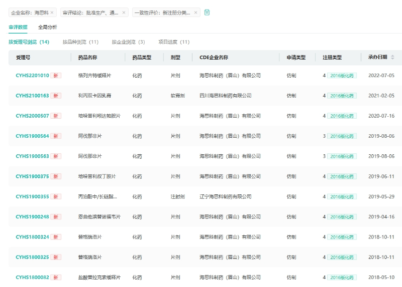
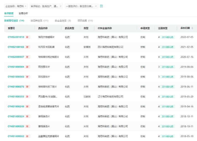
仿制药领域,海思科积极布局,目前已经提交了地奈德乳膏、注射用水溶性维生素2款药的仿制上市申请。现有盐酸普拉克索缓释片、阿伐那非片、培哚普利吲达帕胺片等11款产品获批并视同通过一致性评价。

截图来源:药融云中国药品审评数据库
<END>
要解锁更多企业药品研发信息吗?查询药融云数据库(vip.pharnexcloud.com/?zmt-mhwz)掌握药品各国上市情况、药品批文信息、销售情况与各维度分析、市场竞争格局、一致性评价情况、集采中标情况、药企申报审批信息、最新动态与前景等,以及帮助企业抉择可否投入时提供数据参考!注册立享15天免费试用!








川公网安备51019002008863号
本网站未发布麻醉药品、精神药品、医疗用毒性药品、放射性药品、戒毒药品和医疗机构制剂的产品信息
收藏
登录后参与评论
暂无评论