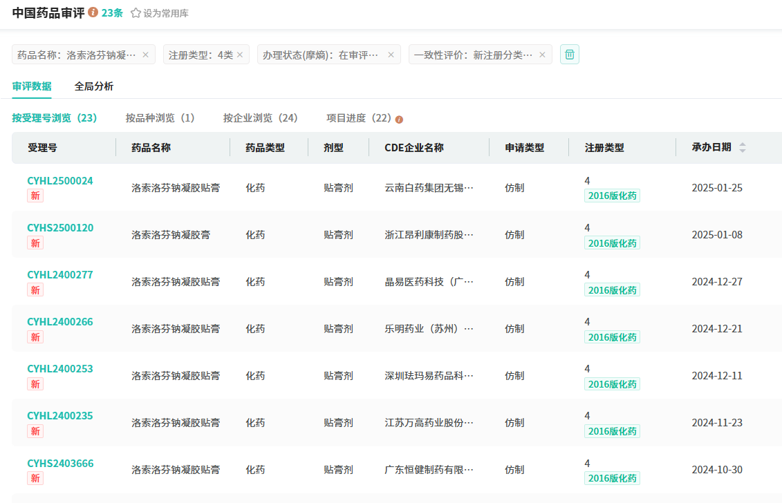
在仿制药布局方面,洛索洛芬钠凝胶贴膏有湖南方盛制药、江苏万高药业、华润三九医药等超20家药企提交了4类仿制申请,均在审评审批中。随着获批药企数量的持续上升,该药品市场竞争愈发白热。

截图来源:摩熵医药中国药品审评数据库
南京海纳医药在仿制药领域同样表现出色。截至目前,南京海纳医药有乳果糖口服溶液、托伐普坦片、奥美拉唑碳酸氢钠干混悬剂(Ⅰ) 、枸橼酸西地那非干混悬剂等超10款品种获批并过评,其中有6款为首家过评。

截图来源:摩熵医药过评药品汇总数据库
结语
洛索洛芬钠凝胶贴膏市场的竞争格局在近年来发生了显著变化。从九典制药的独家垄断到多家药企的获批上市,再到仿制药领域的激烈竞争,这一变化不仅反映了国内仿制药市场的快速发展,也预示着当竞争企业达一定数量和市场空间时,可能触发国家集采,进一步改变市场格局,加剧竞争。
参考来源:
[1] NMPA/CDE官网
[2] 摩熵医药(原药融云)数据库
想要解锁更多药物研发信息吗?查询摩熵医药(原药融云)数据库(vip.pharnexcloud.com/?zmt-mhwz)掌握药物基本信息、市场竞争格局、销售情况与各维度分析、药企研发进展、临床试验情况、申报审批情况、各国上市情况、最新市场动态、市场规模与前景等,以及帮助企业抉择可否投入时提供数据参考!注册立享15天免费试用!

收藏
登录后参与评论
暂无评论