
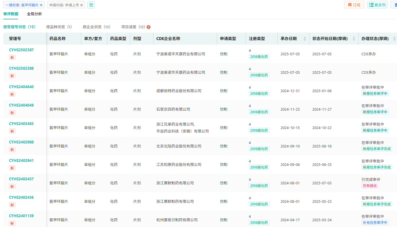
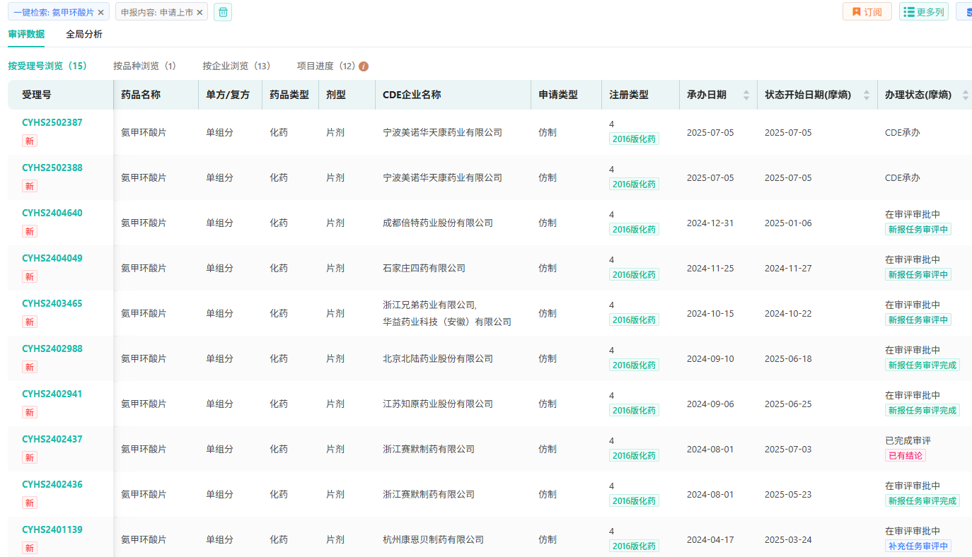
7月7日,CDE官网显示,宁波美诺华天康药业有限公司以4类仿制化药提交的氨甲环酸片上市申请已获受理。

截图来源:CDE官网
氨甲环酸是一种人工合成的赖氨酸衍生物,属于抗纤维蛋白溶酶药,主要用于治疗急性或慢性、局限性或全身性原发性纤维蛋白溶解亢进所致的各种出血,广泛应用于外科、骨科、妇科等手术,是临床应用的一线止血药物。


截图来源:摩熵医药全球药物研发数据库
氨甲环酸原研公司是日本第一三共株式会社,1965年氨甲环酸在日本获批上市。1980年,湖南洞庭药业的氨甲环酸(改良型新药)国内获批上市。氨甲环酸已被《围术期出凝血管理麻醉专家共识》、《创伤性高凝血症诊疗中国专家共识》等国内外权威指南广泛推荐使用。
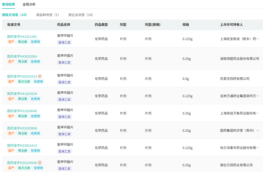
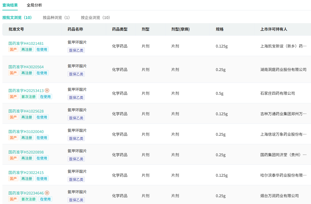
目前,氨甲环酸已有胶囊剂、片剂、注射剂等剂型获批上市,在使用的批文数量有170个,涉及企业80家。

截图来源:摩熵医药中国药品批文数据库
据摩熵医药数据库显示,氨甲环酸院内销售额累计突破93亿元,2021年超14亿元,同比增长41.48%,随后略有下降,2023年氨甲环酸注射液中标第八批集采,最低价折合1.58元/支,受此影响,销售额下降趋势加剧。











川公网安备51019002008863号
本网站未发布麻醉药品、精神药品、医疗用毒性药品、放射性药品、戒毒药品和医疗机构制剂的产品信息
收藏
登录后参与评论
暂无评论