市场竞争格局方面,盐酸昂丹司琼片亦表现不俗,连续三年跻身院内镇吐药和止呕药市场的TOP2。

截图来源:摩熵医药全国医院(全终端)销售数据库
而企业方面,主要以宁波市天衡制药的“枢丹”和齐鲁制药的“欧贝”盐酸昂丹司琼片销售为主,齐鲁制药市场份额最高(72.12%)。

截图来源:摩熵医药全国医院(全终端)销售数据库
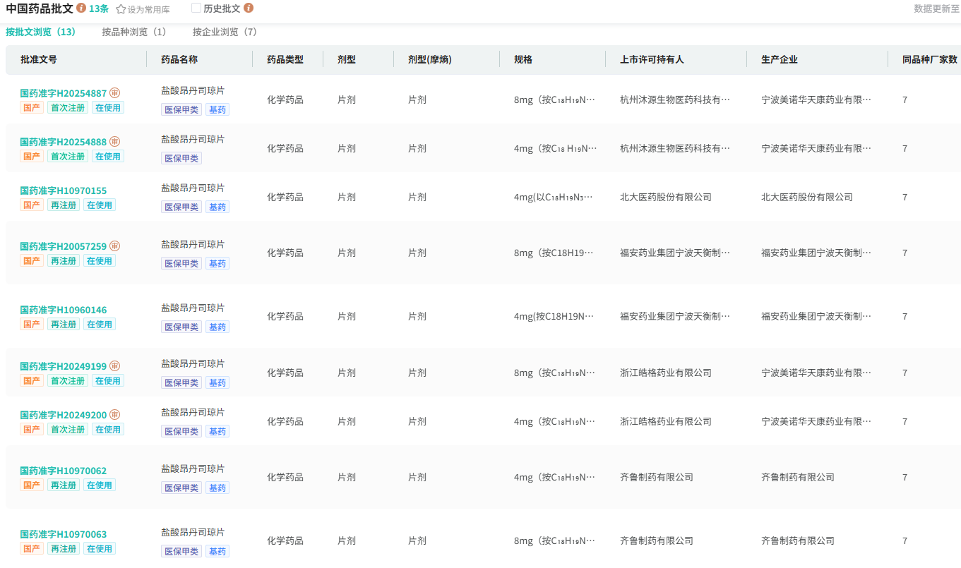
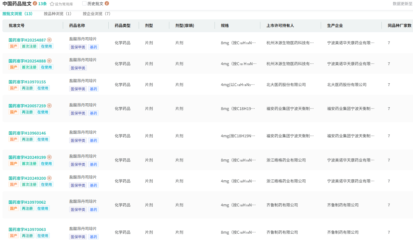
目前,盐酸昂丹司琼片获批的企业已达7家,除杭州沐源生物外,还包括石家庄四药、宁波美诺华天康、齐鲁制药、福安药业集团宁波天衡制药、北大医药等。

截图来源:摩熵医药中国药品批文数据库
此外,另有成都通德药业、南京海鲸药业的上市申请在审评审批中。

截图来源:摩熵医药中国药品审评数据库
依据全球癌症统计报告显示,每年约2000万人罹患癌症;摩熵医药数据表明,2021年我国癌症患者达532.94万人。化疗仍是大多数癌症患者的治疗基础,而化疗相关性恶心呕吐(CINV)发生率高达60%-80%。

截图来源:摩熵医药流行病学数据库
根据市场监测数据,2024年全球止吐药市场规模为74亿美元,预计到2037年将达到158亿美元,在2025年至2037年的预测期内,复合年增长率为6.9%。
盐酸昂丹司琼片作为临床常用止吐药,疗效与安全性已获广泛认可,临床应用普遍,未来市场前景向好。
小结
盐酸昂丹司琼片市场势头迅猛,近年销售额持续攀升。杭州沐源生物获批入场,或将加剧市场竞争,也将推动品种惠及更多患者。作为临床刚需用药,其在镇吐止呕领域地位稳固,叠加持续增长的市场表现,未来有望在多方合力下拓展成长空间,书写更广阔的市场篇章。
想要解锁更多药物研发信息吗?查询摩熵医药(原药融云)数据库(vip.pharnexcloud.com/?zmt-mhwz)掌握药物基本信息、市场竞争格局、销售情况与各维度分析、药企研发进展、临床试验情况、申报审批情况、各国上市情况、最新市场动态、市场规模与前景等,以及帮助企业抉择可否投入时提供数据参考!注册立享15天免费试用!

收藏
登录后参与评论
暂无评论