
让复杂的医药信息变得简单易懂,让全球的新药研发动态触手可及。关注全球医药大健康行业的最新动态和趋势,药融云为您提供更专业、更全面的信息服务。
一、1月国内新药注册申报分析
据药融云《全球在研新药与靶点月报》数据统计,2024年1月,中国新药注册申报呈现出积极态势。在化学药方面,本月共有147个化药1类新药受理号获CDE承办(含补充申请49个),其中国产77个,进口21个,从申请类型来看,包括临床申请93个,上市申请5个,涉及71个品种,72家企业。
在生物制品方面,共有96个1类治疗用生物制品受理号获CDE承办,其中国产62个,进口19个,从申请类型来看,包括临床申请74个,上市申请7个,涉及75个品种,73家企业。
在中药方面,有5个1类中药受理号获CDE承办(含补充申请1个),从申请类型来看,包括临床申请2个,上市申请2个,涉及5个品种,6家企业。
此外,本月共有153款新药获批临床(共计250个受理号),其中包括67款化药,83款生物制品,3款中药。
另外,还有5款新药获批上市,包括赛诺菲和阿斯利康联合开发的Nirsevimab注射液,是首个婴儿呼吸道合胞病毒预防手段;渤健/卫材共同研发的仑卡奈单抗注射液、用于治疗由阿尔茨海默病引起的轻度认知障碍和阿尔茨海默病轻度痴呆;礼来的Galcanezumab注射液,用于预防性治疗成人发作性偏头痛;惠升生物的加格列净片,用于改善成人2型糖尿病患者的血糖控制;辉瑞的硫酸瑞美吉泮口崩片,用于成年人有或无先兆偏头痛的急性治疗,为更多患者提供了新的治疗选择。
2024年1月国内获批临床新药一览表(部分)

图片来源:药融云《全球在研新药与靶点月报》
二、1月国内创新药投融资事件盘点
据药融云《全球在研新药与靶点月报》数据统计,2024年1月全球医药大健康行业共发生投融资事件305起,与上月数量比较增加24%,其中融资热度TOP3细分领域分别为创新药、医疗器械耗材、医疗/医药技术,本月融资事件发生数量分别为101起、79起、52起。
国内医药大健康行业共发生投融资事件88起,与上月数量比较减少5%,其中医疗器械耗材热度最高,本月共发生融资事件43起,创新药次之(为23起),医疗/医药技术、医疗服务、医药制造/服务、其他发生数量分别为9起、4起、4起、5起。

数据来源:药融云医药投融资数据库
在1月创新药大类中,生物药品、基因治疗为资本关注的热门赛道;从疾病领域来看,肿瘤为热门投融资疾病领域。从融资轮次来看,本月创新药大类涉及企业总体融资轮次靠前;从融资金额来看,柯君医药、宁丹新药、循曜生物、箕星药业、辐联医药和威凯尔医药6家企业在1亿元人民币以上。
➢ 上海辐联医药科技有限公司
2024年1月4日,上海/让布卢/海德堡——全面整合的国际化放射性药物治疗公司辐联科技有限公司,宣布完成6330万美元融资,其中包括4730万美元的B轮股权融资和1600万美元的授信额度。本次融资将帮助公司快速推进其放射性药物管线的开发和药物生产能力的建设,并优化其专有发现平台UniRDC™。
药融云医药投融资数据库显示,随着本次融资的完成,辐联科技自2021年8月成立以来已累计融资超过1.1亿美元,包括股权融资、债权融资和政府补贴。此次4730万美元B轮股权融资由阿美风险投资(AramcoVentures)旗下多元化成长基金Prosperity7Ventures和某生命科学领域专业投资基金共同领投,跟投方包括新股东云九资本、夏焱医疗美元基金及体系内飞镖夏焱基金、光华梧桐基金,以及现有股东成为资本、红杉中国和佳辰资本。除B轮融资外,公司还成功获得了1600万美元授信额度作为灵活的资金支持,助力公司的管线开发和比利时放射性药物生产设施的建设。
➢ 箕江苏威凯尔医药科技有限公司
2024年1月5日,江苏威凯尔自主研发的新一代抗耐药TRK抑制剂VC004中国关键II期临床试验(登记号:CTR20201703)成功完成首批受试者入组。该临床试验旨在进一步评估VC004在治疗NTRK基因融合突变患者中的有效性和安全性。
VC004是江苏威凯尔自主开发的I类靶向抗肿瘤药物,属于新一代TRK抑制剂,有望为国内患者提供针对NTRK融合突变的治疗方案,同时满足国内外患者尚未满足的抗耐药治疗的临床需求。根据I期临床数据显示,其在NTRK基因融合突变实体瘤患者中ORR达80-90%,最长DOR达24个月,疗效数据还在进一步收集,在脑转移患者和TRK融合经治患者中也显示了初步的疗效,超60%的脑转移患者有不同程度肿瘤缩小,其中有一例病灶基本消失。
➢ 箕星药业科技(上海)有限公司
2024年1月6日,拜耳、RTW投资公司宣布,分别以3500万美元和1.27亿美元对箕星药业科技(上海)有限公司进行股权投资。箕星是一家由RTW创立、现处于临床阶段的生物制药公司,致力于将创新科学和药物带给罹患严重危及生命健康疾病的中国患者。通过此次合作,拜耳将获得箕星在心血管和眼科领域产品线商业化权益的优先谈判权。此次合作将充分发挥拜耳在心血管及眼科领域的丰富经验,以及拜耳在中国的优势地位与强大影响力。拜耳和箕星将成立联合产品组合战略委员会(JointPortfolioStrategyCommittee),以进一步挖掘更多潜在业务发展机会。于此同时,拜耳集团处方药事业部全球执行副总裁兼中国区总裁、拜耳集团大中华区总裁周晓兰将加入箕星董事会。
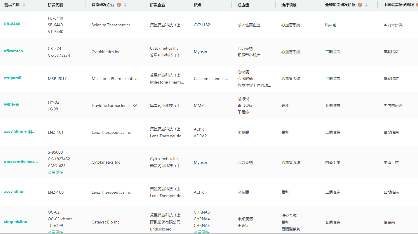
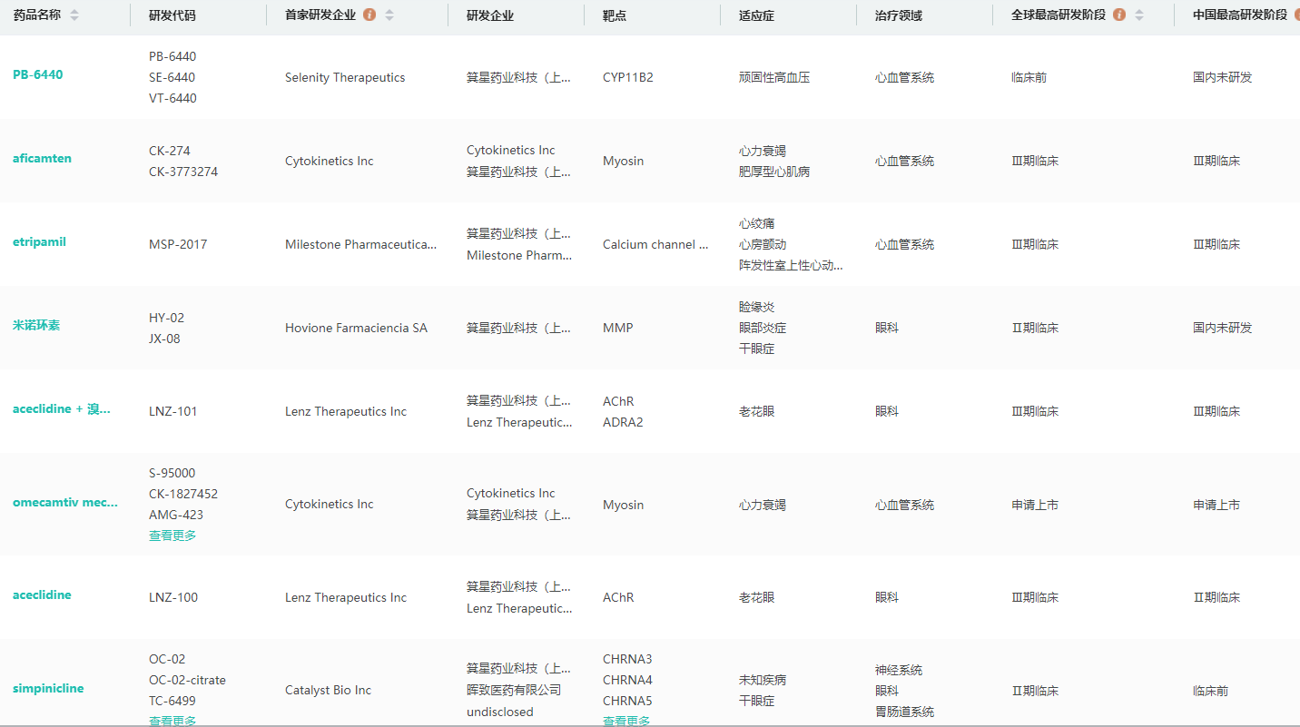
箕星研发管线及进度查询

图片来源:药融云全球药物研发数据库
箕星是一家总部位于中国上海的生物制药公司,致力于将创新科学和药物带给罹患严重危及生命健康疾病的中国患者。箕星由RTW于2019年投资创立,与全球多家生物技术公司开展合作,通过开发和商业化独特创新的治疗药物,应对心血管和眼科疾病领域尚未满足的医疗需求。药融云数据库显示,箕星心血管管线包括3个临床后期阶段在研产品(Aficamten、Etripamil和OmecamtivMecarbil),以及1个临床前在研产品JX09。箕星眼科管线包括4个临床后期阶段在研产品(伐尼克兰鼻喷雾剂/美国商品名为TYRVAYA、OC-02鼻喷雾剂、JX06/LNZ100、JX07/LNZ101),以及1个临床前在研产品JX08。
➢ 上海循曜生物科技有限公司
2024年1月10日,深耕出凝血及纤维化领域创新药研发的上海循曜生物科技有限公司宣布完成近两亿元的A轮融资,本轮融资由龙磐投资领投、老股东上海生物医药基金追加投资,跃为资本担任独家财务顾问。本轮融资资金将助力推进公司现有管线的临床及临床前研究。
上海循曜生物科技有限公司是由刘俊岭教授在上海交大医学院的支持下,与上海医药集团、上海生物医药产业基金共同合作创立的创新药物研发型科技企业。
<END>
想要实时分析监测国内新药注册申报和药物研究进展,可以登录“药融云”数据库订阅相关目标药品信息;想要获取《全球在研新药与靶点月报》完整报告内容,请关注“药融云”公众号,后台回复“报告”关键词进行领取;或者前往药融云“药融文库”网站【原创报告】栏目进行全文下载。








川公网安备51019002008863号
本网站未发布麻醉药品、精神药品、医疗用毒性药品、放射性药品、戒毒药品和医疗机构制剂的产品信息
收藏
登录后参与评论
暂无评论