
在生物医药领域,创新和突破是永恒的主题,但无论研发周期有多长、投入有多大,药企最终的希冀都是为了满足临床需求,实现商业闭环。不知不觉2024年已经接近尾声,我国创新药在2024年也迎来了新的突破,2024年(截至12月25日)NMPA批准的创新药数量超110个(含国内与进口,不含中药),较去年大幅提升。

创新药市场蓬勃发展,2024年有望达7千亿元
当前,国内创新药领域受益于政策扶持与企业技术提升,市场迎来高速发展。创新药审评审批政策与经济增速共促其市场化进程,市场占比持续扩大。据《2022-2027年中国创新药产业发展报告》,2022年市场规模达6785亿元,同比增7.6%。受政策、医保调整及研发投入增加影响,市场前景乐观。预计2023年将增至7097亿元,2024年达7534亿元。

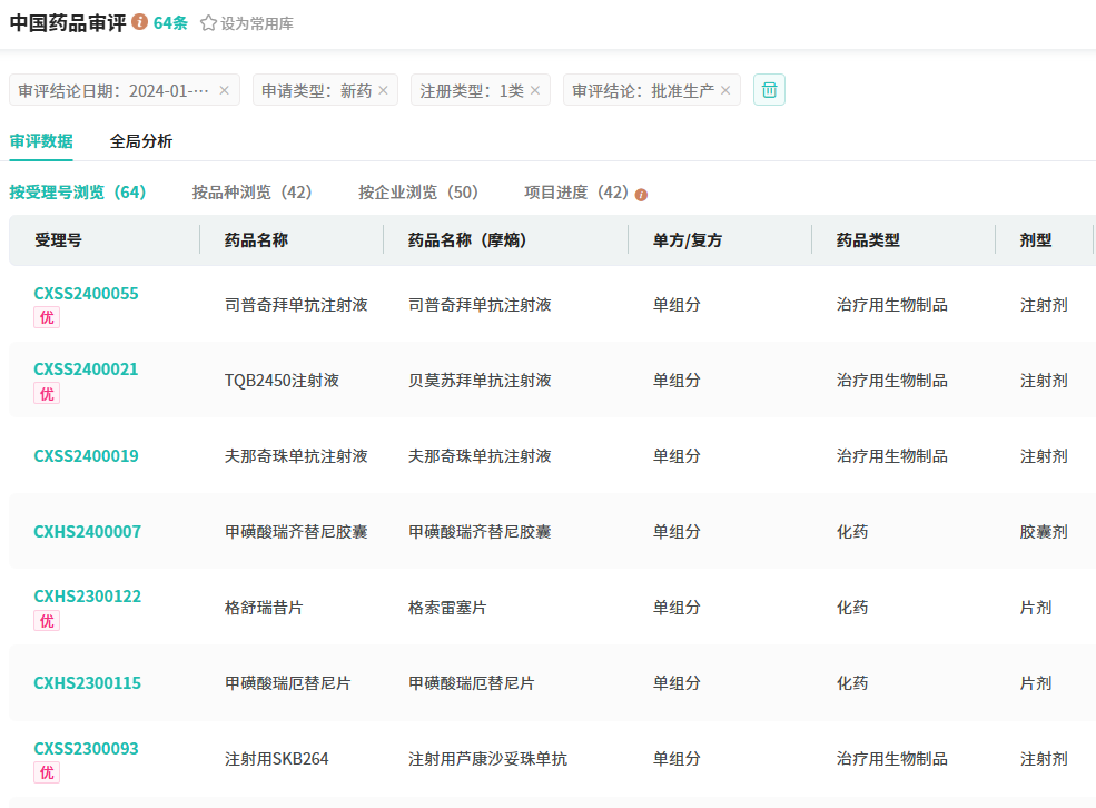
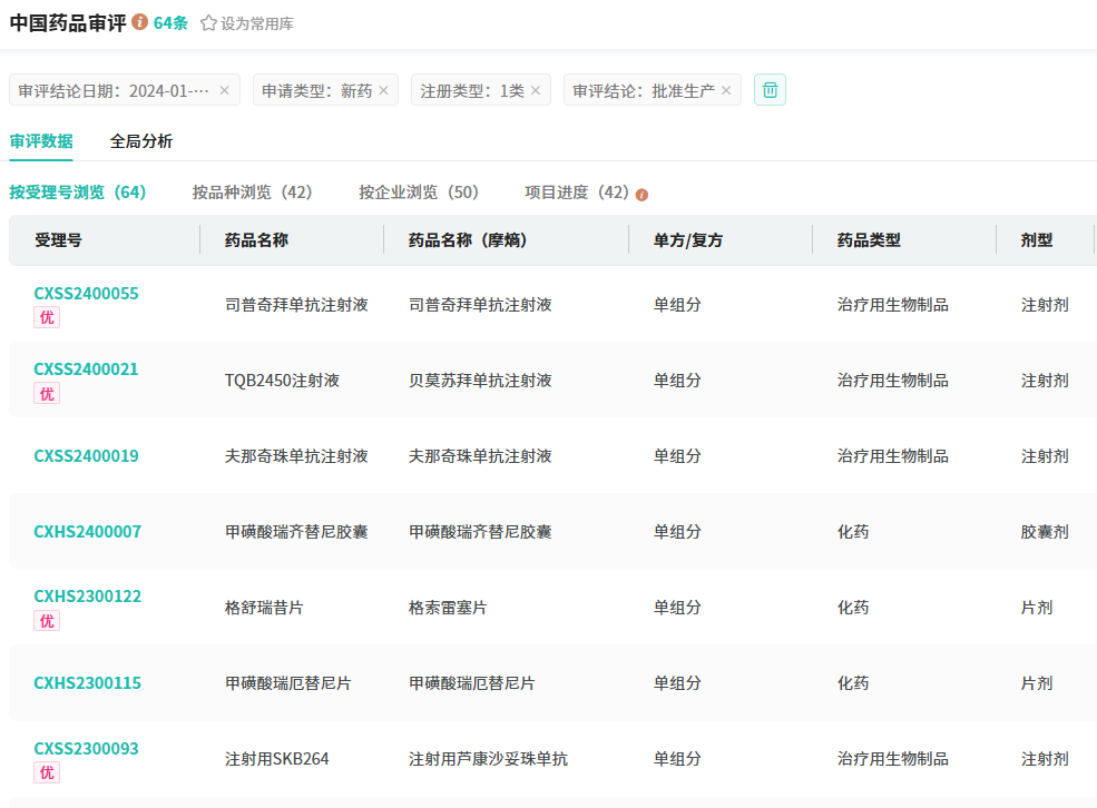
随着创新药审评审批政策的不断完善以及经济的快速发展,创新药在医药市场结构中的比重逐渐加大。摩熵医药数据库显示,截至目前,2024年NMPA批准的创新药中,国产新药达42款,如脯氨酸加格列净片、枸橼酸依奉阿克胶囊等;进口新药则有69款,包括替尔泊肽注射液、玛伐凯泰胶囊等。


截图来源:摩熵医药中国药品审评数据库
全球新药首发占比提升,20款新药有望明年获批
随着中国本土创新药企的崛起,全球首发在中国的创新药占比持续提高。在新的一年即将到来之际,摩熵医药梳理了2025年有望在国内批准上市的新药名单,其中先声药业、恒瑞、复星医药等国内药企。

在先声药业的两款新药中,第一款莱博雷生(Dayvigo,又名达卫眠)尤为引人注目。这款由日本知名制药企业卫材(Eisai)研发的新型助眠药物,专为解决失眠问题而设计。2019年12月,莱博雷生凭借其卓越的安全性和有效性,获得了美国食品药品监督管理局(FDA)的正式批准,用于治疗成人失眠症。这一突破性成果不仅为失眠患者带来了福音,也为全球助眠药市场注入了新的活力。

截图来源:摩熵医药全球药物研发数据库
第二款新药达利雷生(Daridorexant)则是先声药业从Idorsia公司引进的一款双食欲素受体拮抗剂。2024年5月底,先声药业宣布达利雷生用于治疗中国失眠患者的III期临床试验(NCT06010693)达到主要终点,预示着这款新药在中国市场的上市指日可待。

截图来源:摩熵医药全球药物研发数据库
小结
随着本土药企的崛起和全球首发占比的提高,中国创新药市场正逐步走向成熟。2025年有望获批的新药中,不仅包含了传统领域的佳作,更涌现出众多创新领域的黑马。这些新药将为患者提供更多治疗选择,推动国内创新药市场迈向新的高度。
想要解锁更多药物研发信息吗?查询摩熵医药(原药融云)数据库(vip.pharnexcloud.com/?zmt-mhwz)掌握药物基本信息、市场竞争格局、销售情况与各维度分析、药企研发进展、临床试验情况、申报审批情况、各国上市情况、最新市场动态、市场规模与前景等,以及帮助企业抉择可否投入时提供数据参考!注册立享15天免费试用!








川公网安备51019002008863号
本网站未发布麻醉药品、精神药品、医疗用毒性药品、放射性药品、戒毒药品和医疗机构制剂的产品信息
收藏
登录后参与评论
暂无评论