在众多靶向疗法的开发中,JAK无疑是比较热门的靶点之一。JAK抑制剂何以备受青睐?竞争格局如何?这个领域还有哪些潜力有待发掘?今日就让我们来一探究竟。
JAK-STAT信号通路是人体内重要的信号通路之一,由酪氨酸激酶相关受体、酪氨酸激酶JAK和转录因子STAT三个成分组成,这是一条由细胞因子刺激的信号转导通路,参与细胞的增殖、分化、凋亡以及免疫调节等许多重要的生物学过程。
作为细胞质酪氨酸激酶家族的一员,JAKs共有JAK1、JAK2、JAK3、TYK2四种亚型,亚型之间有重叠的结合对象。其中JAK1、JAK3更多负责免疫调节,而JAK2主要与红细胞和血小板的生成相关。
JAK-STAT信号通路与多种自身免疫性疾病的发病机制相关,包括类风湿关节炎、银屑病和炎症性肠病等。据药融云数据库统计,自身免疫性疾病为仅次于肿瘤的研发热门领域,中国研发数量位列全球第二梯队(《JAK抑制剂新战场?礼来、辉瑞抢先,国内恒瑞医药、泽璟制药最快!》)。

数据来源:药融云数据库
其中,TNFα、JAK1、IL-23、IL-6R等为自身免疫性疾病领域较为热门且成熟的靶点。
全球自身免疫性疾病TOP10靶点药物研发数量与靶点开发风险分析

图片来源:药融云《JAK抑制剂全景扫描》报告
一、全球已上市11款JAK抑制剂,三代JAK抑制剂迭代升级
从上个世纪90年代全球首个JAK抑制剂被发现以来,据药融云数据库统计,目前,全球范围内共有11款JAK抑制剂原研药获批上市。
其中5款为第一代JAK抑制剂,分别为辉瑞的托法替布(Tofacitinib)、赛诺菲/Incyte的芦可替尼(Ruxolitinib)、礼来的巴瑞替尼(Baricitinib)、安斯泰来(Astellas)的培非替尼(Peficitinib)、JapanTobacco的迪高替尼(Delgocitinib)。
第二代JAK抑制剂也有5款,分别为新基的菲达替尼(Fedratinib),艾伯维的乌帕替尼(Upadacitinib)、吉利德的非戈替尼(Filgotinib)、辉瑞的阿布昔替尼(Abrocitinib)以及2022年2月获批的由CTI BioPharma公司研发的帕瑞替尼(Pacritinib)。
一键查询全球获批上市的JAK抑制剂(部分显示)

图片来源:药融云全球药物研发数据库
氘可来昔替尼(Deucravacitinib)于2022年9月在美国获批上市,是第一款也是目前唯一获批的第三代JAK抑制剂(TYK2)。
第一代JAK抑制剂为非选择性JAK抑制剂,可同时靶向2个及以上JAKs靶点,阻断多条相关信号通路,从而治疗多种自身免疫疾。但由于缺乏选择性,第一代JAK抑制剂往往存在较为严重的不良反应,如感染、贫血等。
与第一代产品不同的是,第二代JAK抑制剂可以选择性地抑制JAK家族成员,从而实现在抑制特定与疾病相关信号通路的同时,维持其它细胞因子功能不受影响,因此在安全性和耐受性方面较第一代更有优势。
第三代JAK抑制剂可高度选择性地结合TYK2的JH2调节结构域,特异性地抑制剂TYK2活性,阻断银屑病相关的细胞因子信号通路和免疫应答,减少JAK1-3激酶所带来的不良反应。第三代JAK抑制剂氘可来昔替尼(Deucravacitinib)的获批,打破了斑块状银屑病治疗药物零“JAK“记录。
Deucravacitinib适应症竞争格局

图片来源:药融云全球药物研发数据库
二、国内市场规模快速增长,成长性看好,托法替布仿制热度高
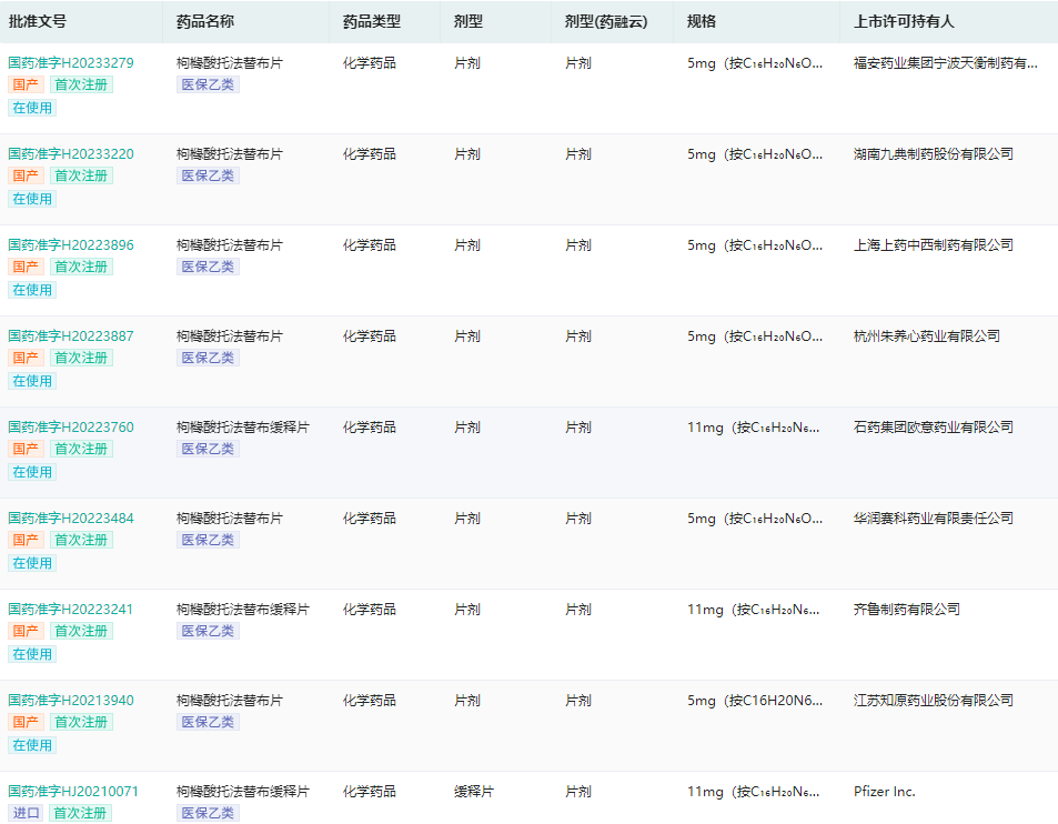
目前国内已获批的JAK抑制剂仅5款,分别为托法替布、芦可替尼、巴瑞替尼、阿布昔替尼、乌帕替尼,均为第一代JAK抑制剂。药融云数据库显示,其中托法替布片剂除原研进口产品外,另有20余家企业的国产仿制产品获批,且有较多企业按新4类进行注册申报,比如正大天晴、扬子江药业、科伦制药、齐鲁制药、成都倍特药业等。
国产托法替布片获批产品查询(部分)

图片来源:药融云中国药品批文数据库
芦可替尼、巴瑞替尼、阿布昔替尼、乌帕替尼,目前国内暂无仿制药获批上市。
从市场准入信息来看,以上5款JAK抑制剂均为国家医保/医保谈判目录乙类品种,其中托法替布为国家集采第三批品种,在医保和带量采购的双重洗礼下,托法替布价格出现大幅下滑。
从市场表现来看,国内JAK抑制剂自2017年首个产品获批以来市场规模快速增长,2022年达到9.43亿元,同比增长222.95%,推测一方面与JAK抑制剂临床认可度逐渐提升密不可分,另一方面也与医保驱动放量有关。据弗若斯特沙利文预测,国内JAK1抑制剂将持续快速增长,2024年、2030年市场规模将分别达到100亿、481亿元人民币,2019-2024年复合增长率达到92.2%。
从单品销售额来看,巴瑞替尼、芦可替尼、托法替布3个品种销售额均呈增长趋势,芦可替尼、托法替布销售额分别于2019、2020年超过亿元,巴瑞替尼于2019年在国内上市,目前尚未成为亿级大品种。
芦可替尼全国医院端销售年度趋势

图片来源:药融云全国医院销售数据库
据药融云数据库统计,目前国内注册申报JAK抑制剂:涉及60个品种,313个受理号,其中1类新药占比达65%。按剂型统计,片剂的药品数量最多有37个,其次是胶囊剂。

图片来源:药融云《JAK抑制剂全景扫描》报告
按注册申报的药品数量进行统计排名,JAK抑制剂国内注册申报数量TOP10企业分别是:辉瑞、艾伯维、礼来、珠海联邦制药、TP Therapeutics、安斯泰来、百时美施贵宝、正大天晴、恒瑞医药、江苏威凯尔医药。
三、JAK抑制剂总体研发热度较高,国内企业恒瑞医药进度最快
据药融云数据库统计,目前JAK抑制剂全球研发管线内项目共1549个,其中临床三期项目6个,临床二期41个,临床一期37个,临床前51个;Incyte、百时美施贵宝、辉瑞等企业进展较快,其中辉瑞药物发现16个,临床Ⅰ期项目3个,临床Ⅱ期项目2个,临床Ⅲ期项目1个,申请上市1个。

图片来源:药融云《JAK抑制剂全景扫描》报告
JAK抑制剂TOP10适应症分别为:癌症、银屑病、类风湿性关节炎、炎症性肠病、哮喘、系统性红斑狼疮、多发性硬化症、移植物抗宿主病、移植排斥反应、特应性皮炎。JAK抑制剂在研适应症涉及多种自身免疫性疾病,其中,类风湿性关节炎研发热度和成熟度均较高。
JAK抑制剂TOP10适应研发热度/成熟度分析

图片来源:药融云《JAK抑制剂全景扫描》报告
据药融云数据库统计,JAK1抑制剂国内研发数量TOP10企业中,江苏恒瑞(SHR-0302)、凌科药业(LNK-01003等)、泽璟生物(盐酸杰克替尼片/乳膏)进度较快,恒瑞医药领跑。

图片来源:药融云《JAK抑制剂全景扫描》报告
SHR0302是一种高选择性的JAK1抑制剂,可通过抑制JAK1信号传导发挥抗炎和抑制免疫的生物学效应。药融云数据库显示,SHR0302目前已在中国获批类风湿关节炎、白癜风、溃疡性结肠炎、克罗恩病、强直性脊柱炎、特应性皮炎、银屑病关节炎等多项临床试验研究;其中斑秃、特应性皮炎、溃疡性结肠炎、类风湿性关节炎、强直性脊柱炎等处于临床III期,克罗恩病处于临床II期。
SHR0302不同适应症国内研发状态查询(部分)

图片来源:药融云全球药物研发数据库
LNK01003是由凌科药业自主研发的一款具有肠道限制性的口服小分子JAK抑制剂,拟用于治疗溃疡性肠炎等相关疾病,其在健康受试者的单次和多次剂量递增试验中都具有良好的PK特性和耐受性。目前,一项评价LNK01003在活动性溃疡性结肠炎患者中的疗效和安全性的II期临床研究正在进行中。
LNK01001中国临床试验查询

图片来源:药融云中国临床试验数据库
同时,LNK01001是凌科药业研发的一款用于治疗自身免疫性疾病的1类新药,目前针对类风湿关节炎以及强直性脊柱炎、特应性皮炎的临床Ⅱ期研究也正在进行中。
盐酸杰克替尼是泽璟制药自主研发的一种新型JAK抑制剂类药物,属于1类新药。杰克替尼对Janus激酶包括JAK1、JAK2、JAK3和TYK2具有显著的抑制作用,且对JAK2和TYK2的抑制作用最强。另外,杰克替尼还可以通过抑制激活素受体1(ACVR1)活性降低铁调素转录,改善铁代谢失衡,增加血红蛋白,降低骨髓纤维化患者贫血发生率和减少输血依赖。
盐酸杰克替尼临床试验信息查询(部分)

图片来源:药融云中国临床试验数据库
药融云数据库显示,盐酸杰克替尼片目前正在开展多个免疫炎症性疾病和纤维化疾病的临床研究,其中中高危骨髓纤维化、重症斑秃、中重度特应性皮炎处于III期临床研究阶段,芦可替尼不耐受的中高危骨髓纤维化(IIB期)注册临床试验成功;同时,正在开展的临床试验还包括芦可替尼复发/难治的骨髓纤维化(IIB期)、特发性肺纤维化(II期)、移植物抗宿主病(II期)及中重度斑块状银屑病(II期)、系统性红斑狼疮(II期)、重型新型冠状病毒肺炎(II期)等。
药融咨询是药融云旗下生物医药专业咨询服务品牌,由深耕医药领域多年的专业人士组成,核心成员均来自国际顶级咨询机构和行业标杆企业,涵盖立项、市场、战略、投资等从业背景,依托药融圈丰富的外部专家资源及药融云全面的医药全产业链数据库,为客户提供专业咨询服务与定制化解决方案。
想要获取完整药融云《JAK抑制剂全景扫描》报告内容,关注“药融云”公众号(yrydata),后台回复“报告”关键词进行领取。
想要解锁更多药物靶点信息吗?查询药融云数据库(vip.pharnexcloud.com/?zmt-mhwz)掌握各药物靶点药物基本信息、上市药物情况、销售情况与各维度分析、药企药物研发进展、市场规模与前景等,以及帮助企业抉择可否投入仿制与研发时提供数据参考!!注册立享15天免费试用!

<END>








川公网安备51019002008863号
本网站未发布麻醉药品、精神药品、医疗用毒性药品、放射性药品、戒毒药品和医疗机构制剂的产品信息
收藏
登录后参与评论
暂无评论