
5月25日,CDE官网显示,齐鲁制药递交的GLP-1受体激动剂——司美格鲁肽注射液临床申请已获受理。截至目前,这是国内第5家申报该诺和诺德原研369亿重磅降糖药临床的药企。

截图来源:CDE官网
司美格鲁肽(曾用名:索马鲁肽)原研由诺和诺德开发,是一款新型长效胰高糖素样肽-1(GLP-1受体激动剂)类似物,一周仅需一次给药即可实现降糖效果。目前该药已在美国、欧洲等多个国家和地区获批上市。上市后该降糖药市场一直保持高速增长,逐渐成为诺和诺德销售额占比最高的药品。据药融云数据库,2021年司美格鲁肽全球销售额已经达到55亿美元(约369亿元人民币),同比增长76%,堪称「重磅炸弹」降糖药物。
如今,降糖效果显著、兼具多重获益的 GLP-1 受体激动剂(GLP-1 RA)在各大指南中的地位逐渐攀升,GLP-1受体激动剂(多靶点)也和超长效胰岛素共同成为全球糖尿病药物的竞争焦点。司美格鲁肽、度拉糖肽又为GLP-1受体激动剂药物中的佼佼者。根据礼来、诺和诺德2022年一季报,司美格鲁肽(Ozempic)销售额18.29亿美元,首次超过度拉糖肽17.41亿美元。
司美格鲁肽全球销售概况

图片截图来源:药融云全球药物研发数据库(新版)
2021年4月底,司美格鲁肽获NMPA批准在国内上市,商品名:诺和泰。用于在饮食控制和运动基础上,接受二甲双胍和/或磺脲类药物治疗血糖仍控制不佳的成人2型糖尿病患者的血糖控制,及降低伴有心血管疾病的2型糖尿病成人患者的主要心血管不良事件(心血管死亡、非致死性心肌梗死或非致死性卒中)风险。
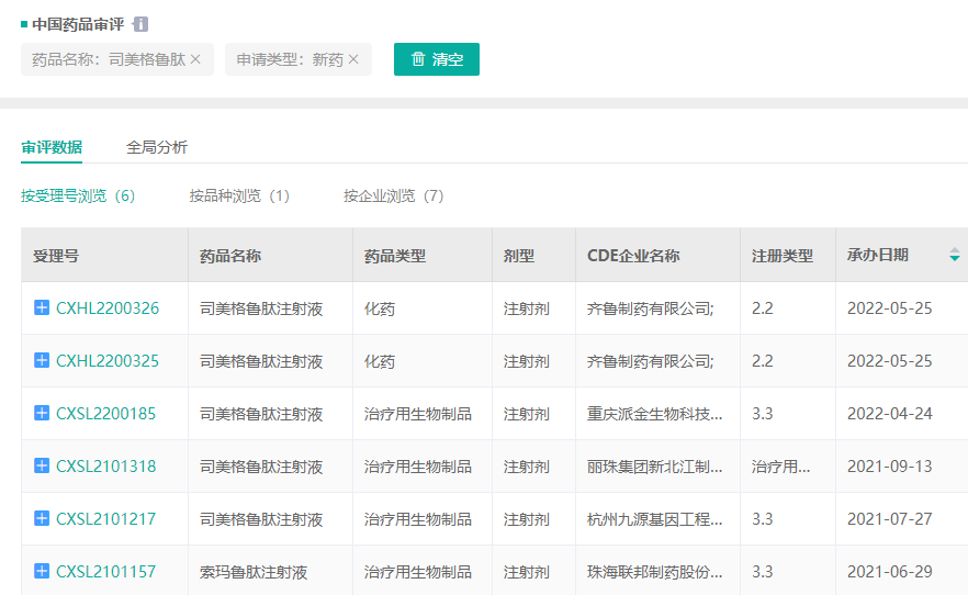
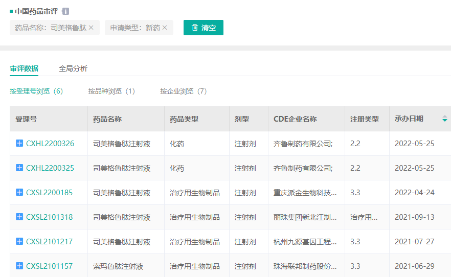
经查询,目前国内已有珠海联邦、杭州九源基因、丽珠集团、杭州中美华东制药/重庆派金生物和此次的齐鲁制药先后递交了司美格鲁肽注射液的临床申请。其中,杭州九源基因已完成I期临床试验,为司美格鲁肽注射液与诺和泰®在中国男性健康受试者中进行的单中心、随机、开放、单次(空腹)皮下给药、两制剂、平行的药代动力学比对研究。
司美格鲁肽注射液国内临床申请情况

截图来源:药融云中国药品审评数据库
至此,2022年以来,CDE已受理齐鲁制药12款新药临床申请。其中,1类新药分别是AB-729注射液、QLH11906片、QL1706注射液、注射用QLS31904、QL1604注射液和注射用QLS21908;2类新药有司美格鲁肽注射液、硫酸阿托品滴眼液、磷酸奥司他韦口溶膜、单唾液酸四己糖神经节苷脂钠注射液、甲磺酸仑伐替尼胶囊和利培酮口溶膜。
参考来源:
[1] CDE官网
[2] 药融云数据库 https://www.pharnexcloud.com/?zmt-mhwz
想要解锁更多药企仿制药信息吗?查询药融云数据库(https://www.pharnexcloud.com/?zmt-mhwz)掌握药企仿制药申报情况、审批信息、最新进展、一致性评价、市场竞争格局、销售情况,市场规模与前景,可否投入!注册立享15天免费试用和虎年首份医药数据大礼包!

—END—







川公网安备51019002008863号
本网站未发布麻醉药品、精神药品、医疗用毒性药品、放射性药品、戒毒药品和医疗机构制剂的产品信息
收藏
登录后参与评论
暂无评论