据CDE官网最新公示,成都倍特药业的4类仿制化药碘美普尔注射液上市申请获受理。目前,该4亿X射线造影剂国内仅原研和一家首仿药获批,还另有一家药企仿制药申报上市,倍特药业有望冲刺国产第二家。

截图来源:CDE官网
碘美普尔原研来自意大利Bracco,是X射线非离子型碘造影剂,属于一种非离子型单体X射线造影剂。理化性质优异,与同类型的非离子型单体X射线造影剂相比,在同一浓度下,具有最低的渗透压及较低的粘滞度;更因其理化性质稳定,无需添加螯合剂。据药融云统计,2022年前三季度碘美普尔注射液的院内销售额已超2021年总额,突破4亿元,同比增长66%。

截图来源:药融云全国医院销售数据库
此前国内仅有原研获批销售碘美普尔,并且由上海博莱科信谊药业完成原研地产化。今年2月,上海司太立制药仿制药申报上市,顺利斩获碘美普尔注射液国内首仿药,率先进入该品种仿制药市场。除了本次报产的成都倍特药业,还有重庆圣华曦药业已递交了该X射线造影剂的上市申请,尚在审评审批中。
加上此次报产的碘美普尔,倍特药业现共有9款造影剂递交了仿制药申报上市申请,1款已发件,为碘普罗胺注射液。据药融云数据库显示,倍特药业于去年9月斩获了碘普罗胺注射液的国内首仿药(规格:100ml:76.89g),今年2月又获批新规格(100ml:62.34g)。这是由拜耳研发的一款新型、非离子型、低渗性造影剂,2021年原研的院内销售额超12亿元,是造影剂领域的重磅产品。该品种的获批象征着倍特药业在造影剂领域前进的一大步。
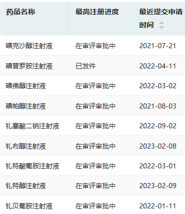
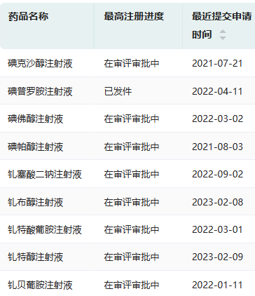
倍特药业仿制药申报上市的造影剂(微信搜索"药融云小程序"进行相关更多数据查询)

截图来源:药融云中国药品审评数据库
另外,倍特药业还有8款造影剂尚在审评审批中。其中,碘美普尔注射液、钆特醇注射液、钆特酸葡胺注射液等有望拿下国产第2家,钆布醇注射液、钆塞酸二钠注射液、钆贝葡胺注射液有望拿下国产第3家。
参考来源:
[1] CDE官网
[2] 药融云数据库
想要解锁更多药品信息吗?查询药融云数据库(vip.pharnexcloud.com/?zmt-mhwz)掌握药品各国上市情况、药品批文信息、销售情况与各维度分析、市场竞争格局、一致性评价情况、药企申报审批信息、最新动态与前景等,以及帮助企业抉择可否投入时提供数据参考!注册立享15天免费试用!

<END>








川公网安备51019002008863号
本网站未发布麻醉药品、精神药品、医疗用毒性药品、放射性药品、戒毒药品和医疗机构制剂的产品信息
收藏
登录后参与评论
暂无评论